151901 (733152), страница 2
Текст из файла (страница 2)
Успешный опыт внедрения схемы ТСС на небольшом котле ТЭС Cassano способствовал переходу к реконструкции более мощных газомазутных энергоблоков: в 1995 г. котла № 3 ТЭС Monfalcone, в следующем году — котла №4 на ТЭС Cassella, а в 1997 г. — котла № 3 на этой же ТЭС. Все три энергоблока имели номинальную мощность по 320 МВт, их котлы были оборудованы вихревыми горелками, расположенными в два яруса по высоте на фронтовой стене (в каждом ярусе— по три горелки). Окончательный вариант реконструкции котлов заключался в установке на фронтовой стене шести горелок для ввода дополнительного топлива и десяти сопл третичного воздуха, размещенных на боковых экранах (по пять с каждой стороны).
Результаты испытаний, проведенных при сжигании мазута на всех котлах после внедрения схемы ТСС, показали, что при коэффициенте избытка воздуха в восстановительной зоне, равном 0,7, обеспечивается нормальный топочный режим с умеренным содержанием твердых частиц за котлом (менее 25 мг/м3) и допустимой концентрацией оксида углерода (СО < 100 мг/м3). При этом концентрация NOx в дымовых газах не превышает 150 мг/м3 (при 02 = 6 %), что ниже допустимой.
На следующем этапе схема трехступенчатого сжигания была внедрена на энергоблоках № 5 и 6 ТЭС Tavazzano. Котлы этой ТЭС имеют такую же конструкцию, как и котел № 3 ТЭС Casella, но в отличие от последнего могут работать и на мазуте, и на природном газе. Поэтому при внедрении схемы ТСС пришлось изменить конструкцию дополнительных горелок. Опыты, проведенные при сжигании природного газа в основных и дополнительных горелках, показали, что при aІІ = 0,8...0,85 концентрация NOx в дымовых газах составляет 125... 150 мг/м3 при 02 = 6 %.
Общий итог проведенных природоохранных мероприятий на ТЭС Tavazzano можно считать успешным: до реконструкции концентрация NOx в дымовых газах составляла более 540 мг/м (6 % O2), после использования малотоксичных горелок типа TEA № 2 выбросы оксидов азота при сжигании природного газа были снижены на 60 %, а внедрение метода ТСС уменьшило исходную концентрацию NOx на 77 % . В настоящее время продолжаются работы по усовершенствованию ввода третичного воздуха, что позволит, по мнению авторов [2], еще больше снизить выбросы NOx без увеличения содержания СО в дымовых газах.
К заметным достижениям специалистов фирмы Ansaldo Energia следует отнести внедрение метода ТСС на котле энергоблока № 8 мощностью 160 МВт ТЭС Keratsini, расположенной в г. Афины (Греция). По решению местных властей необходимо было обеспечить достаточно жесткие нормы по допустимым выбросам оксидов азота: примерно 135 мг/м3 (6 % 02) при сжигании газа и 210 мг/м3 при сжигании мазута.
Реконструкция котла была вызвана необходимостью обеспечения 100 %-ной нагрузки котла на природном газе (ранее основным топливом на ТЭС был мазут), а также снижения концентрации NOx до указанных выше предельных значений без увеличения механического недожога.
До реконструкции в топочной камере было установлено 20 вихревых горелок. Новая система сжигания включала в себя восемь вихревых малотоксичных горелок типа YEA, расположенных в два яруса по высоте на фронтовой стене топки. Выше этих горелок (на задней стене) были установлены шесть газомазутных горелок-инжекторов для создания восстановительной зоны. Еще выше (на боковых стенах топки) размещались поворотные сопла третичного воздуха (по три на каждом боковом экране). В объем реконструкции входили также новые воздушные короба, дополнительные приборы, вспомогательные механизмы и др.
Испытания котла после проведения указанных мероприятий показали, что при сжигании природного газа (на другом виде топлива работа котла запрещена местными властями) внедренная схема обеспечивает стабильную работу котла с концентрацией NOx, не превышающей допустимый уровень. При номинальной нагрузке блока (160 МВт) подача 15... 17 % природного газа в дополнительные горелки-инжекторы приводит к снижению коэффициента избытка воздуха в восстановительной зоне аІІ до 0,82...0,85. При этом содержание СО в дымовых газах сохраняется на уровне, не превышающем 100 мг/м3, а концентрация NOx составляет 115...130 мг/м3 (6%02).
На этом же котле были проведены опыты по оценке двухступенчатой схемы сжигания. В этих опытах все топливо поступало через основные горелки, а часть воздуха - через сопла третичного дутья. Оказалось, что при таком режиме, даже с учетом интенсивного перемешивания третичного воздуха с продуктами сгорания, концентрация NOx все же выше, чем при использовании схемы трехступенчатого сжигания: в диапазоне нагрузок от 130 до 160 МВт содержание N0x составляло 136... 188 мг/м3 (6 % 02) и только при нагрузках менее 130 МВт оно оказывалась меньше допустимого (135 мг/м при 02 = 6%).
Последним объектом, на котором была внедрена схема трехступенчатого сжигания в Италии, является энергоблок № 4 мощностью 320 МВт на ТЭС Vado Ligure. В отличие от описанных выше объектов этот энергоблок работает на угле и на нем еще в начале 90-х годов была выполнена реконструкция горелок для снижения выбросов оксидов азота. В заводском исполнении котел этого энергоблока был оборудован 30 горелками, размещенными в 15 ячейках. При работе энергоблока с номинальной нагрузкой (320 МВт) при пяти включенных мельницах концентрация оксидов азота составляла 1 200 мг/м3, а содержание горючих в уносе — 6 %.
Модернизация котла заключалась в следующем: в каждой ячейке все топливо стало поступать через нижнюю горелку (пылепроводы были заменены новыми), а через верхнюю горелку (после замены регистра) стал подаваться только воздух. В результате при той же нагрузке и при работе пяти мельниц была получена концентрация NOx = 876 мг/м3 (при избытке воздуха за котлом аІІ = 1,23), а содержание горючих в уносе возросло до 8 %. Повышение избытка воздуха как до, так и после реконструкции несколько снижало содержание горючих в уносе (до 5,5 % в исходном варианте и до 7,7 % после реконструкции), но концентрации оксидов азота при повышенных избытках воздуха (Ox = 1,31) были другими: 1 440 мг/м3 до и 970 после реконструкции.
Достигнутые результаты не отвечали требованиям по допустимым выбросам NOx в атмосферу. Учитывая это, руководство ENEL приняло решение о внедрении на этом энергоблоке схемы трехступенчатого сжигания. Причем для создания восстановительной зоны было решено использовать не природный газ, а основное топливо — уголь. Ранее такое техническое решение было реализовано только в США, но на котле с циклонными предтопками.
Разработка и внедрение схемы ТСС на ТЭС Vado Ligure осуществлялись на средства фонда ЕС (по программе Thermie) и девяти партнеров — участников проекта: ENEL и Ansaldo (Италия), Power Gen и Mutsui Ваbcock Energy (Великобритания), IVD (Дания), EdF (Франция), 1ST и EDP (Португалия), ISB (Ирландия).
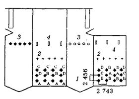
После новой реконструкции топочного устройства на котле были установлены 24 малотоксичные вихревые горелки, размещенные встречно на фронтовой и задней стенах топки. Горелки располагались в три яруса по высоте, по четыре горелки в каждом. Выше верхнего яруса горелок на фронтовой и задней стенах топки были установлены 10 горелок-инжекторов, в которые подавалась пыль более тонкого помола для создания восстановительной зоны. Еще выше, но на боковых стенах, были расположены сопла третичного воздуха ( попять на каждой стороне). На этой же отметке на фронтовой и задней стенах было размещено три сопла для регулирования температуры на выходе из топки (рис. 5).
Рис. 5. Котел № 4 на ТЭС Vado Ligure после внедрения схемы трехступенчатого сжигания
1 — малотоксичные горелки с указанием мельницы, oт которой подается угольная пыль (А, В, С и D),2-горелки - инжекторы для переизмельченной угольной пыли, 3 — сопла третичного воздуха; 4 - шлицы для регулирования температуры
Осенью 1998 г. после завершения реконструкции были начаты испытания котла. Их итоги свидетельствуют о том, что метод трехступенчатого сжигания с использованием угля для создания восстановительной зоны обеспечил значительное снижение выбросов NOx
Результаты проведенных в 90-х годах на крупных энергоблоках Италии природоохранных мероприятий показали, что схема трехступенчатого сжигания является надежной и эффективной при использовании природного газа, мазута и угля. Она обеспечивает снижение концентрации оксидов азота в дымовых газах ниже м185 мг/м3 на газомазутных котлах и ниже 330...350 мг/м3 на пылеугольных.
Список литературы
1. Lazzeri L., De Santis R. Further Experience for Environment improvement in fossil fuel Combustion // Proceedings of American Power Conf. Chicago, Illinois, 1997
2. Application of Reburning Technologies for NOx Emission Control on Oil and Pulverized Coal Tangentially Fired Boilers / R.C LaFlesh e. a. // International Power Conference. San Diego, CA, US October 6 10 1991
3. Towards an effective reduction of emissions in boilers via combustion control / A. Antifora, R. De Santis; L Lazzeri e a // Proceedings of Power-Gen Europe 98 — Milan, Italy, June 9 11, 1998
Размещено на Allbest.ru















