151596 (733073)
Текст из файла
Система учета тепловой энергии в мире и в РБ
Тепловая энергия – энергия неупорядоченного (хаотического) движения и взаимодействия молекул веществ.
Тепловая энергия, получаемая чаще всего при сжигании различных видов топлива, широко применяется для отопления, проведения многочисленных технологических процессов (нагревания, плавления, сушки, выпаривания и т.д.). [5, ст.9]
Потребление тепловой и электрической энергии происходит неравномерно в течение суток, недели, года. Это связано с особенностью работы промышленных, коммунально-бытовых и сельскохозяйственных потребителей, электротранспорта.
Характер изменения потребления энергии удобно представлять в виде графиков тепловой и электрической нагрузок. Различают хронологические (календарные) графики и графики продолжительности нагрузки (рис.1).
Первый, с характерными максимумами и минимумами, отражает последовательность изменения нагрузки во времени. Второй показывает продолжительность времени, в течение которого имеются те или иные нагрузки. Например, минимальная нагрузка имеет место в течение всех 24 ч суток. Кроме суточных строят также недельные, месячные и годовые графики максимумов нагрузок.
Рисунок1. Суточные хронологический график (а) и график продолжительности (б) нагрузки
В зависимости от решаемых задач графики нагрузок могут характеризовать потребление энергии в энергетической системе в целом, отдельными потребителями в системе, отдельно на промышленном предприятии.
Изменение нагрузок может носить статический и динамический характер.
Статические нагрузки являются повторяющимися при неизменных составах потребителей и режимах потребления энергии.
Динамические нагрузки определяются изменением состава потребителей и режима потребляемой ими энергии.
Энергоустановки должны бесперебойно обеспечивать потребителей необходимым количеством энергии в соответствии с графиками нагрузки. Избыток электрической энергии можно передавать в сеть, в то время как теплоты должно производиться столько, сколько требуется потребителю. Иначе будут иметь место ее непроизводительные потери.
Наличие графиков нагрузки позволяет планировать оптимальную работу энергоустановок, которые имеют максимальный КПД на номинальном режиме. Это такой режим, который обеспечивает максимальную выработку энергии при минимальном потреблении первичной энергии в виде топлива.
Для того чтобы работа энергоустановок была эффективной, их разделяют по продолжительности работы на базовые, пиковые и полупиковые.
Базовые энергоустановки работают 6000-7000 ч в году, т. е. практически постоянно. Они обеспечивают при работе на номинальном режиме покрытие части графика нагрузки с минимальным потреблением энергии Pmin.
Пиковые энергоустановки работают периодически до 2000 ч в год и запускаются для покрытия нагрузки в зоне между максимальной Рmaх и средней Рср нагрузками.
Полупиковые энергоустановки покрывают часть графика в области между Рср и Pmin.
Комплексное применение базовых и пиковых энергоустановок, в том числе и в блочном исполнении, позволяет наиболее эффективно использовать первичную энергию топлива, так как они работают в оптимальном режиме покрытия нагрузок с максимальным КПД. [1, ст.48]
Расчетный анализ содержания тепловой энергии в приходной и расходной частях энергетического баланса может быть выполнен на основе следующих соотношений:
• содержание химической энергии, теплота фазовых превращений, Ткал,
Qп = Мr*10-6,
где М - расход материального потока за рассматриваемый промежуток времени (час, год), кг или м3; г - удельная химическая энергия, энергия фазовых превращений, ккал/кг или ккал/м3;
• теплосодержание материальных потоков, Гкал,
QM = Mc Т*10-6,
где с - массовая или объемная удельная теплоемкость материального потокаМ, ккалДкгград)иликкал/(м3·град); Т - температура потока, °С;
• расход теплоты на отопление, Гкал,
QOT = qoV(TBH-Toc)t*10-6,
где q0 - объемная отопительная характеристика объекта, ккал/(м2·ч·трад); V- внешний объем объекта, м3; Твн, Toc - температуры внутри и вне объекта, °С; t - рассматриваемый промежуток времени, ч;
• расход тепла на вентиляцию, Гкал,
Qb = qBV(TBH-Toc)t*10-6,
где qB = mсb (Vb/V); т - кратность воздухообмена, 1/ч; св -объемная удельная теплоемкость воздуха, ккал/(м3·град); Vb - вентилируемый объем, м3;
• потери теплоты с дымовыми газам, Гкал,
Одг =Vдгсдг Тдг *10-6 ,
где Vдг - выход дымовых газов на 1м3 газообразного или на 1 кг твердого топлива, м3 /м3 или м3 /кг; сдг - объемная удельная теплоемкость дымовых газов, ккал/(м3 ·град); Тдг - температура дымовых газов;
• тепловой эквивалент электрической энергии, Гкал,
Q = W*0,86*10-6 ,
где W - подведенная (потребленная) за рассматриваемый промежуток времени (час, год) электрическая энергия, кВт. [1, ст.125]
На цели отопления и горячего водоснабжения в Республике Беларусь расходуется 40% от общего потребления топлива. Потенциал энергосбережения, по оценкам отечественных и зарубежных экспертов, в системах теплоснабжения республики составляет около 50%. Следовательно, за счет энергосберегающих мероприятий можно снизить потребление топлива на нужды теплоснабжения на 20% от общего потребления республикой. Именно поэтому одной из приоритетных задач действующей Государственной программы «Энергосбережение» для увеличения эффективности использования теплоты в системах отопления зданий необходимо внедрение системы регулирования отпуска тепла. Необходимость оперативного определения расхода теплоты и теплопотерь с особой остротой выявилась в последнее время в связи с требованием экономии топливно-энергетических ресурсов.
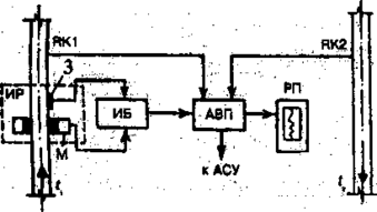
Измерительная система теплосчетчика «Квант» (рис.2) состоит из электромагнитного (индукционного) расходометра (ИР), платиновых терморезисторов - датчиков температуры прямого и обратного потоков и автоматического вычислительного прибора (АВП).
Рисунок 2. Измерительная система теплосчетчика "Квант":
ИР — электромагнитный расходомер, АВП — автоматический вычислительный прибор, М — магнит, Э — электроды, ИБ — измерительный блок, RK1, RK2 — тёрморезисторы [1, ст.125]
Подающий трубопровод расположен между полюсами электромагнита М, под действием которого ионы жидкости отдают заряды измерительным электродам Э, создавая ток, пропорциональный расходу V. Измерительный блок (ИБ) трансформирует сигнал о расходе и передает на АВП, куда также поступают сигналы от терморезисторов RK 1 и RK 2. АВП производит счетные операции с выходом на регистрирующий прибор (РП) и АСУ.
На рисунке 3 показан комплект приборов теплосчетчика НПТО «Термо». В состав комплекта входят: электромагнитный расходомер POCT-L; измерительный преобразователь ЭП-8006; термометры сопротивления КТСПР для измерения разности температур.
Теплосчетчик отличается высокой точностью измерения, отсутствием требований к прямолинейности участков трубопровода, отсутствием подвижных элементов в потоке. Комплект имеет цифровой шестиразрядный счетчик количества теплоты в гигаджоулях, цифровую индикацию расхода теплоносителя, аналоговые выходные сигналы постоянного тока, частотный выходной сигнал, температурный датчик для передачи данных в систему учета энергии ИЙСЭ.
На рисунке 4 показан комплект приборов теплосчетчиков ТЭМ-05М. В состав комплекта входят: измерительно-вычислительный блок (ИВБ); первичный преобразователь расхода электромагнитного типа (ППР); термопреобразо ватель сопротивления платиновый (ТСП); расходомер-счетчик РМС-05.05.
Рисунок.3. Комплект приборов теплосчетчика НПТО "Термо":
РОСТ-1 - электромагнитный расходомер, ЭП-8006 – измерительный преобразователь, КТСПР - термометры сопротивления КТСПР для измерения разности температур
Рисунок 4: Схема установки ТЭМ-05МЗ; [1, ст.127]
Теплосчетчики ТЭМ—05М предназначены для измерения, регистрации и коммерческого учета тепловых параметров в системах горячего водоснабжения, а также в закрытых и открытых системах теплоснабжения. Они применяются для работы на жилых, общественных и производственных зданиях самого широкого спектра: от офисов и коттеджей до промышленных предприятий, а также могут использоваться для автоматизированных систем учета, контроля и регулирования тепловой энергии.
Теплосчетчики имеют отличительные особенности и преимущества: отсутствие гидравлического сопротивления жидкости; возможность выбора типовой схемы установки; возможность выбора диапазона измерения расхода по месту монтажа самим потребителем; возможность объединения приборов в системы автоматизированного контроля и управления благодаря наличию у теплосчетчиков архива статистических данных о параметрах систем теплоснабжения и горячего водоснабжения, стандартных последовательных интерфейсов RS 232С, RS 485, адаптеров переноса данных (АПД-01П, АПД-01С) и сервисного программного обеспечения.
Теплосчетчики ТЭМ—05М осуществляют автоматическое измерение: расхода теплоносителя в трубопроводах систем теплоснабжения и горячего водоснабжения; температуры теплоносителя в трубопроводах систем теплоснабжения или горячего водоснабжения и в трубопроводах холодного водоснабжения; избыточного давления теплоносителя в трубопроводах (при наличии датчиков давления с токовым выходом); времени наработки при поданном напряжении питания; времени работы в зоне ошибок и вычисление: разности температуры теплоносителя в прямом и обратном трубопроводах (трубопроводе холодного водоснабжения); потребляемой тепловой мощности; объема теплоносителя, прошедшего по трубопроводам; потребленное количество теплоты.
Система индивидуального расчета за тепло широко распространена в ряде европейских стран и оценивает расход теплоты индивидуальными потребителями, например радиаторами центрального отопления. Она состоит из так называемого распределителя тепла и радиаторного термостата. Распределитель тепла устанавливается на каждый радиатор в квартире и фиксирует количество тепла, отданного радиатором. Можно использовать испарительный распределитель тепла «Экземпер» или электронный — «Допримо».
В испарительном распределителе тепла тепло радиатора действует на специальную жидкость в измерительной ампуле, которая испаряется в зависимости от температуры и продолжительности действия тепла от радиатора. Чем горячее радиатор и чем дольше его тепло действует на ампулу, тем больше испаряется жидкости. Количество испарившейся жидкости показывает, сколько тепла использует данный радиатор.
Чтобы компенсировать дополнительное уменьшение жидкости, которое возникает, например, летом, когда на радиатор светит солнце, ампулы содержат определенный переизбыток жидкости, представляющий собой излишек для так холодного испарения.
Электронный распределитель тепла с помощью датчика регистрирует температуру радиатора аккуратнее, быстрее и точнее, чем жидкостной.
Микросхема внутри распределителя моментально подсчитывает, принимая во внимание малейшие температурные различия, величины, образовавшиеся из разницы между температурой датчика и закодированной температурой помещения 20 °С (системах одним датчиком). Она переводит данные в цифровые величины для считывания.
Распределитель с двумя датчиками, помимо температуры радиатора, измеряет также температуру окружающей среды и из этих данных рассчитывает количество отданного радиатором тепла.
Показания распределителя считываются с жидкокристаллического дисплея прибора.
Радиаторный термостат позволяет регулировать количество тепла, отдаваемого радиатором, но, в отличие от обычного вентиля, он автоматически поддерживает желаемую температуру, создавая комфортную тепловую обстановку и экономя тепло.
Термостат состоит из двух основных частей — клапана и термостатической головки. Клапан увеличивает или уменьшает подачу горячей воды в радиатор под воздействием поршня, положение которого регулируется термостатической головкой. Внутри нее расположен так называемый сильфон, заполненный специальным газом, изменяющим свой объем в зависимости от температуры воздуха около термостатической головки.
Характеристики
Тип файла документ
Документы такого типа открываются такими программами, как Microsoft Office Word на компьютерах Windows, Apple Pages на компьютерах Mac, Open Office - бесплатная альтернатива на различных платформах, в том числе Linux. Наиболее простым и современным решением будут Google документы, так как открываются онлайн без скачивания прямо в браузере на любой платформе. Существуют российские качественные аналоги, например от Яндекса.
Будьте внимательны на мобильных устройствах, так как там используются упрощённый функционал даже в официальном приложении от Microsoft, поэтому для просмотра скачивайте PDF-версию. А если нужно редактировать файл, то используйте оригинальный файл.
Файлы такого типа обычно разбиты на страницы, а текст может быть форматированным (жирный, курсив, выбор шрифта, таблицы и т.п.), а также в него можно добавлять изображения. Формат идеально подходит для рефератов, докладов и РПЗ курсовых проектов, которые необходимо распечатать. Кстати перед печатью также сохраняйте файл в PDF, так как принтер может начудить со шрифтами.















