151029 (732886), страница 2
Текст из файла (страница 2)
Рисунок 1. - Принципиальные схемы подогрева обмоток электродвигателя при помощи:
а - конденсаторов С; 6 - однотиристорного устройства; в - двухтиристорного устройства.
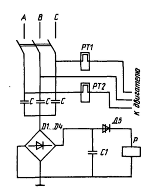
Обмотки могут быть подключены и к вторичной обмотке понижающего трансформатора, например сварочного. Ток в обмотке электродвигателя должен быть таким, чтобы температура электродвигателя превышала температуру окружающей среды на 5...10° С, что препятствует проникновению внутрь изоляции влаги и ее агрессивных примесей. При таком подогреве электродвигателя улучшается коэффициент мощности электроустановки фермы в целом. Необходимо отметить, что при несколько завышенной мощности (на 25...30%) электродвигателя и подключении батареи конденсаторов к клеммам он может не отключаться от сети в случае потери фазы и работать в режиме однофазного питания, сохраняя непрерывный технологический процесс (например, доение).
Кроме того, индивидуальные конденсаторные батареи, соединенные в звезду, можно использовать в качестве элемента реле защиты от потери фазы для двигателей, однофазный режим которых недопустим (рис.52). Емкость фаз индивидуальных батарей конденсаторов (ИБК), соединенных треугольником, для электродвигателей единой серии основного общепромышленного исполнения мощностью до 10 кВт определяют из
Рисунок 2. - Схема с использованием конденсаторов для защиты от потери фазы.
следующих выражений: С =1,3(1 + + 2Рн); С = 3,0 (1+Рн); С = 3,7(1 + + Рн), С = 3,5(3 + РН) при частоте вращения соответственно 3000; 1500; 1000; 750 об/мин.
При мощности электродвигателей выше 10 кВт С=10 + РН при частоте вращения 3000, 1500 и 1000 об/мин и С = 30 + 2Рн - при 750 об/мин (Рн измеряют в киловаттах, С - в микрофарадах).
Емкость фаз ИБК для электродвигателей исполнения А02СХ должна быть увеличена на 35% по сравнению с вычисленной по приведенным выражениям. При использовании ИБК в период нерабочих пауз необходимо соблюдать особую предосторожность, так как электродвигатель хотя и неподвижен, но находится под напряжением. Кроме того, необходимо периодически контролировать емкость ИБК, а также эффективность компенсации коэффициента мощности.
Периодичность противосыростных мероприятий зависит от места установки электрооборудования и его исполнения.
При применении тиристорных устройств по двум фазным проводам протекает несинусоидальный ток. Исследованиями установлено, что при токе нагрева от однополярного устройства, составляющем 0,1% номинального тока питающего трансформатора, в смежных электроприемниках начинают наблюдаться вибрации, дребезжание систем контакторов и пускателей. При больших токах нагрева наблюдаются отказы контакторов, пускателей и реле, а также ослабление крепления и нарушение центровки электродвигателей.
В двухтиристорных устройствах импульсы тока двухполярны и в составляющих тока нагрева отсутствуют четные гармоники и постоянная составляющая. Поэтому даже при токе нагрева, соизмеримом с номинальным током питающего трансформатора, в режимах работы смежных электроприемников не наблюдается отрицательных явлений. Нормирование качества электроэнергии у приемников зависит от коэффициента несинусоидальности.
Одно из главных условий долговечной работы электрических машин – выбор аппаратуры управления электродвигателями и их защиты в соответствии с Правилами устройства электроустановок.
Список использованных источников
1. Пястолов А.А. Ерошенко Г.П. Эксплуатация электрооборудования – М.: Агропромэнерго, 1990 – 287 с.
2. Ерошенко Г.П. Пястолов А.А. Курсовое и дипломное проектирование по эксплуатации электрооборудования – М.: Агропромиздат, 1988 – 160 с.
















