151018 (732883), страница 3
Текст из файла (страница 3)
Платиновые термометры сопротивления П. Г. Стрелкова применяют в качестве эталонных, образцовых 1-го и 2-го разрядов и лабораторных (повышенной точности).
Технические термометры сопротивления, предназначенные для измерения температур в промышленных условиях, выпускаются различных типов. Конструкцию защитной гильзы и монтаж в ней чувствительного элемента термометра выполняют в зависимости от условий его применения, свойства и параметров среды, температура которой должна измеряться термометром.
Рис. 5.2. Чувствительные элементы платиновых термометров сопротивления на керамическом каркасе с двумя (а) и четырьмя каналами (б).
Чувствительный элемент на керамическом каркасе (рис. 5.2) состоит из двух или четырех соединенных последовательно платиновых спиралей 1. К двум верхним концам этих спиралей припаяны короткие платиновые выводы 2 или выводы из сплава иридия с родием (60% родия), к которым привариваются необходимой длины выводные проводники и на них надеваются бусы из керамики. Платиновые спирали помещены в каналы керамического каркаса 4. Крепление платиновых спиралей и выводов в каркасе осуществляется глазурью (или термоцементом) 3, изготовляемой на основе окисей алюминия и кремния. Коэффициент линейного расширения глазури близок к коэффициентам линейного расширения материала выводов и каркаса. Электрическое сопротивление глазури при 500–700°С составляет около 0,5–1 МОм. Подгонка номинального сопротивления ЧЭ R0 при 0°C осуществляется постепенным уменьшением длины нижних концов двух платиновых спиралей с последующей пайкой в точке 5 (рис. 5.2, а).
Пространство между платиновыми спиралями и стенками каналов каркаса заполнено порошком окиси алюминия, который исключает возможность закорачивания витков спиралей и улучшает тепловой контакт между ними и каркасом.
В четырехканальном каркасе могут быть смонтированы два независимых чувствительных элемента.
Рассмотренная конструкция платиновых термометров сопротивления на керамическом каркасе имеет ряд преимуществ по сравнению с другими типами. В этой конструкции достигнута достаточно хорошая герметичность при незначительном в платине механическом напряжении. ЧЭ имеет небольшие габариты и обладает высокой механической прочностью.
Для повышения верхнего предела измерения температуры до 1000°С и выше разработаны возможные варианты конструкций технических малоомных термометров сопротивления с ЧЭ из платиновой проволоки диаметром от 0,2 до 0,5 мм.
Для измерения низких температур в криогенной технике выпускаются платиновые термометры сопротивления повышенной точности, например типа ТСП-4054 на четырехканальном керамическом каркасе. В процессе изготовления ЧЭ из каналов керамического каркаса откачивается воздух, а затем они наполняются гелием. Изготовленный ЧЭ вставляют в защитную металлическую гильзу, герметизация которой со стороны выводов осуществлена с помощью втулки из вакуумно-плотной керамики. Из этой гильзы также откачивается воздух, и она заполняется гелием под небольшим давлением. При таком выполнении термометра обеспечивается хорошая теплоотдача от среды, температура которой измеряется. Термометр ТСП-4054 обладает малой инерционностью (показатель тепловой инерции ε∞ ≈ 2 с). При измерении температуры от 20°С до точки кипения азота или воздуха погрешность термометра не превышает ±0,01°С.
Чувствительный элемент платиновых термометров сопротивления типа ТСП-236 и ТСП-246, предназначенных для измерения температуры подшипников в интервале от 0 до 100°С (гр21), выполняют в виде спирали из платиновой проволоки диаметром 0,05 мм (ТСП-236) и 0,07 мм (ТСП-246). Платиновая спираль, изолированная с двух сторон фторопластовыми прокладками и приклееная к каркасу, помещена на дно медной гильзы. Медная гильза вставлена в защитную арматуру из стали 20, на конце которой укреплена малогабаритная головка. Дно медной гильзы припаяно к краям нижней части стальной арматуры. Медные выводы изолированы между собой и от стенки защитной арматуры фарфоровыми изоляторами. Свободные концы выводов подведены к зажимам контактной колодки, находящейся в корпусе головки. На объекте термометр сопротивления крепится с помощью накидной гайки и резиновых прокладок, обеспечивающих плотное прижатие дна медной гильзы к поверхности подшипника.
Показатель тепловой инерции ε∞ термометров сопротивления в спокойном воздухе не превышает 7 с для ТСП-236 и 14 с – для ТСП-246. Термометры имеют класс точности 2. Монтажные длины термометров: у ТСП-236 от 20 до 200 мм; у ТСП-246 от 150 до 375 мм.
Чувствительный элемент медного термометра сопротивления типа ТСМ, предназначенного для измерения температуры в пределах от –50 до 180°С, показан на рис. 5.3. Он выполнен из изолированной медной проволоки диаметром 0,1 мм многослойной безындукционной намоткой на цилиндрическом каркасе из пластмассы или металла, герметизированной слоем лака. К концам обмотки припаяны выводы из медной проволоки. Собранный чувствительный элемент (длина равна 40 мм, диаметр 5 – 6 мм) вставляют в металлический чехол.
Рис. 5.3. Чувствительный элемент медного термометра сопротивления на каркасе из пластмассы.
На рис. 5.4 показан бескаркасный ЧЭ медного термометра сопротивления типа ТСМ, который выполнен из изолированной медной проволоки диаметром 0,08 мм безындукционной бескаркасной намоткой, покрытой фторопластовой пленкой. К концам обмотки припаяны выводы из медной проволоки. С целью обеспечения вибростойкости чувствительный элемент вставляют в тонкостенный металлический защитный чехол, который засыпается керамическим порошком и герметизируется.
Рис. 5.4. Чувствительный элемент медного термометра сопротивления бескаркасный.
6. Измерительные приборы для работы с термометрами сопротивления
6.1. Автоматические компенсационные приборы для работы с малоомными термометрами сопротивления
При измерении малоомными термометрами с чувствительным элементом из платиновой проволоки диаметром 0,2 – 0,5 мм температур до 1000°С и выше приходится измерять сопротивления, соизмеримые с сопротивлением проводов, соединяющих термометр с прибором. Аналогичный случай имеет место и при измерении платиновым термометром низких температур в пределах от –200 до –260°С. В этом случае при температурах, равных –240, –250 и –260°С, платиновый термометр с номинальным значением сопротивления при 0°С R0 = 100 Ом имеет сопротивление соответственно 2,750; 1,093 и 0,510 Ом.
Автоматические приборы, необходимые для измерения температуры ниже –200°С и выше +650°С с помощью термометров сопротивления, изготавливаются только по специальным заказам.
Рассмотрим одну из схем автоматического компенсационного прибора, для измерения малых значений сопротивления (около 0,1 – 0,01 Ом). Измерительная схема этого прибора имеет высокую чувствительность, что позволяет обеспечить измерение низких температур в промышленных условиях с достаточной точностью, а также измерять температуру с использованием малоомных термометров сопротивления. Применение четырехпроводной схемы присоединения термометра позволило полностью исключить влияние на результаты измерения сопротивления проводов, соединяющих термометр с прибором.
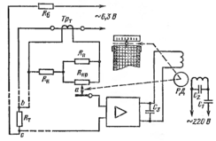
Принципиальная схема автоматического компенсационного прибора переменного тока для измерения и записи низких температур (ниже 0°С) приведена на рис. 6.1. Здесь Rт – термометр сопротивления; Rн – резистор для подгонки начального значения шкалы; Rп.р – приведенное сопротивление реохорда (Rп.р = Rп.р Rп (Rп.р + Rп)-¹; Rб – балластный резистор для ограничения тока в цепи термометра; Tpт – трансформатор тока.
Питание измерительной схемы осуществляется напряжением переменного тока 6,3 В, частотой 50 Гц от вторичной обмотки силового трансформатора усилителя. Термометр сопротивления Rт и балластный резистор включены в схему последовательно с первичной обмоткой трансформатора тока Tpт. Нагрузкой вторичной обмотки трансформатора тока являются резистор Rн и приведенное сопротивление реохорда Rп.р. Рассматриваемая схема прибора позволяет измерять активное сопротивление термометра путем автоматической компенсации напряжения, возникающего на зажимах термометра bc, противоположным ему по фазе напряжением, снимаемым с резистора Rн, и сопротивления реохорда левее движка a.
Рис. 6.1. Принципиальная схема автоматического компенсационного прибора
Когда измеряемая температура, а следовательно, и сопротивление термометра соответствуют начальному значению шкалы прибора, движок реохорда a находится на схеме в крайнем правом положении. В этом случае напряжение на термометре компенсируется напряжением, снимаемым с резистора Rн и реохорда Rп.р:
I1Rт.н = I2(Rн+Rп.р) (6.1.1)
где I1 – ток, протекающий через термометр сопротивления и первичную обмотку трансформатора тока; I2 – вторичный ток трансформатора; Rт.н – сопротивление термометра, соответствующее начальному значению шкалы прибора.
При нарушении равновесия напряжений вследствие уменьшения сопротивления термометра, а следовательно, и измеряемой температуры на вход усилителя подается напряжение небаланса. Это напряжение усиливается усилителем до значения, достаточного для приведения в действие реверсивного двигателя РД. Выходной вал двигателя, кинематически связанный с движком реохорда и указателем, передвигает их и приводит измерительную схему в равновесие. В этом случае положению равновесия схемы соответствует уравнение
I1Rт = I2 (Rн + mRп.р), (6.1.2)
где m = R'п.р/Rп.р (здесь R'п.р – сопротивление участка реохорда левее движка a).
Решая уравнение, приведенное выше относительно Rт, получаем:
Rт = kI (Rн + mRп.р) (6.1.3)
где kI = I2/I1 – коэффициент трансформации трансформатора тока.
В последнее уравнение, связывающее измеряемое значение сопротивления термометра с сопротивлением реохорда Rп.р и резистора Rн, входят не значения токов, а их отношения или коэффициент kI, который в достаточно широких пределах изменения намагничивающего тока имеет постоянное значение. Это позволяет считать, что колебания напряжения питания или изменения сопротивлений токовых проводников термометра, вызывающие изменение тока I1, на результаты не влияют.
6.2. Общие сведения об автоматических уравновешенных мостах
Автоматические уравновешенные мосты широко применяются в различных отраслях промышленности для измерения и записи температуры в комплекте с термометрами сопротивления. Они могут быть использованы для измерения, записи и сигнализации или регулирования температуры. В этом случае автоматические уравновешенные мосты, так же как и автоматические потенциометры, снабжаются дополнительным устройством для сигнализации или регулирования температуры. Некоторые модификации уравновешенных мостов снабжаются реостатными преобразователями для дистанционной передачи показаний. Автоматические уравновешенные мосты находят также применение для измерения других величин, изменение значений которых может быть преобразовано в изменение активного электрического сопротивления.















