150904 (732844)
Текст из файла
МИНИСТЕРСТВО ОБРАЗОВАНИЯ И НАУКИ РОССИЙСКОЙ ФЕДЕРАЦИИ
Федеральное агентство по образованию
Государственное образовательное учреждение
Высшего профессионального образования
"Новосибирский государственный технический университет"
РЕФЕРАТ
на тему "Система регенерации на тепловой электростанции"
по дисциплине "Введение в направление"
Проверил: Выполнил:
проф. Щинников П.А.
студент Даниловский Е.М.
группаТЭ-62
Отметка о защите
Новосибирск, 2010
Оглавление
Введение
Термодинамические основы регенеративного подогрева питательной воды на ТЭС
Технические особенности системы регенерации
Заключение
Список литературы
Введение
Эффективность использования отборов пара теплофикационных турбин (отопительных, регенеративных) для нужд теплового потребления в значительной мере определяет экономичность работы теплоэлектроцентралей. Неслучайно в СССР в качестве основного способа экономии органического топлива в масштабах страны применялась теплофикация, - по выражению проф. Е.Я. Соколова, централизованное теплоснабжение на базе комбинированной выработки электрической и тепловой энергии. Также в советское время всегда уделялось значительное внимание развитию внутренней теплофикации - использованию отборов пара турбин для подогрева питательной воды и других технологических внутристанционных потоков теплоносителей.
В реферате рассмотрены термодинамические основы регенерации и показаны некоторые технические особенности таких систем. Показано, что многоступенчатый регенеративный подогрев долее выгоден по сравнению с одноступенчатым.
Термодинамические основы регенеративного подогрева питательной воды на ТЭС
Термодинамическую сущность регенеративного цикла можно уяснить при расмотрении изменения состояния пара в идеальной паросиловой установке. При этом предполагается, что подогреватели не имеют сопротивления перехода тепла через стенку.
Рис.1 Тs-диаграмма цикла Ренкина и регенеративного цикла.
Количество тепла, превращенного в механическую энергию, измеряется площадью замкнутой кривой цикла 3-5-6-1-2-3. Идеальный регенеративный цикл можно представить себе следующим образом. Допустим, что весь пар, поступивший в турбину, многократно отводиться из нее подогреватели питательной воды и возвращается в турбину. При прохождении через турбину пар расширяется адиабатически. При прохождении через подогреватели пар частично конденсируется, нагревая воду в подогревателе до температуры насыщения греющего пара. Такой цикл изображен в координатах Тs на рис.2
Рис.2 Тs-диаграмма предельного регенеративного цикла.
При бесконечно большом числе отводов пара процесс попеременного расширения пара в турбине и частичной конденсации в подогревателях изобразиться линией 1-10. Такой цикл называется предельным регенеративным циклом. Количество тепла, передаваемое питательной воде, изображается площадью 1-2-6-11-10-1, причем предполагается, что вода нагревается до температуры кипения в котле.
Тепло, превращенное в работу, изображается площадью 3-5-1-10-3 и будет меньше, чем в цикле Ренкина. Количество тепла, подведенное в цикле к рабочему веществу, изображается площадью 8-3-5-1-10-11-8. Эта площадь значительно меньше, чем цикл Ренкина, за счет тепла питательной воды. Коэффициент полезного действия предельного регенеративного цикла составляет:
И равняется термодинамическому КПД цикла Карно.
В действительном регенеративном цикле отводиться из промежуточной ступени турбины только некоторая часть пара, которая полностью конденсируется в подогревателях питательной воды. Изменение состояния этой части пара показано в координатах Тs на рис.1 и совпадает с процессом цикла Ренкина для чисто конденсационной установки, за исключением процесса конденсации, который протекает при более высоком давлении и соответственно более высокой температуре. Процесс конденсации отбираемого пара изображается прямой 10-11. Площадь замкнутой кривой 10-11-5-6-1-10 соответствует количеству тепла, превращенного в механическую энергию. [Тепловые электрические станции. Москва. 1956 г.]
Тепло отбираемого пара используется сперва в турбине, где он совершает работу, а затем передается воде, с которой возвращается в парогенератор. Таким образом, тепло отработавшего пара регенеративных отборов турбины не теряется в конденсаторе турбины с охлаждающей водой, а сохраняется на электростанции; передаваясь конденсату или питательной воде, это как бы восстанавливается, регенерируется.
Тепловая экономичность и энергетическая эффективность регенеративного подогрева воды определяется, следовательно, уменьшением потери тепла в конденсаторе турбины (по сравнению с простейшей конденсационной электростанцией без регенеративного подогрева воды) вследствие отбора части пара для указанного подогрева. Следовательно, КПД паротурбинной электростанции благодаря регенерации возрастает.
Существенным при этом является производство электрической энергии в результате работы пара регенеративных отборов в турбине. [Тепловые электрические станции. 1987 г.]
Технические особенности системы регенерации
Регенеративный подогрев основного конденсата и питательной воды является одним из важнейших методов повышения экономичности современных ТЭС. При этом под основным конденсатом понимается поток конденсата рабочего пара от конденсатора до деаэратора, а под питательной водой - поток от деаэратора до котла (парогенератора).
Регенеративный подогрев осуществляется паром, отработавшим в турбине. Греющий пар, совершив работу в турбине, затем конденсируется в подогревателях. Выделенная этим паром теплота фазового перехода возвращается в котел. В зависимости от начальных параметров пара и количества отборов пара на регенерацию относительное повышение КПД турбоустановки за счет регенерации составляет от 7 до 15%, что сопоставимо с эффектом, получаемым от повышения начальных параметров пара перед турбиной.
Регенерацию можно рассматривать как процесс комбинированной выработки энергии с внутренним потреблением теплоты пара, отбираемого из турбины. Регенеративный подогрев воды снижает потерю теплоты с отработавшим паром в конденсаторе турбины. [Конспекты ТЭС]
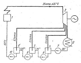
На рисунке 3 изображена схема турбиной установки с 3мя регенеративными подогревателями. Пар, с начальными параметрами Р0=35 атм. и Т0=435° С поступает в турбину (2), где совершает работу, вращая лопатки турбины. Отработавший пар конденсируется в конденсаторе (3). В первой ступени турбины происходит отбор пара с давлением 6,3 атм. для подачи его в подогреватель питательной воды (6). В подогревателе (6) пар смешивается с питательной водой, за счет чего и происходит повышение температуры и давления питательной воды подаваемой на вход в котел (1) питательным насосом (10). Аналогичный процесс происходит и в подогревателях (5) и (4).
Рис.3 Схема турбинной установки с 3х ступенчатым регенеративным подогревом.
Где: 1 - котел; 2 - турбина; 3 - конденсатор; 4,5 и 6 - смешивающие подогреватели; 7 - конденсатный насос; 8 и 9 - перекачивающие насосы; 10 - питательный насос.
Заключение
Системы регенерации играют большую роль в процессе производства энергии, за счет снижения потерь теплоты с отработавшим паром в конденсаторе турбины. На современных ТЭС в основном применяются поверхностные (кожухотрубные) подогреватели (ПНД, ПВД, СП). Конкретные решения по количеству аппаратов в системе регенеративного подогрева питательной воды и месту их в тепловой схеме ПТУ принимаются на основе технико-экономических расчетов. В ходе проведенной работы установлено, что схема с большим количеством подогревателей эффективнее в связи с увеличением КПД турбоустановки.
Список литературы
-
Тепловые электрические станции. В.Н. Юренев. Москва. 1956 г
-
Тепловые электрические станции. В.Я. Рыжкин. Москва. 1987 г
-
Конспекты ТЭС
-
Электронные ресурсы: http://el. ustu.ru/138240/
Характеристики
Тип файла документ
Документы такого типа открываются такими программами, как Microsoft Office Word на компьютерах Windows, Apple Pages на компьютерах Mac, Open Office - бесплатная альтернатива на различных платформах, в том числе Linux. Наиболее простым и современным решением будут Google документы, так как открываются онлайн без скачивания прямо в браузере на любой платформе. Существуют российские качественные аналоги, например от Яндекса.
Будьте внимательны на мобильных устройствах, так как там используются упрощённый функционал даже в официальном приложении от Microsoft, поэтому для просмотра скачивайте PDF-версию. А если нужно редактировать файл, то используйте оригинальный файл.
Файлы такого типа обычно разбиты на страницы, а текст может быть форматированным (жирный, курсив, выбор шрифта, таблицы и т.п.), а также в него можно добавлять изображения. Формат идеально подходит для рефератов, докладов и РПЗ курсовых проектов, которые необходимо распечатать. Кстати перед печатью также сохраняйте файл в PDF, так как принтер может начудить со шрифтами.













