150821 (732821), страница 2
Текст из файла (страница 2)
Рис.2. Масса нерастворимого осадка, образовавшегося при хранении реактивных топлив в течение 1500 часов на стеклянной поверхности в зависимости от температуры
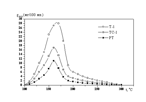
Рис.3. Склонность топлив к образованию нерастворимых осадков при повышенных температурах для статических условий.
С повышением температуры увеличивается количество образующегося за определенное время осадка. Как видно из рисунка 3, при значениях температуры 150 - 170 оС (в зависимости от марки топлива) оно достигает максимума, а с дальнейшим повышением температуры снижается. Объяснение этому можно найти в уменьшении доступа кислорода к топливу по мере роста температуры.
Изучены кинетические закономерности окисления реактивных топлив в контакте с конструкционными материалами топливных систем летательных аппаратов. Обнаружено, что среди исследованных металлов имеются как катализаторы, так и ингибиторы окисления.
Для изучения закономерностей образования коксоотложений при течении различных топлив и горючих в условиях нагрева была смонтирована экспериментальная установка (Рис.4).
В качестве рабочего участка использовались сменные трубки одной партии поставки из стали 12Х18Н9Т, сплава ХН60ВТ, меди М1, в том числе с внутренними покрытиями, длиной от 0,3 до 1,0 м и внутренним диаметром от 1 до 4 мм. Установка имеет разомкнутый топливный контур с горизонтально расположенным рабочим участком, нагреваемым переменным током. Предварительно очищенное от механических примесей топливо с различным содержанием кислорода, смол и непредельных соединений из расходного бака 5 через сетчатые фильтры 4 с ячейками 16 и 5 мкм подавалось насосом 2 марки 661Л в электронагреватель 15, где производился предварительный подогрев топлива. После этого топливо поступало в рабочий участок 17, где происходил его нагрев до заданной температуры.
Рис.4. Экспериментальная установка для изучения закономерностей образования отложений при течении углеводородных топлив в условиях нагрева
1 - бак закачки топлива; 2 - насос; 3 - предохранительный клапан; 4 - фильтр;
5 - расходный бак; 6 - вентиль; 7 - трехходовой кран;8 - штихпробер;
9 - уравнительный бак; 10 - теплообменник; 11 - кран с электроприводом;
12 - датчик расхода; 13 - электроконтактный манометр; 14 - термопара;
15 - электронагреватель; 16 - манометр; 17 - реактор; 18 - холодильник;
19 - регулировочный кран; 20 - топливо-газовый отделитель;
21 - газовый счетчик ; 22 - кран управления; 23 - топливный бак;
Ввиду того, что веществами, обусловливающими образование кокса при нагреве различных топлив, являются растворенные в них кислород, смолы, ненасыщенные соединения и др. химически активные примеси, а также вещества, находящиеся в топливе в виде коллоидных и микрогетерогенных частиц, были проведены исследования закономерностей образования коксоотложений при течении топлив в условиях варьирования концентраций этих примесей. Концентрация растворенного в топливе кислорода (в топливном баке) варьировалась от 5,0 % (равновесная концентрация при нормальных условиях) до 0,2 % (объемн). Уменьшение концентрации растворенного кислорода -обескислороживание - осуществлялось посредством барботажа топлива в баке инертным газом (N2, Ar, He) до требуемого содержания остаточного кислорода при нормальных условиях. Содержание остаточного кислорода варьировалось посредством выбора инертного газа и времени барботирования (Рис. 5) с целью изучения влияния концентрации растворенного кислорода на скорость образования кокса на стенках канала. Как видно из этого рисунка, наилучший результат по вытеснению кислорода как для топлива РТ, так и других реактивных топлив РТ, ТС-1 обнаружен при барботировании с применением газа гелия.
Рис.5. Зависимость содержания остаточного кислорода в топливе РТ от времени барботажа инертного газа. 1- азот; 2-гелий.
Объем топлива ‑15 л. Расход газа - 9.10-4 кг/c.
Закономерности образования кокса в трубках определяли при постоянных режимных параметрах. Давление и температуру топлива на входе в рабочий участок изменяли от 0,5 до 8,0 МПа (Р/Ркр=0,2‑3,6) и от 10 до 150 оС (Т/Ткр=0,5‑0,75), соответственно через заданные промежутки времени. Режимы течения топлива в трубках ‑ламинарный, переходный и турбулентный. После испытания трубки разрезали на отдельные отрезки длиной по 50 мм, отложения фотографировали со 100- и 2000-кратным увеличением с использованием сканирующего микроскопа DSМ - 960 Opton. Средние величины шероховатости и пористости отложений определялись путем статистической обработки результатов микроисследований.
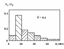
Эксперименты показали, что коксоотложения представляют собой мелкопористую структуру, сформированную из отдельных сфероподобных глобул. Характерное счетное распределение этих глобул по эквивалентным диаметрам приведено на рисунке 6, где Fi ‑число глобул в Di - интервале диаметров, F - суммарное число глобул. Видно, что глобулы имеют характерные размеры 15 - 25 мкм.
Рис.6. Счетное распределение частиц коксоотложений по диаметрам.
Схема исследования коксоотложений, образовавшихся в процессе нагревания топлив, приведена на рисунке 7
Рис.7. Схема исследования коксоотложений, образовавшихся при нагреве углеводородных топлив
По мере наработки отложения покрывают металлическую поверхность не сразу, а постепенно. Обработка данных показала, что зависимость от времени наработки доли поверхности стенки, покрытой отложениями,
=S/Smax, может быть описана соотношением
= 1 - exp(-a) , (1)
где а -эмпирический коэффициент, -время наработки поверхности.
Для определения массы коксоотложений и их элементного и группового состава использовалась специальная установка, приведенная на рисунке 8.
Рис.8. Установка для определения состава и массы коксоотложений:
1 - газометр; 2,3 - осушительные склянки;
4,5 - U-образные трубки; 6 - реактор для выжигания кокса;
7 - газовая горелка; 8,9 - электропечи; 10,11,12 ‑ поглотители;
13 - заключительная трубка; 14 - аспиратор; 15 - цилиндр;
16 - кварцевый стакан.
Кварцевый стаканчик 16 с закоксованной трубкой помещали в кварцевый реактор 6 для выжигания кокса в потоке кислорода, проходящего из баллона 1 через склянки 2 - 5 для очистки, где расход составлял 35‑70 мл/мин при Р=0,1 МПа. Температура электропечей 8 и 9 составляла 800-980 оС и 200 оС, соответственно. После достижения указанных температур и присоединения поглотительных трубок 10 и поглотительных аппаратов 11 и 12 производили выжигание кокса.
Образовавшиеся продукты разложения и горения смешивались с большим избытком О2 и, пройдя через зону, нагретую до 850 - 950 оС, полностью окислялись до СО2 и Н2О. Последние улавливались адсорбентами в аппаратах 11 и 12. Количества образовавшихся СО2 и Н2О определялись по разности масс поглотительных аппаратов до и после сжигания кокса. Время выжигания составляло 4 - 5 ч в зависимости от состава и количества кокса.
Поскольку при горении отложений в металлической трубке происходит образование оксидов металлов, для предотвращения попадания частиц этих оксидов в аппараты 11 и 12 была введена поглотительная трубка 10, представляющая собой обогреваемый фильтр из серебряной стружки. Обогрев поглотительной трубки до 200 оС необходим для предотвращения конденсации образовавшейся воды на этой стружке.
Анализ, проведенный посредством растворения смолистых продуктов и кокса и механического их удаления с последующим исследованием методами микроэлементного анализа, атомно-абсорбционной и инфракрасной спектроскопии, показал, что элементный состав отложений, снятый из различных участков системы охлаждения ЖРД, практически одинаков. Основной частью отложений являются органические вещества (С ‑62-70 %, Н ‑4-7 %, О –10-13 %), а зольная часть отложений (продукты неорганического происхождения) составляют 15-20 %, что согласуется с данными Г.Ф.Большакова.
Коэффициент теплопроводности кокса, как гетерогенной пористой структуры, может быть рассчитан по формуле (Глебов В.П., Эскин Н.Б., Трубачев и др. Внутритрубные образования в паровых котлах сверхкритического давления. –М., Энергоиздат, 1983. –240 с.)
отл = (1 - П)к + Пт , (2)
где П=Vпор/Vотл -пористость, в объемных долях; к, т -коэффициенты теплопроводности каркаса кокса и топлива.
Для определения теплопроводности каркаса отложений кокс подвергался разрушению с использованием пресса. Прилагаемое усилие составляло 250 кг/см2. Как показали исследования, основанные на методах цветной дефектоскопии, пористость каркаса после разрушения не превышала П0.00013.
Как показали эксперименты, теплопроводность каркаса отложений слабо меняется в ограниченном диапазоне изменения температуры в слое кокса. Для определения коэффициента теплопроводности в зависимости от параметра qотл получена номограмма (Рис.9).
Рис.9.Номограмма для коэффициентов теплопроводности коксоотложений
Т-6; - - РТ; - . - н-октан.
, Вт/м: 1-60; 2-50; 3-40; 4-30; 5-20; 6-10; 7-1.0; 8-0.5
Плотность сплошных отложений, образующихся вследствие окисления топлив на каталитически неактивных поверхностях, оказалась практически постоянной: отл=1010 50 кг/м. Плотность же пористых отложений, образовавшихся вследствие окисления топлив при течении на металлических поверхностях, линейно убывает с ростом пористости П кокса,
отл = 1000 (1 - 1,82 П), (3)
где П < 0,5.
Групповой химический состав коксоотложений определялся по методу, основанному на селективной растворимости отдельных классов углеводородов в различных растворителях. Асфальтены хорошо растворяются в бензоле (С6Н6), но не растворяются в эфире (легкий бензин, получаемый с помощью легких фракций из бензинов прямой перегонки). Смолы наоборот хорошо растворимы в эфире. Карбено-карбоидные соединения не растворимы ни в эфире, ни в бензоле. Результаты этих экспериментов приведены в таблице 1.
Таблица 1.
| Компоненты | Состав отложений, % масс. | |||
| Кокса | Температура стенки, ОС | |||
| 300 | 400 | 500 | 600 | |
| Смолообразные | 90-98 | 80-90 | 55-70 | 20-30 |
| Асфальтено-смолистые | 1,3-5 | 3-6 | 15-35 | 30-40 |
| Карбено-карбоидные | 0,1-0,7 | 0,2-0,8 | 2-10 | 20-40 |
В главе 3 представлены результаты экспериментального исследования теплообмена при нагреве углеводородных топлив в условиях реализации физического хладоресурса. Эксперименты проводились как в условиях естественной конвекции, так и при наличии фазовых превращений.
Для изучения теплообмена была смонтирована экспериментальная установка (Рис.10)
Нагрев топлив осуществлялся на горизонтально расположенной сменной трубке, изготовленной из стали 1Х18Н9Т, длиной 0,118 м и диаметром 6.7х6 мм, нагреваемой электрическим током. Начальная чистота поверхности соответствовала состоянию цельнотянутой трубки.
Эксперименты по определению коэффициента теплоотдачи для реактивных топлив в условиях естественной конвекции проводились как при атмосферном давлении, так и при повышенном (до 0.7 МПа). Как показали эти исследования, особого отличия в теплообмене между однокомпонентными жидкостями в виде воды, спиртов и н-гексана, так и реактивными и моторными топливами, подвергнутыми диоксегинизации, не проявляются. Образовавшиеся в начальном периоде работы поверхности незначительные отложения на коэффициент теплоотдачи видимого влияния не оказывали.
Рис.10 Принципиальная схема экспериментальной установки для изучения теплообмена при нагреве топлив в условиях естественной конвекции.
1 –экспериментальный бачок, 2 –крышка, 3,8 –штуцеры,
















