150810 (732818), страница 2
Текст из файла (страница 2)
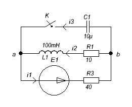
Таблица 3.1
ЗНАЧЕНИЯ ПАРАМЕТРОВ ЦЕПИ
| R1 Ом | R2 Ом | R3 Ом | L1 мгн | C1 мкф | L2 мгн | C2 мкф | Е В |
| 10 | 2 | 40 | 100 | 10 | 10 | 5 | 12 |
Таблица 3.2
ЛОГИЧЕСКОЕ СОДЕРЖАНИЕ ЭЛЕКТРИЧЕСКОЙ ЦЕПИ
| Схема электрической цепи |
| a(L1 R1+ER3+KC1)b |
РЕШЕНИЕ:
Исходные данные:
R1 =10 Ом; R3=40 Ом ;
E1=12 В; С=10мкФ;
L=100 мГн.
1. Расчет классическим методом.
-
Расчет режима до коммутации (при t = 0_ )
i1(0_) = i2(0_)=
i3 (0_)=0
uc(0+)= 0
по независимым начальным условиям( законам коммутации):
i2(0+)= i2(0_)=
uc (0+)=uc(0_)=0
-
Составим характеристическое уравнение
Z(p)=
=
Подставляем числовые значения:
40·10-5·0.1·p2+(40·10·10-5·+0.1)p+50=0
4·10-5·p2+0.104·p+50=0
Найдем корни уравнения:
P1,2=
P1
-636.675c-1
P2
-1963.325c-1
Корни действительные и разные, значит переходной процесс будет апериодическим.
-
Запишем свободную составляющую тока i2
i2 св (t)=A1 ·
+A·
,
где А1, А2 – постоянные интегрирования.
<
, поэтому экспонента с показателем p2t будет заухать быстрее, чем с показателем p1t.
-
Расчет установившегося режима после коммутации.
i2 пр = i1 пр=
i3 пр=0
uc пр= i2 пр ·
2.4В
-
Свободные составляющие токов напряжений при t=0+ найдем как разницу между переходными и принужденными величинами.
i2 св (0+)= i2 (0+) - i2 пр= 0.24-0.24=0
uc св (0+)= uc (0+)- uc пр=0-2.4=-2.4В
по второму закону Кирхгофа для свободны составляющих:
L
=
-
Определим постоянные интегрирования по начальным условиям
Подставим в эти уравнения при
Из первого уравнения имеем А1=-А2
Подставим это выражение во второе и получим А2
-
·p1+
A
A
-
Ток i2(t) найдем как сумму его принужденной и свободной составляющих.
(t)=
+
=
A1 ·
+A2·
=0.24 -0.0180912·
, А
Для проверки подставим в это уравнение
, получим
(
)=0.24А, что совпадает с расчетом по п.1.
2. Расчет операторным методом.
Определим
Расчет режима до коммутации:
-
Начальные условия:
-
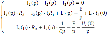
Составим систему уравнений по 1 и 2 законам Кирхгофа.
Выразим из 2 уравнения
, из 3 -
и подставим в первое.
Т.к.
, то
Подставим числовые значения.
Найдем корни уравнения
.
Корни действительные и разные. Значит, переходной процесс будет апериодическим.
-
Для перехода от изображения к оригиналу воспользуемся формулой разложения для простых корней.
В соответствии с этой формулой ток
будет равен:
Напряжение
-
Определим энергию, рассеивающуюся на
при переходном процессе. Переходной процесс заканчивается примерно при T=4t, где t – наименьший по модулю корень характеристического уравнения.
-
Построим графики переходных процессов.
Для тока
Для














