150492 (732742), страница 2
Текст из файла (страница 2)
Для видимого и ультрафиолетового света хорошие результаты дают прозрачные металлические слои платины, родия, сурьмы, отложенные испарением на кварцевые пластинки.
Тейсинг и Гёберт изготовили с помощью изящного приема серый « фильтр, поглощение которого в области длин волн между 3000 А и 2,3 мк практически является постоянным. Для этого они на один слой, поглощение которого уменьшается при уменьшении длин волн, отложили второй слой, поглощение которого изменяется в противоположном направлении.
Поляризационные пленки, которые теперь изготовляются различными фирмами, при скрещенном положении можно применять в качестве нейтрального фильтра переменной прозрачности. Во многих случаях с большим успехом вместо поляризационных призм употребляются поляризационные пленки. При скрещенном положении лучшие из них уменьшают яркость света в сотни раз. По сравнению с поляризационными призмами они обладают преимуществом большего поля зрения. Пленки можно изготовить почти безграничного размера. Иногда возникают затруднения вследствие необходимости обеспечить их теплоустойчивость. От действия влаги поляризаторы можно надежно защищать, если это вообще необходимо, вклеивая их между стеклянными дисками.
С одной стороны, производство поляризационных фильтров такого типа, с другой стороны, изготовление пленок с двойным преломлением побуждают к проектированию ротационно-дисперсионных светофильтров. Этот вид фильтров много лет назад описал Р.В. В уд при разделении компонентов линии натрии; светофильтры такого типа затем разрабатывались Лайотом, Эхманом, Регием и Хаазе. Фильтр с отверстием Лайотом, пропускал, в зеленой части полоску в 2 А ширины при прозрачности 13%, а в красной части – 3 А при 24%.
2. Зеркальные поверхности
А) Металлы
Результаты весьма многочисленных экспериментальных исследований в этой области приводят к следующим качественным выводам. При больших длинах волн, в несколько микрон, большинство металлов отражает от 90 и почти до 100% падающего света. От 15 мк до почти 4000 А серебро по отражательной способности превосходит все другие металлы; в инфракрасной области вплоть до 8500 А золото отражает так же, как и серебро. Очень хорошим отражателем в длинноволновой области является также латунь. Результаты таких работ представлены графически на рис.
Отражательная способность серебра и алюминия
Отражательная способность серебра и алюминия
Известно, что с уменьшением длин волн отражательная способность всех металлов сильно уменьшается, за исключением кремния. Зеркальный металл, или так называемый сплав Брэшира, применяемый в особенности для отражательных дифракционных решеток, состоит из 68% меди и 32% олова. По данным Пфунда в области Лаймана лучше всего отражает кварц, хуже всего – зеркальный металл.
Б) Слои, уменьшающие отражение
Слои, устраняющие или уменьшающие отражение, в настоящее время широко применяются в оптике. Методы нанесения тонких слоев, например, магния, кальция или фтористого лития стали технически весьма совершенными. В технической оптике уже начинают применяться многослойные покрытия, устраняющие отражение. Значительно увеличена также прочность слоев. Прежде всего, слои, осажденные из газовой фазы, имеют практически твердость стекла, они почти неразрушимы. Методы осаждения слоев из газовой фазы были развиты Геффкеном. Уменьшение отражения на таких слоях весьма значительно. Коэффициент отражения от них в небольшой степени зависит от длины волны и имеет значения от 0,2 до 1%. При применении многослойных покрытий зависимость отражения от длины волны уменьшается. Могут быть также получены зеркала с большой отражающей способностью и незначительным поглощением. Для этого, однако, необходимо четное число слоев.
В табл. указаны прозрачность и рассеяние света оптической системой, состоящей из некоторого числа поверхностей, в предположении, что на каждой поверхности отражается с,=5% или Q1=I% падающего на нее света. Как и следовало ожидать, выигрыш за счет уменьшения отражения при двух поверхностях незначителен, но при увеличении их числа он становится настолько большим, что, например, при 30 поверхностях вредный рассеянный свет за счет относительного повышения степени проницаемости в три раза уменьшается почти в шесть раз.
3. Микроскоп и его принадлежности, в особенности для термических работ
Микроскоп, т.е. осветительное устройство, окуляр и объектив, представляет собой один из широко применяющихся приборов. Укажем еще на некоторую дополнительную аппаратуру, например камеру для работы при пизких температурах; в этом случае объект располагается в плоской камере, через которую протекает сухой газ, прошедший через холодильную ванну. Для работы при температурах между – 130 и – и кристаллов.
При микроскопическом наблюдении фазовых переходов, процессов плавления или образования монокристаллов при высоких температурах маленькие пробы вещества могут быть в некоторых случаях помещены на нагреваемую электрическим способом U-образную металлическую ленту. Эта лента, сделанная из сплава 60% Pt-) – 40% Rh, служит микропечью. Лента имеет размеры: толщина 0,01 мм, ширина 8 мм, длина боковых сторон 10 мм, расстояние между ними 1,2 мм; воздух в этой печи нагревается до температуры свыше 1800 °С; эта температура может сохраняться длительное время. Температура может быть определена по графику зависимости ее от тока накала, точки которого получены как известные температуры плавления определенных веществ. Ниже перечисляются подходящие для этой цели вещества и указываются их температуры плавления:
K2SO4, CaO-MgO-2Si02, BaO-2Si02, CaO •Al2Os^SiO2, смесь 15% MgO и 85% SiO2. В методе, предложенном Ордвеем, капля расплава удерживается капиллярными силами на поверхности термоэлемента Pt–PtRh, нагреваемого переменным током высокой частоты. Постоянное напряжение на нагретом термоэлементе используется для измерения температуры. Цепь измерения температуры должна быть но всей длине термоэлемента ограждена фильтрами от воздействия переменного напряжения. Абсолютная ошибка измерения температуры при 1420° С равна 5°. В методе В ел ьха цепь измерения температуры и цепь нагревателя полностью разделены. Термоэлемент нагревается одной полуволной 50-периодного переменного тока. Во время второй полуволны термоэлемент для определения термо ЭДС подключается к компенсационной схеме.
Для металломикроскопии при высоких температурах имеются.' заводские нагревательные столы. Они имеют вакуумплотные сосуды, в которых небольшой полированный кусочек исследуемого металла нагревают в высоком вакууме или защитной атмосфере и наблюдают процесс изменения его поверхности с температурой.
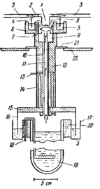
Установка для исследований с поляризационным микроскопом при низких температурах. Схема камеры-приставки к поляризационному микроскопу.J – объектив микроскопа, 2 – пробковое кольцо, 3 – полая пластинка с припаянной латунной трубкой 4, опущенной в сосуд 6 с жидким воздухом 5,7 – термоэлемент, S – посеребренное металлическое зеркало, 9 – камера с охлажденным воздухом, Яп – толстостенная латунная трубка, и – стеклянная трубка, 12 – кожух для трубки ю, 13 – дополнительный нагреватель, 14-фарфоровая трубка, 15 – пластинка с припаянной латунной трубкой 16, опущенной в сосуд с жидким воздухом 17, 18 – нагреватель, 19 – дыоар, 20 – пробковое кольцо, 21 – кольцеобразная пластинка, поддерживаемая предметным столиком микроскопа 22.
Состояние объектив – объект не может быть менее 2,5–3 мм, то при нормальных объективах максимально достижимое увеличение не превышает 250–300. Обзор развития металлографических методов и полученных ими результатов дает Рейнахер 18). Пфейффер описывает самодельный нагревательный стол для исследования легко окисляющихся сплавов с помощью микроскопа. Нагреватель помещен на полом кварцевом держателе, заключенном в стеклянный кожух с водяным охлаждением; держатель закрыт шлифом из плавленого кварца с приплавленной к нему кварцевой шайбой. Печь нагревателя состоит из двух сплавленных вместе трубочек АlОз, через которые проходят платиновые проволоки. Для измерения температуры образца, помещенного в печь, служит термоэлемент. Токоподводящие провода и провода термоэлемента вплавлены в стекло для обеспечения герметичности соединения.
Очень быстро совершенствуются методы ослабления отражения. Ослабление отражения достигается тем, что или изменяется химический состав пограничного слоя линз, или на них наносится слой с другим показателем преломления.
В последнее время очень быстро прогрессирует инфракрасная микроскопия, в которой применяют отражательные микроскопы. Большие успехи в оценке неровностей на поверхностях достигнуты благодаря микроскопам с фазовым контрастом. В ультрафиолетовом микроскопе также с успехом применяется метод фазового контраста.
Простой микроманипулятор состоит из рамы с двумя расположенными под прямым углом деревянными планками, которые соединяются с микроскопом и обеспечивают возможность перемещения прикрепленных к ним микроиголок, микропипеток и микроэлектродов.
Вакуумный нагревательный стол по Пфейфферу
















