150236 (732650), страница 2
Текст из файла (страница 2)
Блокувальні контакти контакторів КМ1 і КМ2 не допускають вмикання контакторів обох напрямків обертання двигуна при випадковому одночасному натисканні пускових кнопок SBI і SB2.
Крім того, у реверсивних магнітних пускачах інколи передбачається механічне блокування. Це — важільна система, яка запобігає вмиканню одного контактора, якщо увімкнуто інший. Використання в схемі автоматичного вимикача QF виключає можливість роботи привода при обриві однієї фази, при однофазному короткому замиканні, як це має місце при установці запобіжників; він також не потребує заміни елементів, як у запобіжниках при згорянні плавкої вставки.
При необхідності гальмування двигуна після його вимкнення з мережі застосовують динамічне гальмування. Динамічне гальмування асинхронного двигуна з короткозамкненим ротором реалізується внаслідок підмикання обмоток статора до джерела постійного струму через додатковий резистор Rn (рис. 3). Гальмування двигуна здійснюється натисканням на кнопку SB1, яка вимикає контактор КМ1 і вмикає контактор КМ2. Двигун вимикається із мережі змінного струму і вмикається у мережу постійного струму. Відмикання мережі постійного струму здійснюється за допомогою реле часу КТ, яке через певний проміжок часу розриває коло контактора КМ2, а отже, й обмотки статора. Схема повертається у початкове положення.
Інтенсивність динамічного гальмування регулюється резистором Лд, з допомогою якого встановлюється необхідний струм у статорі асинхронного двигуна.
Для запобігання одночасному підключенню статора до джерел змінного і постійного струму в схемі використано вузол типового блокування за допомогою блок-контактів контакторів КМ1 і КМ2 у колах котушок цих апаратів.
Розділ IІІ. Будова і принцип дії апаратури управління
Двокнопкова станція (рис. 4.1,) складається із кнопки ПУСК і СТОП з нерухомими контактами 1 і рухливими 2. При натисканні на кнопку ПУСК відбувається замикання контактів, СТОП — розмикання контактів. Під впливом пружини 3 при відпусканні кнопки контактна система займає вихідний стан.
Рис. 3.1.
Схема керування трифазним асинхронним електродвигуном за допомогою контактора ( складається із двох частин - силового ланцюга (товсті лінії) і ланцюга керування (тонкі лінії). У силовий ланцюг послідовно в кожну фазу включені головні контакти контактора й обмотки мотора. У ланцюг керування який підключено на лінійну напругу живильної мережі, входять послідовно з'єднані кнопки SBS ПУСК і SBT СТОП і обмотка контактора КМ1. При натисканні кнопки ПУСК утворюється ланцюг керування: фаза А - Обмотка КМ1 — контакти кнопки SBS — контакти кнопки SBT — фаза С.
Перемикач ПКП (Рис. 3.2. а, б). Перемикач ПКП дозволяє одночасно перемикати два електричні кола. Механізм перемикача розташований у корпусі, утвореному з ізолюючих шайб, і принципово не відрізняється від пакетного вимикача.
Перевіряють цілісність корпусу перемикаючого механізму 2, ізоляцію пакету 3, рукоятки 1, які не повинні мати тріщин і великих пошкоджень. Оглядають вивідні затиски 4, які не повинні мати пошкоджень. Пошкоджені місця ізоляції проводів ізолюють ізоляційною стрічкою. Гвинти і гайки, зриви різьблення більше двох ниток, замінюють. Якщо порушені кріплення стрижня в пластині або антикорозійне покриття, перемикач підлягає ремонту.
Кулачки, які мають знос, замінюють. Металеві деталі не повинні мати тріщин, вм'ятин, забоїн, корозії і інших дефектів. Після ремонту необхідно заміряти опір ізоляції між струмопровідними частинами і частинами, до яких можливий дотик, а також заземленими частинами. Опір ізоляції повинен бути не меншого 50 МОм.
Перевіряють надійність кріплення апарату на місці установки. Кілька разів включають і вимикають перемикач вручну. Фіксація рукоятки у різних положеннях повинна бути чіткою, рукоятка повинна провертатися без додаткових значних зусиль.
Рис. 3.2. Перемикач ПКП: а - загальний вигляд, б - діаграма включень
Магнітні пускачі
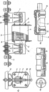
Магнітний пускач являється комбінованим апаратом дистанційного керування, що складається із контактора, додаткового теплового реле. Він застосовується для пуску, зупинки та зміни напрямку обертання електродвигуна. В якості апарата захисту він вимикає двигун при недопустимих навантаженнях, а також при відсутності напруги. Найбільш поширені контактори П6 і ПА (Рис. 3.3.).
Рис. 3.3. Магнітні пускачі 1 – стальна скоба, 2 – пластмасова колодка, 3 – осердя, 4 - пружина,5 – котушка, 6 – головка, 7 – рухомий контакт, 8 – циліндрична контактна пружина, 9 – амортизаційна пружина, 10 - траверса, 11 – плоска пружина, 12 – мостик, 13 – пластина з нерухомим контактом, 14 – гвинт для приєднання проводів(шин) зовнішньої мережі
Для автоматичного вмикання, вимикання або перемикання електричних мереж в залежності від проміжного або кінцевого положень рухомих робочих органів верстата застосовують і кінцеві вимикачі. Вимикач рис. 3.4. має корпус 7 з кришкою 8, в якому на стійці 1 з діелектрика закріплені нерухомі 2 і рухомі мостикові 4 контакти.
Рис. 3.4. Кінцевий вимикач
Запобіжники
Запобіжник - це апарат, призначений для захисту електричних ланцюгів при непередбачених збільшеннях струмового навантаження за рахунок розплавлення плавкої вставки, що калібрується, забезпечуючи розриви ланцюгів.
Найбільш частими пошкодженнями запобіжника є: оплавлення болтів і затисків унаслідок їх перегріву, руйнування, тріщини або поява нагару ізоляційної плити і перегоряння плавких вставок.
Контактні ножі і губки іноді мають сліди розплавленого металу, нагару, підгоряння, нещільне прилягання. Усунення цих дефектів досягається тими ж способами, що і у рубильників.
Потрібно стежити, щоб плавка вставка підбиралася у відповідності з навантаженням і номінальним струмом запобіжника (по довідниках). При струмі, що перевищує номінальний струм плавкої вставки на 25-30 %, остання розплавляється і відключає пошкоджену ділянку ланцюга. У трубчастих запобіжників ПН-2 (Рис. 3.5, а) фарфоровий патрон, що має сколи або тріщини, замінюють новим. При перегоранні плавкої каліброваної вставки, її замінюють таким чином: відкручують два гвинти, що кріплять контактну шайбу струмопровідного елементу однієї з кришок 2 патрони 4, відкручують чотири гвинта, що кріплять кришку до корпусу, і знімають кришку разом з азбестовою прокладкою; висипають з патрона кварцевий пісок 8, відкручують два гвинти, що кріплять другу контактну шайбу, і видаляють її з патрона. Внутрішню поверхню фарфорового патрона очищають і встановлюють нову плавку вставку. Пісок повинен бути свіжим. Використаний пісок можна залишити, якщо він не спікся і не відволожився. Контактну частину ремонтують аналогічно попереднім типам запобіжників.
При появі тріщин на фібровому патронові трубчастих запобіжників ПР-1 і ПР-2 (Рис. 3.5, б, в) запобіжник замінюють новим.
Рис. 3.5. Трубчасті запобіжники.
а - ПН з кварцовимнаповнювачем,б,в - ПР з патронами на струми 100 і 60 А; 1 - сталеві пружинячі кільця контактів, 2 - металеві кришки, 3 - гвинт, 4 - фарфоровий патрон, 5 - контактні ножі, 6 - плавкі вставки, 7 - контактні-болти, 8 - кварцевий пісок, 9 - олов'яна кулька (розчинник), 10- контактні стійки, 11 - ізоляційна плита, 12 - Т-образні виступи, 13 - фіброва трубка, 14 - латунні ковпачки, 15 – гвинт
Розділ ІV. Загальні відомості про асинхронні двигуни
Основними частинами асинхронного двигуна (Рис. 4.1.) є нерухомий статор і обертовий ротор, які розділені повітряним зазором. Статор складається із станини (або корпуса) з лапами; стального осердя із штампованих, ізольованих один від одного, листів електротехнічної сталі з пазами для укладання обмотки статора; обмотки статора, виготовленої з ізольованого мідного дроту, й укладеного в пази осердя. Обмотка призначена для утворення обертового магнітного поля.
Рис. 4.1 Асинхронний електродвигун з короткозамкненим ротором: 1, 9, 17 — болти, 2 і 23 — шпонки, 3 — вал ротора, 4 и 22 — роликовий і кульковий підшипники, 5,6 — зовнішня и внутрішня кришки підшипника, 7 — стопорне кільце, 8, 21 — підшипникові щити,10 — станина, 11 — статорна обмотка, 12 — осердя статора, 13 — гвинти кріплення осердя до станини, 14 — осердя ротора, 15 — замикаюче кільце, 16 — лопать вентилятора, 18 и 20 вентилятори, 19 — кожух вентилятора
Найпростішим елементом обмотки є виток . Декілька з'єднаних між собою витків, які містяться у двох пазах і мають спільну ізоляцію паза утворюють секцію.
Сукупність секцій, які належать до однієї фази, називається фазною обмоткою. Виводи фаз обмотки прийнято позначати: С1, С2, С3 — початки і С4, С5, С6 — кінці відповідно першої, другої і третьої фаз. Окремі фази обмотки статора можуть з'єднуватися зіркою або трикутником. На рис. 2.3 наведено схеми з'єднання фаз обмотки статора і відповідні цим з'єднанням перемикання на щитку машини.
Рис. 4.2. Схеми з'єднання фаз обмотки статора а — зіркою; б — трикутником.
Ротор асинхронного двигуна (рис. 2.4. ) складається з таких частин: стального циліндра, складеного із штампованих, ізольованих один від одного, листів електротехнічної сталі; вала ротора, на якому закріплено стальний циліндр ротора, підшипників, вентилятора. Залежно від типу обмотки ротори поділяються на короткозамкнені та фазні. У пази короткозамкнених роторів укладено стержні із струмопровідного матеріалу, які з торців замикаються кільцями, утворюючи так зване біляче колесо. У пази фазного ротора укладено провідники секцій трифазної обмотки, які з'єднують зіркою.
Трифазний струм, що проходить через обмотку статора асинхронного двигуна, створює обертове магнітне поле, яке перетинає провідники обмотки ротора, індукує в них є. р. с. У провідниках замкненої обмотки протікають струми і2. При взаємодії цих струмів та обертового магнітного поля виникають електромагнітні сили, які за правилом лівої руки спрямовані в бік обертання поля статора. Ротор починає рухатися в бік руху магнітного поля. Швидкість обертання ротора менша за швидкість обертання магнітного поля. Це можна пояснити так: якщо б ротор обертався із швидкістю поля, то через відсутність відносного руху провідників обмотки ротора та обертового магнітного поля останнє не перетинало б провідників обмотки ротора, у них не індукувалися б е. р. с і не було б струмів, а це означає, що електромагнітний момент дорівнював би нулю. Отже, обертове магнітне поле і ротор асинхронного двигуна принципово обертаються з різними швидкостями — асинхронно, що і визначило назву машини.
Розділ V. Обслуговування електродвигунів
Експлуатація електродвигунів
На електродвигунах та механізмах, які вони приводять у дію, повинні бути нанесені стрілки, що вказують напрямок обертання їх рухомих частин, а також написи з назвою агрегату, до якого вони належать.
На комутаційних апаратах (вимикачах, контакторах, магнітних пускачах, пускорегулювальних пристроях, запобіжниках тощо) повинні бути нанесені написи, що вказують, до якого електродвигуна вони належать.
Плавкі вставки запобіжників повинні бути калібровані із зазначенням на клеймі номінального струму вставки. Клеймо ставиться заводом-виробником або електротехнічною лабораторією. Застосовувати некалібровані плавкі вставки забороняється.















