150166 (732618)
Текст из файла
Міністерство освіти і науки України
Чернівецький національний університет
Імені Юрія Федьковича
Кафедра електроніки і енергетики
Реферат
Водень в шаруватих матрицях
Чернівці
2006
План
1. Загальна характеристика шаруватих кристалів А3В6
2. Ітеркаляція та інтеркаляти: основні методи та характеристики процесу
3. Водневі інтеркалянти
1. Загальна характеристика шаруватих кристалів групи А3 В6
Шаруваті кристали зустрічаються в природі у вигляді мінералів, крім того, їх отримують синтетичним шляхом. Особливої уваги заслуговують халькогеніди складу А3B6, завдяки цікавим фізико-хімічним властивостям та можливостям широкого практичного застосування. Серед сполук цього класу, із яких тільки сульфід алюмінію нестійкий на повітрі, сульфід бору існує лише в газовій фазі, інші дев'ять стійкі в повітрі тверді речовини і складають наступні під групи кристалографічних аналогів: сполуки із структурою типу сульфіду галію, в яку кристалізуються GaS, GaSe, GаТе, ІnSе, ІnS та сполуки із структурою типу ТiS, ТiSе, і ІnSе. Телурид талію не має структурних аналогів серед матеріалів типу A3B6.Характер напівпровідникових властивостей обох підгруп сполук А3B6 відрізняється мало чим, але структурні особливості та деякі відмінності зв'язку між атомами вносять відмінності в ряд їх параметрів. В шаруваті структури кристалізуються GaS, GaSе, GaTe, ІnS і ІnSе, які складаються із стопки окремих шарів. Кристалографічна структура та атомне упорядкування всередині шарів однієї з цих сполук - GaSе показане на рисунках 1.1, 1.2.
Кожний одиничний шар складається із чотирьох щільно упакованих атомних площин у послідовності В-А i А-В (Gа, Іn, B, S, Se, Te). На рисунку 1.1. б) зображена проекція розміщення атомів в площині шару, а на рисунку 1.1. а) будова шару. Усередині кожного такого шару атоми мають ковалентний зв'язок такий, що кожен атом А (катіон) оточений тетраедром, який утворюють три атоми В (аніони) і другий атом-катіон. Атоми А мають тетраедричну координацію sр3, а атоми В - пірамідальну s3 із заповненою s2 оболонкою. Між окремими шарами в кристалах із структурою GaS існує зв'язок типу ван-дер-ваальса, що робить їх близькими з кристалами молекулярного типу. Окремі молекули в таких кристалах в дійсності слабо незалежні одна від одної і можуть розглядатися як димери із зв'язком метал-метал. При цьому слід відмітити, що геометричні характеристики їх викликають дещо інше просторове розташування атомів, ніж у GaS, без змін шаруватості структури або зв'язків між атомами. У цих сполук з'являються структурні модифікації.
Встановлена здатність шаруватих напівпровідників типу А3В6 до інтеркаляції катіонами лужних, лужноземельних металів, аніонами галогенів, а також органічними комплексами. Вплив інтеркаляції воднем на властивості моноселеніду галію і має як науковий інтерес, так і практичне значення: акумулятори водню, водневі фільтри, каталізатори,:електроди для паливних елементів та батарей.
Особливістю шаруватих кристалів є велика кількість у них власних структурних дефектів упаковки, таких як гвинтові дислокації. Можливими причинами виникнення цих дефектів можуть бути, наприклад, присутність неконтрольованих домішок у вихідній сировині, утворення в процесі росту двох близько розташованих центрів кристалізації, котрі знаходяться на одній грані кристалу і деформують один одного, а також механічна деформація
а) б)
Рисунок.1.1 - Кристалографічна структура GaSe. а)будова шару, в)проекція розміщення атомів в площині шару
Рисунок 1.2 - Атомне впорядкування в шарі GaSe
Наявність гвинтових дислокацій обумовлює дві яскраві риси структур шаруватих кристалів: політипізм і одномірне структурне розупорядкування. Дефекти упаковки грають дуже важливу роль у визначенні фізичних властивостей кристалів. У шаруватих кристалах такі дефекти упаковки приводять до шунтування шарових пакетів і маскування правдивої анізотропії фізичних властивостей, одномірної локалізації носіїв заряду, тощо.
Доступні для інтеркалювaння місця в напівпровідникових квазі-двомірних моноселенідах індію і галію знаходяться в областях ван-дер-ваальсових зв'язків, що утворюють гратку певної симетрії.
Так як вказані матеріали відносяться до структурних класів із щільною упаковкою, неважко пересвідчитися, що на одну молекулярну одиницю матриці - "господаря" приходиться одне октаедричне і два тетраедричних місця для втіленого "гостя" в міжшаровому просторі. Вочевидь, що в незмінній матриці граничне заповнення "гостьових" позицій відповідає значенню х=3. Однак, існує багато випадків інтеркаляції, яка приводить до значної зміни матриці.
2. Інтеркаляція та інтеркалати:основні методи та характеристики процесу
Інтеркальовані сполуки, як клас речовин, на відміну від інших груп хімічних сполук, обумовлених постійністю складу, структури та зв'язків, характеризуються загальним принципом реакції, тобто процесом інтеркалювння. У ході цієї реакції частки - "гості" дифундують у напрямку від поверхні в об'єм твердого тіла, займаючи там "гостьові" позиції. Важливим параметром такого процесу є температура, при якій відбувається реакція. Зазвичай, вона знаходиться в проміжку від 200 до 600 К, тому що при більш високих температурах стабільність матриці як правило порушується, а при нижчих температурах енергетичний активаційний бар'єр для дифузії часток - "гостей" може інгібітувати цю реакцію. Значне число отриманих при інтеркалюванні сполук, особливо з молекулярними "гостями", є метастабільними фазами, які іншими методами синтезувати не можна. У відповідності із структурними характеристиками, гратки- "господарі" схематично можна розділити на три різні групи одновимірні, що містять структурні елементи ланцюгового типу; двовимірні, утворені структурними елементами шаруватої матриці(гостьові позиції знаходяться в енергетичній щілині ван-дер-ваальса, розташованій між сусідніми шарами); тривимірні - 3^, з сотовою матрицею. У випадку одно - і двовимірних систем взаємодія між нейтральними структурними елементами матриці є слабкою, і тому в шаруватих або в ланцюгових твердих тілах можуть розміститися досить великі частки - "гості". Саме це обумовлює інтерес до дослідження процесів інтеркалювння, в першу чергу, граток - "господарів" із шаруватою структурою, так як вони характеризуються високою стійкістю матриці при помірних обмеженнях щодо розмірів часток -"гостей".
Частки - "гості", що інтеркалюють у ґратки шаруватих халькогенідів можна розділити на три групи: одноатомні частки: - s-, р-, або елементи періодичної таблиці Менделєєва; молекули - як органічні, так і неорганічні; комплекси катіон-розчинник - "конструкції" з полярними молекулами, які сольватують інтеркалюючі катіони. На кінетику реакції впливають як властивості самої ґратки - "господаря", так і властивості часток -"гостей". Зменшення розмірів часток впроваджуваної речовини як правило сприятливо впливає на швидкість реакції. Збільшення ефективного діаметра знижує швидкість реакції, незважаючи на сприятливі термодинамічні параметри. Тип і концентрація дефектів у гратці -"господарі" в значній мірі залежить від умов синтезу і від наступної обробки, наприклад, відпалу. Іноді навіть невеликі зміни стехіометрії приводять до погіршення реакційної здатності до інтеркалювння, тому що надлишкова кількість металу випадає в міжшарову щілину ван-дер-ваальса. Якщо швидкість реакції інтеркалювання досить висока, можна спостерігати макроскопічне розшарування монокристалів аж до повного їх руйнування. При повільній керованій реакції можна отримати інтеркальовані кристали задовільної якості.
В даний час неможливо наперед бути впевненим, зможуть дані частки -“гості” інтерпелювати у ґратки певного халькогеніду, чи ні. Це залежить не тільки від взаємодії ґратки - "господаря" і часток - "гостей", але і від кінетики масопереносу. Більшість інтерпольованих сполук були отримані методом проб і помилок.
Спочатку схеми моделей механізму протікання реакції інтеркалювання були розроблені для графіту, пластинчастих силікатів і дихалькогенідів перехідних металів на основі макроскопічних оптичних досліджень. Головне припущення полягало в тому, що впровадження протікає за допомогою дифузії через ребра шарів, причому спочатку реагують при поверхневі шари, а на наступних етапах - шари в об'ємі моно кристалу. Механізм утворення шаруватих інтеркальованих сполук. Дослідження інтеркалатів у більшості випадків мали на меті проаналізувати склад, і на основі рентгенівських вимірів визначалася між-шарова відстань. Однак через обмежену точність на основі цих даних можна зробити помилкові висновки, особливо у випадку молекулярних часток -"гостей". Здійснювались також спроби, у найпростіших випадках, одержати дані щодо структурного розташування молекул - "гостей" на основі геометричних факторів, що включають розміри молекул і виміри між шарових відстаней.
Протон є найбільш простою “гостьовою” частинкою, що може бути інтеркальована в шаруваті гратки - “господарі”. Займаючи місце в середині ряду електровід’ємностей, водень може істотньо модефікувати напівпровідникові властивості InSe та GaSe. Наявність інтеркаляції воднем встановлювали хімічним аналізом, що ґрунтується на потенціометричному титруванні з застосуванням іон селективних електродів. Спостережуваний зсув рівноважних потенціалів після інтеркалювання InSe та GaSe в від’ємну область (рисунок 1.3) пов’язаний з отриманням сполук впровадження змінного складу НхInSe та НхGaSe в області 0,10 < x < 0,21;0,38 < x < 0,41; та 0 < x < 0,11; 0,21 < x < 0,59 відповідно. Горизонтальні ділянки діаграм, що характеризуються незалежністю потенціалу від значення х, відповідають двофазній системі інтеркалат–інтеркалянт.
Рисунок 1.3 - Залежність рівноважного електродного потенціалу від складу для сполук НхInSe (1) та НхGaSe (2).
Процес інтеркалювання шаруватих нанопорошків протонами описується реакцією:
ШН + хН+ + хе– =НхШН
Тоді зміна енергії Гіббса в даній реакції може бути представлена у вигляді:
∆Gр=∆Gутв(НхШН)─ ∆ Gутв(ШН)─ ∆ Gутв(хН++хе-)
де: ∆ Gр=─neFE
тут: ne─ кількість електронів, що приймають участь в реакції; F─ число Фарадея; Е─ рівноважний електродний потенціал. Тоді вільна енергія утворення протонних інтеркалатів буде мати вигляд:
∆Gутв(НхШН)= ∆ Gр+∆Gутв(ШН)+ ∆ Gутв(хН++хе-)
Результати проведених розрахунків представлені в таблиці 1.1, в якій також приведені дані для зміни ентальпії, враховані на основі вимірів температурної залежності електродних потенціалів.
Таблиця 1.1.
| Склад | х | ∆Gр, кДж/моль | ∆Gутв, кДж/моль | ∆H, кДж/моль |
| НхInSe | 0,1 0,2 0,5 0,6 | 6,657 23,060 26,920 28,849 | 106,458 90,005 86,195 84,266 | 50,847 34,444 30,584 28,655 |
| НхGaSe | 0,1 0,3 0,4 0,5 0,6 0,7 | -30,489 -22,770 -6,368 36,567 39,462 42,356 | 191,853 184,134 167,732 124,797 121,902 119,008 | 116,746 109,027 92,635 49,690 46,795 43,901 |
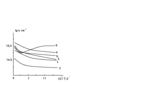
Унікальність протону, зумовлена відсутністю у нього електронної хмаринки і, таким чином, малими силами відштовхування при наближенні до нейтральних або заряджених частинок, призводить до того, що його рухливість велика навіть в твердих тілах. Так як інтеркалювання приводить до впровадження іонів в області слабких ван-дер-ваальсових зв'язків кристалів, в таких матеріалах слід очікувати зростання коефіцієнта дифузії. Підтвердження цьому отримане шляхом вимірювання потенціостатичних кривих включення, результат обробки яких в координатах lg i- lg дав значення коефіцієнта дифузії для InSe, рівне 6,910-4 см2/с. Вивчення явищ переносу в протонних інтеркалатах показало, що зміна с, та с в залежності від ступеня інтеркаляції немонотонний характер. Зростання х в НхInSe та НхGaSe приводить до пониження рухливості, особливо в температурній області рідкого азоту. При x > 0,3 залежність n(Т) набуває квазіступеневого характеру з послідуючою появою екстремуму (рисунку 1.4) а (Т) та (Т)–осциляційного виду.
Рисунок 1.4 - Температурна залежність n для НхInSe: 1-х = 0; 2-х = 0,05; 3- х = 0,15; 4-х = 0,35; 5-х = 0,55; 6-х = 0,95.
Проведене вивчення спектрів поглинання показало, що край власного поглинання зміщується в ІЧ - область. Спектри ІЧ - поглинання інтеркалатy НхInSe свідчать про значне зменшення пропускання по всій глибині забороненої зони, а в спектрах НхGaSe в області 0,3 < x < 0,7 виявлена смуга поглинання з максимумом при h 1.3 еВ. Розрахунки концентраційно-концентраційних флуктуацій водню в НхGaSe дозволяють отримати квазіступеневий характер n(T) пов'язати з ймовірним утворенням міні зон.
Характеристики
Тип файла документ
Документы такого типа открываются такими программами, как Microsoft Office Word на компьютерах Windows, Apple Pages на компьютерах Mac, Open Office - бесплатная альтернатива на различных платформах, в том числе Linux. Наиболее простым и современным решением будут Google документы, так как открываются онлайн без скачивания прямо в браузере на любой платформе. Существуют российские качественные аналоги, например от Яндекса.
Будьте внимательны на мобильных устройствах, так как там используются упрощённый функционал даже в официальном приложении от Microsoft, поэтому для просмотра скачивайте PDF-версию. А если нужно редактировать файл, то используйте оригинальный файл.
Файлы такого типа обычно разбиты на страницы, а текст может быть форматированным (жирный, курсив, выбор шрифта, таблицы и т.п.), а также в него можно добавлять изображения. Формат идеально подходит для рефератов, докладов и РПЗ курсовых проектов, которые необходимо распечатать. Кстати перед печатью также сохраняйте файл в PDF, так как принтер может начудить со шрифтами.















