150137 (732606), страница 2
Текст из файла (страница 2)
Трубу приварюють до коробки або на трубу і патрубок, при варений до коробки, нагвинчують муфту. Для створення міцного контакту між трубою і коробкою нагвинчують на кінець труби дряпаючі гайки (рис. 4, г) так, щоб вони щільно прилягали до очищеної до блиску металевої стінки коробки.
Рис. 4. Способи з'єднування сталевих труб між собою і з коробками:
а — зварюванням у іільзі і до патрубка коробки; б — вводом труби безпосередньо в коробку; в — муфтою на нарізці; г — дряпаючими гайками; д — муфтою з контргайками; є — зварюванням з перемичкою в обхід муфти і коробки; 1 — гільза;
2 — патрубок коробки; 3 — нарізна муфта; 4 — дряпаюча гайка; 5 — контргайки; 6 — обходи (перемички) для створення безперервного електричного кола
Марки, перерізи та кількість прокладуваних у трубах проводів і кабелів, а також внутрішні розміри труб визначаються проектом. Дані для вибору розмірів сталевих труб у разі прокладання в них одножильних проводів наведені в табл. 1.
Таблиця 1. Дані для вибору сталевих труб у разі прокладання в жильних проводів ПР, АПР, ПРТО, АПРТО, ПВ, ПРА і АПРВ
Затягують проводи в сталеві труби вручну або за допомогою затяжних пристроїв. Проводи у вертикально прокладених магістралях (стояках) повинні бути надійно закріплені за допомогою клиць або затискачів, які встановлюють на кінцях труб або в протяжних коробках. Точки закріплення проводів повинні знаходитись одна від одної на відстані, що не перевищує 30 м при перерізі проводів до 50 мм2 і 20 м при перерізі проводів 70 мм2 і вище.
Загальний вигляд освітлювальної електропроводки, виконаної в сталевих тонкостінних трубах, зображений на рис. 5.
Рис. 5. Загальний вигляд освітлювальної електропроводки, виконаної тонкостінними сталевими трубами:
1 — підведення електроживлення до розподільного щитка; 2 — розподільний щиток;
3 — протяжна коробка; 4 — відпаювальна коробка підведення проводів до вимикача і світильника; 5 — внмнкач; 6 — світильник
Після фарбування та сушіння труби розрізають за розміром, нарізають на них різьблення, згинають і т. д.
Труби, що застосовуються для монтажу електропроводок з ущільненням місць з'єднань, повинні мати різьбу на обох кінцях. На водогазопровідних трубах різьбу нарізують на верстатах за допомогою нарізних плашок, а на тонкостінних - накочують за допомогою накатних плашок. Задирки знімають на верстатах конусними фрезами або рейберамі.
Згинають труби на трубогибам з електричним або гідравлічним приводом. Труби з високою точністю діаметром до 24 мм можна згинати за допомогою ручного трубогибу типу ТРП-24 (рис. 6).
На трубогибах сталеві труби згинають у холодному стані звареним швом усередину чи назовні по відношенню до кута вигину для того, щоб шов не розійшовся. Меч у коліна не повинні мати сплющеної форми і вм'ятин.
При заготівлі труб слід дотримуватися певних радіуси вигину. Їх значення приймають в залежності від діаметру і умов прокладки труб. У всіх випадках прокладки радіус вигину труб в залежності від їх діаметра, способу та умов прокладки не повинен бути меншим:
- Десятиразового зовнішнього діаметра труб при їх прокладанні в бетонних масивах, а також відкрито і приховано з кабелями в свинцевою, алюмінієвої і полівінілхлоридної оболонці;
- Шестикратного зовнішнього діаметра труб, прокладають приховано, якщо розкриття їх не становить великих труднощів;
- Чотириразового зовнішнього діаметра труб при відкритому прокладанні.
Рис. 6 - Ручний трубогиб ТРП-24:
1 - ролик; 2 - мала шестерня; 3 - важіль; 4 - хомут; 5 - струмкової сектор; 6 - велика шестерня; 7 - плита.
При монтажі трубних електропроводок рекомендуються наступні нормалізовані кути поворотів: 90, 105, 120, 135 і 150 °; нормалізовані радіуси вигину: 400, 800 і 1000 мм. Радіуси вигину 800 і 1000 мм рекомендуються для труб, замонолічіваемих в бетонних фундаментах, і при прокладанні в них кабелів з однопрово-лочнимі жилами. Радіус вигину 400 мм кращий для труб діаметром 25-70 мм, які прокладають у перекриттях (наприклад, при вертикальному вихід з перекриття на стіну).
Сталеві труби з'єднують з ущільненням і без ущільнення.
Без ущільнення труби з'єднують муфтою на різьбі, муфтою з клиновой обоймою, муфтою типу ТР (сталевий манжетою), зварюванням в сталевий гільзи (рис. 7).
З'єднання з ущільненням виконується резьбовой муфтою з підмотки на різьблення труби прядив'яного або лляного волокна, просоченого розведеним на оліфі суриком, фторопластовою ущільнювальної стрічкою ФУМ або іншими матеріалами, які не порушують безперервність електричного кола. Муфту, свінчівая з згону, спеціальним трубним ключем нагвинчують на трубу до кінця різьби. На зганяння біля торця муфти намотується товстий бандажік з тієї ж пряжі і притискається контргайки (рис. 8).
Рис. 7 - З'єднання сталевих труб:
а - муфтою на різьбі; б - манжетою з клиновой обоймою; в - манжетою на гвинтах; г - сталевий гільзою; д - муфтою з розтрубами; е - гільзою з листової сталі; ж - трубної муфтою ТР.
При вводах в оболонки електрообладнання ущільнених трубопроводів на криволінійних ділянках траси трубної використовують гнучкі вводи (рис. 9).
Труби прокладають так, щоб у них не накопичувалася волога від конденсації водяних парів, що містяться в повітрі. На горизонтальних ділянках траси труби повинні мати ухил (не менше 3 мм на метр трубної траси) в бік відгалужувальних і протяжних коробок.
Рис. 8 - З'єднання труб муфтою на різьбі:
1 - зганяння; 2-різьба; 3 - муфта; 4 – Контргайка
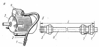
Рис. 9 - Виконання криволінійного ділянки трубної електропроводки при введенні в оболонку електродвигуна за допомогою гнучкого вводу:
а - загальний вигляд; б - гнучкий введення; 1 - сталева труба; 2 - гнучкий введення; 3-електродвигун; 4 - вступна коробка; 5 - вступна муфта; 6 - металорукав з полімерним покриттям; 7 - трубна муфта.
Під час прокладання труб в підлогах виробничих приміщень шар бетону над сталевою трубою, в якому вона замонолічена, не повинен бути менше 20 мм, а над неметалевими трубами - менше 50 мм. У місцях перетину труб між ними залишають зазор не менше 10 мм.
Відкрито прокладені труби кріплять до опорних підстав скобами, хомутами, накладками. Відстань між точками кріплення труб на горизонтальних і вертикальних ділянках траси не повинна перевищувати 2,5 м при діаметрі труби до 20 мм, 3 м - при діаметрі до 40 мм і 3,5-4 м - при діаметрі 50 мм і більше.
Труби до затягування в них проводів і кабелів закріплюють на опорних поверхнях, виконують всі види зварювальних робіт з їх заземлення і кріплення, всередину кожної труби вводять сталевий трос або сталевий дріт.
Провід затягують у труби ділянками між суміжними відгалужувальними коробками або між коробкою і вимикачем, розеткою або щитком.
При прокладці сталевих труб, що підлягають заземлення або використовуються в якості заземлюючих провідників, потрібно забезпечити безперервність електричного кола заземлення як між ними, так і між трубою і металевими корпусами електричних машин і апаратів. Для створення надійного контакту між трубою і металевими відгалужувальними та протяжними коробками або металевими кожухами апаратів використовують настановні заземлюючі гайки і контргайки, які кріплять на трубі з обох сторін стінки апарата або відгалужувальних коробки. Дряпає виступи цих гайок звертають в сторону стінки коробки або кожуха апарату. При з'єднанні труб без ущільнень за допомогою хомутів, манжет або гільз безперервність заземлення у місць з'єднання труб забезпечується приварювання до них металевих перемичок. Якщо трубу з'єднують з машиною або апаратом, застосовуючи гнучкий введення або металорукав, то до кінця труби приварюють заземлюючий прапорець, що служить для закріплення заземлюючого провідника, або встановлюють муфту типу ТР з гнучкою мідної перемичкою.
Список використаної літератури
-
Атабеков В. Б. Ремонт электрооборудования промышленных предприятий: Учебник для сред, проф.-техн. училищ. — 4-е изд., перераб. и доп. — М.: Высш. школа, 1979. — 256 с, ил. — (Профтехобразование. Энергетика).
-
Ктиторов А. Ф. Злектрослесарь строительный: Учеб. для проф.-тех. училищ. -М.:Стройиздат, 1990.- 383 с: ил.
-
Кисаримов Р.А. Справочник електрика
















