149970 (732506), страница 2
Текст из файла (страница 2)
Исследования показали, что при импульсном намагничивании лезвийного инструмента из быстрорежущих сталей Р18, Р12, Р6М5 при сверлении, точении и фрезеровании конструкционных сталей коэффициент трения инструмента уменьшается в 1,5...2 раза. Для вращающихся деталей машин из сталей 40Х, ЗОХГСА, 3Х13, ХВГ и других при МИО коэффициент трения в рабочих узлах механизмов снижался в 1,2...2,5 раза, при этом в 3...5 раз ускорялась приработка рабочих поверхностей со смазочными пленками в диапазоне температуры 50...300 ºС. Например, температурная стойкость пленки эмульсола при сверлении стали 40Х сверлом из сплава Р6М5 при МИО инструмента полем напряженностью 350 кА/м возрастала в 2 раза. При магнитной обработке, например инструмента из быстрорежущей стали, повышается микротвердость инструмента и снижается поверхностное натяжение смазочного материала. При взаимодействии трущихся поверхностей в поверхностном слое снижаются растягивающие напряжения, увеличиваются удерживающие смазочный материал напряжения, возрастает дисперсность блоков мозаики поверхностного слоя металла, повышается закрепление в пограничном слое легирующих элементов, таких, например, как вольфрам, углерод, молибден, ванадий и др. При этом повышается теплопроводность материала, увеличивается скорость отвода тепловых потоков при жидкостном охлаждении, возрастает поляризация органических компонентов смазочного материала, увеличивается адгезия смазочного материала на металлической поверхности и ускоряется отвод теплоты из узлов трения.
Изучалось состояние микротрещин на поверхности коленчатого вала двигателя автомобиля ЗИЛ-130. Схема поверхности трения детали при МИО, а также расположение на ней смазочного материала и продуктов износа материала показаны на рис. 5.
Р
ис. 5. Схема поверхности трения детали (вал автомобиля ЗИЛ-130) без МИО (а) и после МИО полем напряженностью 600 кА/м в течение 0,5 ... 1,0с (б):
.1 - микротрещины, заполненные намагниченными частичками и скоагулированными продуктами износа детали; 2 - "тепловые трубки", определяющие скорость охлаждения детали (поле скорости охлаждения); 3 — область активного смазывания детали в узле трения скольжения; L — толщина слоя смазывания; 4 - тонкодисперсные скоагулированные магнитным полем продукты износа деталей
Изучение состояния и скорости роста микропор и микротрещин поверхности намагниченного режущего инструмента, а также деталей мании после МИО показало, что улучшение смазывания и работы узлов трения связано с закреплением микрочастиц износа металлов размером 0,05...20 мкм. Оптимальное число и размер этих частиц, а также заполнение микротрещины поверхности зоны трения зависят от свойств материалов, скорости перемещения деталей, шероховатости поверхности, характера смазки и технологии охлаждения узла. При прочих равных условиях при МИО инструмента из быстрорежущей стали, обрабатывающего заготовки из конструкционных сталей, максимальное уменьшение скорости роста микротрещин наблюдалось при наличии намагниченных частиц размером 0,05...0,20 мкм. Для чугунных деталей, работающих в узлах трения, оптимальный размер скоагулированных магнитных частиц составлял 0,2 ... 1,0 мкм, а для высоколегированных деталей 0,05 ... 0,10 мкм. Однако решающее значение при этом имела частота вращения деталей. Оптимальной для вращающихся симметричных деталей являлась обработка импульсным магнитным полем по схеме: намагничивание (в полости соленоида вдоль его оси) — выдержка — локальное намагничивание рабочей поверхности торцом соленоида — выдержка — размагничивание.
Опыты показали, что для целого ряда узлов и деталей машин размагничивание проводить необязательно.
Таким образом, МИО представляет собой комплексное воздействие на материал магнитострикционных процессов и механических деформаций, тепловых и электромагнитных вихревых потоков, локализованных в местах концентраций магнитного потока, а также систему процессов, направленно ориентирующих "спин-характеристики" внешних электронов атомов металлов пограничной зоны контакта зерен (перегруженного участка кристаллита). В целом МИО предусматривает сочетание электромагнитного и термодинамического способов управления (в соотношении примерно 1:1) неравновесной структурой вещества. Причем чем больше физических "несовершенств" и технологических "неоднородностей", связанных с процессом изготовления детали (инструмента), тем выше эффективность МИО. Для подтверждения этого изучали изменение теплопроводности и магнитных характеристик быстрорежущих (Р12, Р9, Р6М5 и др.) и конструкционных (40, 40ХН, ЗОХГС, 65, 70 и т.п.) сталей при МИС с напряженностью поля до 4000 кА/м.
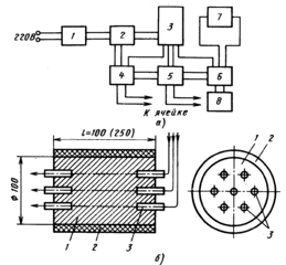
Основные опыты проводились с образцами из стали Р6М5 аналоговым» и электронными методами. Применялась усовершенствованная универсаль ная установка УЭМ.2Б-82 - ТЭИМ-001 с блоками ЭПП-093М для изме рения комплексных характеристик стальных образдов. функциональная схема установки, предназначенной для измерения теплопроводности электросопротивления и магнитной проводимости металлических образ цов, и устройство ячейки показаны на рис. 6. Особенностью установки является возможность одновременного измерения физического параметра по семи каналам (семь датчиков на один образец), что в 5...7 раз повышает точность опытов и позволяет изучать изменение теплопроводности электропроводимости и магнитного насыщения при МИО самых различных материалов.
Р
ис.6. Схема установки для измерения теплопроводности, электросопротивления и магнитной проводимости материалов электронными методами (а):
1 - усилитель; 2 - электронный преобразователь; 3 — датчик импульсов; 4 - устройство для измерения теплопроводности; 5 - устройство для контроля электропроводности; 6 - блок измерения магнитопроводности; 7 - рабочая ячейка (образец) из стали Р6М5; 8 - блок информации (устройство, выдающее значения электропроводности, магнитных характеристик, а также теплопроводности образцов);
устройство ячейки для одновременного измерения параметров (б) :
1 - стальной образец; 2 - цилиндр из изолирующего материала (стекла или керамики); 3 - датчики (7 шт.) для измерения параметров
Для улучшения механических свойств конструкционных сталей напряженность поля МИО не должна превышать 1000...1500 кА/м. В этом случае ударная вязкость, сопротивление усталости, временное сопротивление на растяжение, предел прочности на изгиб и другие свойства стали возрастают не менее чем на 10...20%.
Обработка статистического материала лабораторных исследований н ЭВМ по влиянию МИО на механические и технологические свойства кон струкционных, углеродистых и быстрорежущих сталей показала, что МИС повышает также динамическую прочность стали в диапазоне температур 100... 600 °С на 10...40 %.
Испытывалось влияние МИО на некоторые физические и механические свойства образцов из твердых сплавов. Результаты некоторых опытов приведены в табл. 2. За счет МИО теплопроводность твердых сплавов повышается не менее чем на 10.%, а временное сопротивление на изгиб на 15... 20%, что обусловливает снижение выкрашивания зерен из режущей кромки инструмента при резании металлов и сплавов.
Литература
Малыгин Б.В. Магнитное упрочнение инструмента и деталей машин. – М.:Машиностроение, 1989. – 112 с.: ил.
















