149932 (732468), страница 4
Текст из файла (страница 4)
2.3 Приборы для поляризационно-оптических исследований
В настоящее время существует множество приборов для поляризационно-оптических исследований, которые отличает чрезвычайное разнообразие как сфер применения, так и конструктивного оформления и принципов действия. Их используют для фотометрических и пирометрических измерений, кристаллооптических исследований, изучения механических напряжений в конструкциях, в микроскопии, в поляриметрии и сахариметрии, в скоростной фото- и киносъёмке, геодезических устройствах, в системах оптической локации и оптической связи, в схемах управления лазеров, для физических исследований электронной структуры атомов, молекул и твёрдых тел и др. Описанию многих из этих приборов посвящены отдельные работы. Мы дадим лишь краткий обзор некоторых основных классов подобных приборов.
Элементом большинства поляризационных приборов является схема, состоящая из последовательно расположенных на одной оси линейного поляризатора и анализатора. Если их плоскости поляризации взаимно перпендикулярны, схема не пропускает света (установка на гашение). Изменение угла между этими плоскостями приводит к изменению интенсивности проходящего через систему света по Малюса закону (пропорционально квадрату косинуса угла). Особое удобство этой схемы для сравнения и измерения интенсивностей световых потоков обусловило её преимущественное применение в фотометрических поляризационных приборов - фотометрах и спектрофотометрах (как с визуальной, так и с фотоэлектрической регистрацией). Поляризационные приборы представляют собой основные элементы оборудования для кристаллооптических и иных исследований сред, обладающих оптической анизотропией - естественной или наведённой. При таких исследованиях широко применяются поляризационные микроскопы, позволяющие на основе визуальных наблюдений делать выводы о характере и величине оптической анизотропии вещества. Для прецизионного анализа оптической анизотропии и её зависимости от длины волны излучения применяются автоматические приборы с фотоэлектрической регистрацией. Практически всегда при количественном анализе анизотропии требуется сопоставить оптические свойства среды для двух ортогональных поляризаций - линейных, если измеряется линейный дихроизм или линейное двулучепреломление, и круговых при измерении дихроизма или вращения плоскости поляризации. Это сопоставление в электронной схеме прибора производится на достаточно высокой частоте, удобной для усиления сигнала и подавления шумов. Поэтому поляризационные приборы такого назначения часто включают поляризационный модулятор.
Поляризационные приборы служат для обнаружения и количественного определения степени поляризации частично поляризованного света. Простейшими из них являются полярископы — двулучепреломляющие пластинки, в которых используется интерференция света в сходящихся поляризованных лучах (хроматическая поляризация). Типичный полярископ - полярископ Савара, который состоит из двух склеенных пластинок кристаллического кварца одинаковой толщины d, вырезанных так, что их оптические оси составляют с осью полярископа углы в 45° (пластинка Савара), и жестко связанного с ней анализатора, плоскость поляризации которого направлена под углом 45° к главным сечениям этой пластинки.
Чрезвычайно существенную роль в химических и биофизических исследованиях играет обширный класс приборов, служащий для измерения вращения плоскости поляризации в средах с естественной или наведённой магнитным полем оптической активностью (поляриметры) и дисперсии этого вращения (спектрополяриметры). Относительно простыми, но практически очень важными являются сахариметры - приборы для измерения содержания сахаров и некоторых других оптически активных веществ в растворах.
Самые точные из полярископов позволяют обнаружить примесь поляризованного света к естественному, составляющую доли процента.
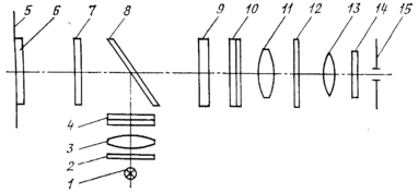
В качестве примера рассмотрим один из простейших круговых поляриметров - поляриметр СМ-3, который предназначен для определения угла поворота плоскости поляризации в жидких оптически активных веществах (его оптическая схема показана на рисунке 2.9).
Рисунок 2.9 - Опическая схема поляриметра СМ-3 (пояснения в тексте)
Осветитель 1 (лампа накаливания или натриевая лампа ДНаО140) устанавливается в фокальной плоскости оптической системы 8. В конструкции узла осветителя предусмотрены подвижки для установки нити накала лампы на оптической оси. При работе с лампой накаливания перед оптической системой 3 вводится желтый светофильтр 2. Параллельный монохроматический пучок лучей, выходящий из системы 3, проходит через поляризатор 4 (поляроид, заклеенный между двумя стеклами), кварцевую пластинку 5, создающую совместно с поляроидом полутеневую картину с тройным полем зрения, и кварцевую кювету 6 с исследуемым раствором. Обычно длина кюветы выбирается такой, чтобы концентрации 10-3 кг/см3 соответствовал угол поворота плоскости поляризации j=1. После кюветы расположен анализатор 7, аналогичный поляризатору 4, и телескопическая система, состоящая из объектива 10 и окуляра 11, через который ведется наблюдение при уравнивании освещенностей частей поля зрения. Отсчет осуществляется по градусной шкале 8 неподвижного лимба (с оцифровкой от 0 до 360) с помощью двух диаметрально противоположных нониусов 9 (шкалы нониусов имеют по 20 делений; цена одного деления 0,05). Из показаний двух нониусов берут среднее значение (для учета эксцентриситета лимба). Отсчет снимается при наблюдении лимба и нониуса через лупы 12.
Достаточно просто устроен полярископ-поляриметр ПКС-56 (рисунок 2.10). Он состоит из источника света 1 (лампа накаливания), матового стекла 2, поляризатора 3 (поляроид, вклеенный между стеклами), четвертьволновой пластинки 5, анализатора 6 и светофильтра 7 (максимум пропускания при 0.54 мкм). Порядок измерения на приборе следующий: скрещивают поляризатор и анализатор (отсчет по лимбу анализатора 0, поле зрения темное); устанавливают образец 4 (если он обладает двойным лучепреломлением, то в поле зрения наблюдается просветление); поворачивают анализатор до максимального потемнения в середине образца; по лимбу отсчитывают угол поворота анализатора.
Рисунок 2.10 - Опическая схема полярископа-поляриметра ПКС-56
(пояснения в тексте)
Определив , можно определить no-ne из соотношения
|
| (1.4) |
где l — толщина образца. При l=10 мм погрешность измерения no-ne составляет 310-7. С увеличением l погрешность уменьшается.
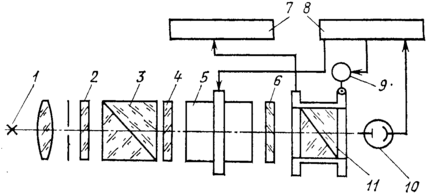
Несколько более сложную схему имеет малогабаритный поляриметр ИГ-86 (рисунок 2.11), предназначенный для визуального исследования напряженного состояния изделий с помощью оптически чувствительных покрытий. Он позволяет наблюдать интерференционную картину в условиях плоской и круговой поляризации и измерять оптическую разность хода как методом сопоставления цветов, так и компенсационным методом.
Рисунок 2.11 - Опическая схема малогабаритныого поляриметра ИГ-86
(пояснения в тексте)
Источник света 1 (лампа СЦ-61) размещен в фокусе объектива 3. Защитные стекла 2, 7 и 12 предохраняют прибор от попадания в него загрязнений. Параллельный пучок лучей проходит поляризационный светофильтр (поляризатор 4), полупрозрачное зеркало 8 и, отразившись от светоделительного слоя, падает на оптически чувствительное покрытие 6, нанесенное на исследуемый объект 5. После отражения от покрытия свет попадает в анализаторный узел прибора, проходит компенсатор 9, анализатор 10 и попадает в зрительную трубу (сменное увеличение 2 и 10) со шкалой в совмещенной фокальной плоскости объектива 11 и окуляра 13. Перед глазной линзой окуляра и выходным зрачком 15 устанавливается светофильтр 14. Такая оптическая схема получила наименование Т-образной схемы. Предел измерения оптической разности хода - от 0 до 5 интерференционных порядков. Погрешность измерения - 0.05 интерференционных порядков.
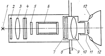
Схема типичного фотоэлектрического модуляционного поляриметра, позволяющего измерять меняющуюся во времени разность фаз о- и е-лучей, показана на рисунке 2.12.
Рисунок 2.12 - Опическая схема фотоэлектрическиого модуляционного поляриметра
(пояснения в тексте)
Лучистый поток источника света 1 сверхвысокого давления проходит через иитерференционный светофильтр 2, поляризатор 3 и исследуемый объект 4, ориентированный так, что направления колебаний в о- и е-лучах составляют углы /4 с направлением колебаний в луче, вышедшем из поляризатора. Выходящий из объекта 4 эллиптически поляризованный свет попадает на пластину 5, изготовленную из одноосного кристалла (например, кристалла ADP - дигидрофосфата аммония NH4H2PO4, вырезанную так, что ее плоскости перпендикулярны оптической оси) позволяющего реализовать эффект Поккельса и обеспечить модуляцию проходящего светового потока. При приложении к пластине 5 переменного электрического напряжения в направлении, параллельном оси лучистого потока и оптической оси кристалла, последний становится двухосным. Новые оптические оси образуют симметричные углы /4 с прежним направлением оси, а проходящий через нее свет претерпевает двойное лучепреломление. Возникающая при этом разность фаз пропорциональна напряжению электрического поля и не зависит от толщины пластины 5. В связи с возникающей переменной разностью фаз эллиптически поляризованный свет периодически меняет форму эллипса поляризации. В результате на выходе компенсатора 6 плоскость линейно поляризованного света колеблется относительно среднего положения. После анализатора 11 модулированный поток света попадает на фотодетектор 10, сигнал с которого с основной частотой, соответствующей первой гармонике, поступает в усилитель 8 и приводит в действие сервомотор 9, поворачивающий анализатор 1l до тех пор, пока первая гармоника присутствует в сигнале. Остановка соответствует положению анализатора, при котором на фотодетектор падает минимальный поток излучения. Регистрирующее устройство 7 (например, самописец) фиксирует углы поворота анализатора, причем измеряемая разность фаз равна удвоенному углу поворота анализатора.
3. Методические указания к выполнению лабораторной работы
“Поляриметрическое определение концентрации вещества
в растворе. Проверка закона Био при разных длинах волн”
Цель работы: Изучение принципа работы поляриметра. Определение концентрации оптически активного вещества в растворе. Экспериментальная проверка закона Био на разных длинах волн.
Краткая теория
| Рисунок 1 – “Мгновенный портрет” электромагнитной волны. | Световые волны представляют собой поперечные электромагнитные волны. В такой волне вектор напряженности электрического поля E перпендикулярен вектору напряженности магнитного поля H и направлению распространения волны r (рисунок 1). Плоскость, содержащую луч и электрический вектор, называют плоскостью колеба- |
ний, а плоскость, содержащую луч и магнитный вектор - плоскостью поляризации. Плоскополяризованный свет можно получить из естественного света с помощью приборов, называемых поляризаторами. Эти приборы свободно пропускают колебания, параллельные плоскости, которую называют плоскостью поляризатора, и полностью задерживают колебания, перпендикулярные к этой плоскости.
| Рисунок 2 - Прохождение плоскополяризованного света через поляризатор П | Если пропустить через поляризатор П плоскополяризованный свет так, чтобы плоскость колебаний вектора Е составляла с плоскостью поляризатора ААугол j (рисунок 2), то через него пройдет только параллельная составляющую Е вектора Е. Амплитуда прошедших через поляризатор колебаний будет равна Е=Еcosj (1) |
На практике измеряют обычно интенсивность, а не амплитуду. Интенсивность пропорциональна квадрату амплитуды, тогда для прошедшей через поляризатор интенсивности I можно записать
| I=I0cos2. | (2) |
Соотношение (2) носит название закона Малюса.














