electrodyn (732201)
Текст из файла
Министерство науки и образования Украины
Днепропетровский Национальный Университет
Радиофизический факультет
Кафедра физики СВЧ
Реферат по курсу
электродинамики:
“Система уравнений Максвелла в сплошной среде.
Граничные условия”
Выполнил:
Студент
группы РЭ–01-1 А. Л. Бузмаков
Проверил:
Доцент
Кафедры оптоэлектроники
Физического ф-та: В. Д. Гладуш
Днепропетровск 2003
Содержание
-
Уравнения Максвелла в дифференциальной и интегральной форме.
-
Граничные условия.
-
Уравнения Максвелла в системе уравнений магнитостатики и электростатики.
-
Пример.
-
Приложение.
-
Формула Остроградского-Гаусса.
-
Формула Стокса.
-
Список используемой литературы.
1. Уравнения Максвелла в дифференциальной и интегральной форме
Система уравнений, состоящая из уравнений Максвелла для электромагнитного поля и уравнений Ньютона для частиц, представляет собой единую систему уравнений, описывающую все явления, обусловленные электромагнитным взаимодействием (без учёта релятивистских и квантовых эффектов). Поэтому, строго говоря, их необходимо решать совместно в задачах электродинамики. Однако в такой наиболее общей постановке решать задачи о взаимодействии электромагнитного поля с веществом чрезвычайно трудно. Сложность проблемы заключается в том, что вещество состоит из громадного количества частиц, движение которых каждой в отдельности невозможно описать. С такой проблемой сталкиваются в классической механике при попытках описать механическое движение газов, жидкостей и твёрдых тел. Чтобы обойти эту трудность физикам приходилось строить определённые модели механических систем: модель абсолютно твёрдого тела, модель сплошной среды и др. При изучении взаимодействия заряженных частиц с электромагнитным полем также приходится вводить некоторые модели. Одной из таких широко употребляемых, является модель сплошной среды, состоящая из электрических диполей (диэлектрик). Эта модель электрического диполя играет очень важную роль в физике, так как атомы и молекулы представляют собой системы заряженных частиц, которые в целом нейтральны, но могут обладать отличным от нуля дипольным моментом и поэтому создавать электрическое поле.
Открытие тока смещения позволило Максвеллу создать единую теорию электрических и магнитных явлений. Эта теория объяснила все известные в то время экспериментальные факты и предсказала ряд новых явлений, существование которых подтвердилось впоследствии. Основным следствием теории Максвелла был вывод о существовании электромагнитных волн, распространяющихся со скоростью света.
Основу теории образуют уравнения Максвелла. В учении об электромагнетизме эти уравнения играют такую же роль, как законы Ньютона в механике или основные законы (начала) в термодинамике. Ниже приведена полная система уравнений Максвелла классической электродинамики в сплошной среде.
Первую пару уравнений Максвелла образуют уравнения:
Здесь вектор
- вектор напряжённости электрического поля,
- вектор индукции магнитного поля.
Первое из этих уравнений связывает значение
с изменениями вектора
во времени и является по существу выражением закона электромагнитной индукции. Оно показывает, что источником вихревого поля вектора
является меняющееся со временем вихревое магнитное поле. Второе уравнение указывает на отсутствие источников магнитного поля, т.е. магнитных зарядов, как в вакууме, так и в намагниченном веществе.
Вторую пару уравнений Максвелла образуют уравнения:
Где
- вектор электрического смещения,
- напряжённость магнитного поля,
- намагниченность вещества,
- поляризованность,
- вектор плотности тока,
- объёмная плотность заряда.
Первое уравнение устанавливает связь между токами проводимости и токами смещения, и порождаемым ими магнитным полем. Второе показывает, что источниками вектора
служат сторонние заряды.
Вышеперечисленные уравнения представляют собой дифференциальную форму уравнений Максвелла. Можно отметить, что в первую пару уравнений входят только основные характеристики поля -
и
. Во второй паре фигурируют только вспомогательные величины
и
.
Можно отметить, что вид уравнений (2) и (4) не зависит от наличия среды, в то время как векторы
и
, а также величины
и
, входящие в уравнения (3) и (4), зависят от свойств вещества и условий, в которых оно находится. Любое макроскопическое тело, рассматриваемое как сплошная среда, состоит из заряженных частиц – электронов и ядер, обладающих также и магнитными моментами, и поэтому взаимодействующих с электромагнитным полем, являясь в то же время и его источниками. Таким образом, величины
,
,
и
следует определять, исходя из электрических и магнитных свойств вещества.
Выводя формулу (1), Максвелл предположил, что изменяющегося со временем магнитное поле обусловливает появление в пространстве поля
, независимо от присутствия в пространстве проволочного контура. Наличие контура лишь позволяет обнаружить по возникновению в нем индукционного тока существование в соответствующих точках пространства электрического поля.
Рассмотрим случай электромагнитной индукции, когда проволочный контур, в котором индуцируется ток, неподвижен, а изменения магнитного потока обусловлены изменениями магнитного поля. Возникновение индукционного тока свидетельствует о том, что изменения магнитного поля вызывают появление в контуре сторонних сил, действующих на носители тока. Эти сторонние силы не связаны ни с химическими, ни с тепловыми процессами в проводе; они также не могут быть магнитными силами, потому что такие силы над зарядами работы не совершают. Остаётся заключить, что индукционный ток обусловлен возникающим в проводе электрическим полем. Обозначим напряжённость этого поля
(это обозначение является вспомогательным так же как и
). Электродвижущая сила равна циркуляции вектора
по данному контуру:
Подстановка в формулу
выражения (1.1) для
и выражения
для
приводит к соотношению
(интеграл в правой части берётся по произвольной поверхности, опирающейся на контур). Поскольку контур и поверхность неподвижны, операции дифференцирования по времени и по поверхности можно поменять местами:
В связи с тем, что вектор
зависит, вообще говоря, как от времени, так и от координат, то можно написать под знаком интеграла символ частной производной по времени (интеграл
является функцией только времени).
Левую часть равенства (1.2) преобразуем по теореме Стокса. В результате получится:
Ввиду произвольности выбора поверхности интегрирования должно выполняться равенство
Ротор поля
в каждой точке пространства равен взятой с обратным знаком производной по времени от вектора
.
Это поле
, порождающееся изменением магнитного поля, существенно отличается от порождаемого электрическими зарядами электрического поля
. Электростатическое поле потенциально, его линии начинаются и заканчиваются на зарядах. Ротор вектора
в любой
точке равен нулю:
Согласно (1.2) ротор вектора
отличен от нуля. Следовательно, поле
так же, как и магнитное является вихревым. Линии напряжённости
замкнуты.
Таким образом, электрическое поле может быть как потенциальным (
) так и вихревым (
). В общем случае электрическое поле слагается из этих двух полей. Сложив вместе
и
, получим следующее уравнение:
Существование взаимосвязи между электрическим и магнитным полями служит причиной того, что раздельное рассмотрение электрического и магнитного полей имеет лишь относительный смысл. Действительно, электростатическое поле создаётся системой неподвижных зарядов в одной системе координат, однако они могут двигаться относительно другой инерциальной системы отсчёта и тогда они будут во второй системе подвижными, следовательно, будут создавать магнитное поле. Таким образом, поле, которое относительно некоторой системы отсчёта оказывается «чисто» электрическим или «чисто» магнитным, относительно других систем отсчёта будет представлять собой совокупность электрического и магнитных полей, образующих единое электромагнитное поле.
Выводя формулу (3), Максвелл пересмотрел уравнения для ротора вектора
для случая стационарного (не изменяющегося со временем) электромагнитного поля, где ротор вектора
равен в каждой точке плотности тока проводимости:
где вектор
связан с плотностью заряда в той же точке уравнением непрерывности:
Электромагнитное поле может быть стационарным лишь при условии, что плотность заряда
и плотность тока
не зависят от времени. В этом случае согласно (3.2) дивергенция
равна нулю.
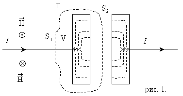
Поэтому можно выяснить, является ли справедливым уравнение (3.2) справедливым в случае изменяющихся со временем полей. Рассмотрим магнитное поле, создаваемое током, текущим при зарядке конденсатора от источника постоянного напряжения U (рис. 1).
Э
тот ток непостоянен во времени (в момент, когда напряжение на конденсаторе становится равным U, ток прекращается). Линии тока проводимости терпят разрыв в промежутке между обкладками конденсатора.
Возьмём круговой контур Г, охватывающий провод, по которому течёт ток к конденсатору, и проинтегрируем соотношение (3.1) по пересекающеё провод поверхности S1, ограниченной контуром:
Характеристики
Тип файла документ
Документы такого типа открываются такими программами, как Microsoft Office Word на компьютерах Windows, Apple Pages на компьютерах Mac, Open Office - бесплатная альтернатива на различных платформах, в том числе Linux. Наиболее простым и современным решением будут Google документы, так как открываются онлайн без скачивания прямо в браузере на любой платформе. Существуют российские качественные аналоги, например от Яндекса.
Будьте внимательны на мобильных устройствах, так как там используются упрощённый функционал даже в официальном приложении от Microsoft, поэтому для просмотра скачивайте PDF-версию. А если нужно редактировать файл, то используйте оригинальный файл.
Файлы такого типа обычно разбиты на страницы, а текст может быть форматированным (жирный, курсив, выбор шрифта, таблицы и т.п.), а также в него можно добавлять изображения. Формат идеально подходит для рефератов, докладов и РПЗ курсовых проектов, которые необходимо распечатать. Кстати перед печатью также сохраняйте файл в PDF, так как принтер может начудить со шрифтами.
















