om_ta_ev_referat_moy_redaktirowaniy (731921)
Текст из файла
15
Министерство образования Украины
Запорожский государственный технический университет
Кафедра ЕПА
Выполнил студент группы Э-219 Шило С.И.
Принял Андрияс И.А.
2000
Содержание
-
Общие сведения о магнитных измерениях
-
Определение задач магнитных измерений
-
Магнитные величины и их основные характеристики
-
Электродинамический логометр
-
Принципы построения приборов и способы измерения магнитного потока, магнитной индукции и напряженности магнитного поля
-
Применение баллистического гальванометра
-
Флюксметр
-
Пермеаметры
-
Исследование стали в переменном магнитном поле
-
Осциллографирование кривой гистерезиса.
Список использованной литературы
Введение
Задачи магнитных измерений. Область электроизмерительной техники, которая занимается измерениями магнитных величин, обычно называют магнитными измерениями. С помощью методов и аппаратуры магнитных измерений решаются в настоящее время самые разнообразные задачи. В качестве основных из них можно назвать следующие:
-
измерение магнитных величин (магнитной индукции, магнитного потока, магнитного момента и т. д.);
-
определение характеристик магнитных материалов;
-
исследование электромагнитных механизмов;
-
измерение магнитного поля Земли и других планет;
-
изучение физико-химических свойств материалов (магнитный анализ);
-
исследование магнитных свойств атома и атомного ядра; определение дефектов в материалах и изделиях (магнитная дефектоскопия) и т. д.
Несмотря на разнообразие задач, решаемых с помощью магнитных измерений, определяются обычно всего несколько основных магнитных величин: магнитный поток Ф, магнитная индукция В, напряженность магнитного поля H, намагниченность М, магнитный момент т и др. Причем во многих способах измерения магнитных величин фактически измеряется не магнитная, а электрическая величина, в которую магнитная величина преобразуется в процессе измерения. Интересующая нас магнитная величина определяется расчетным путем на основании известных зависимостей между магнитными и электрическими величинами. Теоретической основой подобных методов является второе уравнение Максвелла, связывающее магнитное поле с полем электрическим; эти поля являются двумя проявлениями особого вида материи, именуемого электромагнитным полем.
Используются в магнитных измерениях и другие (не только электрические) проявления магнитного поля, например механические, оптические.
Настоящая глава знакомит читателя лишь с некоторыми способами определения основных магнитных величин и характеристик магнитных материалов.
Меры магнитных величин. Единицы магнитных величин воспроизводятся с помощью соответствующих эталонов. У нас в стране имеется первичный эталон магнитной индукции и первичный эталон магнитного потока. Для передачи размера единиц магнитных величин от первичных эталонов рабочим средствам измерений используют рабочие эталоны, образцовые и рабочие меры магнитных величин и образцовые средства измерений. Примером передачи размера единиц может служить градуировка или поверка приборов для измерения магнитных величин, которая проводится с помощью мер магнитных величин и образцовых средств измерений.
В качестве меры магнитной индукции (напряженности магнитного поля) могут быть использованы катушки специальной конструкции (например, кольца Гельмгольца, соленоид), по обмоткам которых протекает постоянный ток, постоянные магниты.
В качестве меры магнитного потока обычно используют взаимоиндуктивную меру магнитного потока, состоящую из двух гальванически не связанных между собой обмоток и воспроизводящую магнитный поток, сцепляющийся с одной из обмоток, когда по другой обмотке протекает электрический ток.
Принципы построения приборов и способы измерения магнитного потока, магнитной индукции и напряженности магнитного поля
Принципы построения приборов для измерения магнитных величин. В настоящее время известно много разнообразных приборов и способов для измерения магнитной индукции, магнитного потока и напряженности магнитного поля. Как правило, прибор для измерения магнитных величин состоит из двух частей — измерительного преобразователя, назначением которого является преобразование магнитной величины в величину иного вида (электрическую, механическую), более удобную для дальнейших операций, и измерительного устройства для измерения выходной величины измерительного преобразователя.
Измерительные преобразователи, входной величиной которых является магнитная величина, называют магнитоизмерительными и в соответствии с видом выходной величины делят на три основные группы: магнитоэлектрические преобразователи (выходная величина электрическая), магнитомеханические (выходная величина механическая) и магнитооптические (выходная величина оптическая).
В каждой из этих групп много разновидностей преобразователей, основой для создания которых служат те или иные физические явления. В качестве основных, наиболее широко используемых явлений могут быть названы следующие:
-
явление электромагнитной индукции;
-
силовое взаимодействие измеряемого магнитного поля с полем постоянного магнита или контура с током;
-
гальваномагнитные явления;
-
явление изменения магнитных свойств материалов в магнитном поле;
-
явления, возникающие при взаимодействии микрочастиц с магнитным полем.
Вторая часть прибора для измерения магнитных величин может быть либо обычным прибором для измерения электрической величины, либо прибором со специальными характеристиками.
1. Применение баллистического гальванометра
В лабораторной практике при исследованиях электрических машин, аппаратов, трансформаторов, при испытаниях магнитных материалов, применяемых в производстве на электротехнических заводах, часто возникает необходимость измерения магнитных величин, как то: магнитного потока, магнитной индукции, магнитодвижущей силы, напряженности магнитного поля, магнитной проницаемости, а также потерь на гистерезис и вихревые токи в ферромагнитных материалах.
В
большинстве случаев магнитные величины измеряют косвенным методом — путем измерения тех или иных электрических величин (тока, э.д.с., количества электричества), функционально связанных с измеряемой магнитной величиной. Измерения магнитных величин в настоящее время составляют большой самостоятельный раздел измерительной техники с глубоко развитой теорией.
Некоторые методы и аппаратуру для магнитных измерений используют не только в лабораториях, специализированных в области магнитных измерений, но также и в более универсальных лабораториях, занимающихся испытаниями и исследованиями электрических машин и аппаратов. К числу широко распространенных магнитных измерений относятся:
а) измерения при помощи баллистического гальванометра;
б) измерения с помощью флюксметра;
в) определение потерь в стали ваттметровым методом;
г
Рис. 1. Схема, поясняющая принцип измерения магнитного потока при помощи баллистического гальванометра
) измерения переменных магнитных потоков при помощи потенциометра.На рис.1 приведена схема, поясняющая общий принцип измерения постоянного магнитного потока с помощью баллистического гальванометра. Для измерения магнитного потока к гальванометру необходимо присоединить измерительную рамку с некоторым числом витков w, находящуюся в исследуемом постоянном магнитном поле. Витки рамки будут охватывать некоторый поток Фх.
В основу действия данного прибора положен принцип, согласно с которым первый наибольший отброс указателя баллистического гальванометра пропорционален числу потокосцеплений магнитного потока с витками измерительной рамки.
Н
Рис. 2. Схема испытания кольцевой пробы стали при помощи баллистического гальванометра
Напряженность магнитного поля внутри кольцевого соленоида (тороида) может быть подсчитана на основании закона полного тока по формулам:
где wi — число витков намагничивающей обмотки;
l — значение тока, A;
lср — средняя длина силовой магнитной линии в тороиде, отмеченная на рис. 2 пунктиром и легко вычисляемая по геометрическим размерам испытуемого образца.
Для определения зависимости B=f(H) в намагничивающей обмотке устанавливают ток, соответствующий заданному значению H и заранее подсчитанный по приведенной формуле, затем быстро изменяют направление тока в обмотке при помощи переключателя 5. При перемене направления тока магнитный поток в сердечнике изменится по некоторому сложному закону от значения +Ф до значения —Ф, т. е. изменение потока в измерительной рамке будет равно 2Ф, и с учетом этого подсчитывают поток в сердечнике:
Зная поток и поперечное сечение испытуемого образца, находят значение магнитной индукции
где s — сечение образца, см2.
Найденное значение В и ранее вычисленное значение Н позволяют подсчитать магнитную проницаемость
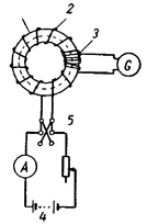
2. Флюксметр
Весьма удобным прибором для измерения постоянного магнитного потока является флюксметр, называемый иногда веберметром или милливеберметром.
Флюксметр представляет собой прибор магнитоэлектрической системы, в котором подвод тока к подвижной рамке осуществляется не через пружинки, а через безмоментные спирали, т. е. в его измерительном механизме отсутствует противодействующий момент. Вследствие этого указатель флюксметра при отсутствии тока в обмотке рамки может занимать любое положение относительно шкалы.
Рис. 3. Схема устройства и применения флюксметра
люксметр, как и большинство гальванометров магнитоэлектрической системы, имеет бескаркасную рамку, однако он рассчитывается так, чтобы при внешнем сопротивлении, меньшем 20 ом, подвижная часть оказывалась в режиме переуспокоения. Как и у баллистического гальванометра, подвижная часть флюксметра выполняется со сравнительно большим моментом инерции.На рис. 3 приведена схема, поясняющая процесс измерения магнитного потока при помощи флюксметра. Для измерения магнитного потока, например постоянного магнита 1, к зажимам флюксметра присоединяется измерительная рамка 2, состоящая из достаточного количества витков медной проволоки. Если эту рамку надеть на испытуемый магнит так, как это показано на рис. 12.3, то во время перемещения рамки 2 в ней будет наводиться э.д.с., создающая ток в цепи прибора. Под действием этого тока подвижная рамка 3 прибора начнет поворачиваться. После того как измерительная рамка 2 будет приведена в положение, показанное на рис 3, и остановлена, э.д.с., действовавшая в ней, исчезнет, но рамка 3 по инерции будет еще немного продолжать двигаться. Переместившись на некоторый угол a от начального положения, рамка 3 остановится.
Теория флюксметра показывает, что движение рамки прекращается после того, как число потокосцеплений витков рамки 3 с потоком магнита 4 изменится на столько же, сколько создалось потокосцеплений измерительной рамки 2 с измеряемым потоком Ф.
Если успокоение прибора достаточно велико, для чего сопротивление цепи рамки не должно превышать некоторый определенный для данной конструкции предел (обычно 8—20 Oм), то между углом поворота стрелки флюксметра и измеряемым магнитным потоком будет иметь место простая зависимость
где Ф – измеряемый поток;
Характеристики
Тип файла документ
Документы такого типа открываются такими программами, как Microsoft Office Word на компьютерах Windows, Apple Pages на компьютерах Mac, Open Office - бесплатная альтернатива на различных платформах, в том числе Linux. Наиболее простым и современным решением будут Google документы, так как открываются онлайн без скачивания прямо в браузере на любой платформе. Существуют российские качественные аналоги, например от Яндекса.
Будьте внимательны на мобильных устройствах, так как там используются упрощённый функционал даже в официальном приложении от Microsoft, поэтому для просмотра скачивайте PDF-версию. А если нужно редактировать файл, то используйте оригинальный файл.
Файлы такого типа обычно разбиты на страницы, а текст может быть форматированным (жирный, курсив, выбор шрифта, таблицы и т.п.), а также в него можно добавлять изображения. Формат идеально подходит для рефератов, докладов и РПЗ курсовых проектов, которые необходимо распечатать. Кстати перед печатью также сохраняйте файл в PDF, так как принтер может начудить со шрифтами.













