lasers (731883), страница 4
Текст из файла (страница 4)
Рис. 3.1. Схема управления синхронным поворотом
дифракционной решетки и внутрирезонаторного эталона
За базовую модель был взят широко используемый в установках по лазерной ступенчатой резонансной фотоионизации атомов серийный импульсный лазер на красителях ЛЖИ-504 с накачкой импульсно-периодическим лазером на парах меди «Криостат-1», в котором перестраиваемый вручную синусный механизм поворота дифракционной решетки был заменен ЭДП. Аналогичный привод управлял поворотом внутрирезонаторного плоского эталона Фабри-Перо, для чего сердечники дифференциального индуктивного датчика положения и линейного микродвигателя магнитоэлектрического типа жестко крепились к приводному рычагу кольца, в котором закреплялся серийный кварцевый интерферометр ИФП-2 с воздушным зазором 2 мм или внутренний эталон из комплекта ЛЖИ-504. Лазер обеспечивал ширину линии излучения 0,04 см-1.
Сигналы с датчиков положения обрабатывались автоматическими регулирующими устройствами РУ ЭДПР и РУ ЭДПЭ, управляющий сигнал с которых поступал на обмотки микродвигателей для поворота элементов. Регулирующие устройства были идентичны и выполнены в стандарте КАМАК размером ЗМ.
Программный генератор и ФБ конструктивно выполнены в едином модуле КАМАК также размером ЗМ. Формируемое на выходе ПГ напряжение Uy пилообразной формы имеет максимальную амплитуду 5 В и может уменьшаться с шагом 0,5 В. Длительность нарастания напряжения может изменяться от 18 с до 30 мин с шагом 1/99 максимального значения. Выбранные диапазоны амплитуды (0—9) и длительности (0—99) управляющего напряжения указываются на цифровом табло (на лицевой панели модуля).
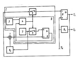
Рис. 3.2.Структурная схема ФБ
Функциональный блок (рис. 3.2) состоит из сумматора аналоговых сигналов 1, аналогового умножителя I и инвертора. Аналоговый умножитель двухквадрантного типа выполнен по схеме с широтно-импульсным преобразователем. Он включает в себя: ключи 2 и 5, генератор треугольного напряжения 3, компаратор 4, усилитель 6 и источник опорного напряжения 7. Цепь 6—5—7 обеспечивает стабилизацию широтно-импульсного модулятора II, выполненного на элементах 4 и 3. Усилитель 8 осуществляет инверсию схемы, включенной в его обратную связь, реализуя тем самым решение уравнения (3.1);
R1 и R2 — переменные резисторы, с помощью которых устанавливаются соответствующие коэффициенты k1 и k2 обеспечивающие в зависимости от начального положения эталона оптимальную функциональную связь между Up и Uэ, по минимуму отклонения максимума пропускания эталона от частоты, заданной положением дифракционной решетки.
Характеристики лазера изучались с помощью стабилизированного по температуре внешнего конфокального эталона Фабри — Перо с областью свободной дисперсии 0,125 см-1 и резкостью 30. Электронные устройства ЭДП осуществляли плавную синхронную перестройку элементов, обеспечивая скорость сканирования длины волны от 0,1 до 0,001 см-1/с. В диапазоне автоматического непрерывного сканирования длины волны до 2 см-1 нелинейность характеристики составляет 0,5—2 % и зависит от начального положения внутрирезо-наторного эталона. Максимальный диапазон синхронного сканирования решетки и эталона (без срыва синхронизации) 3 см-1. Воспроизводимость длины волны такого лазера составляет 5•10-3 см-1 на интервале работы 4 ч и полностью определяется характеристиками внутрирезонаторного эталона.
Описанный узкополосный лазер на красителях на базе ЭДП поворота дисперсионных элементов с управлением от ЭВМ был с успехом использован в ядерно-оптических экспериментах на установке ИСАН и ЛИЯФ.
Заключение
В настоящее время наряду с исследованиями по нелинейной оптике продолжаются работы и над созданием лазеров совершенно новых типов. Одно из важных направлений исследования — получение когерентной генерации длинноволнового рентгеновского излучения (=10-910-10 м).
Существуют два основных препятствия на пути создания рентгеновских лазеров: практически отсутствуют отражатели, пригодные для резонаторов в области длинноволнового рентгеновского излучения, и, кроме того, растут трудности, связанные с осуществлением накачки, и с уменьшением длины волны. Так как любое твердое тело поглощает рентгеновское излучение, невозможно для создания обратной связи применить обычные лазерные резонаторы. Мало надежды на то, что удастся создать резонатор с замкнутой траекторией луча, отклоняя излучение с помощью нескольких скользящих отражений от кристаллов. Таким образом, источники когерентного рентгеновского излучения, вероятно, будут усилителями, а не генераторами.
Другая серьезная проблема заключается в трудности накачки таких лазеров. Она возникает вследствие крайне короткого времени жизни рентгеновских переходов (10-15 с). Поддержание инверсной населенности требует мощностей накачки порядка ватта на атом. Становятся доступными системы накачки, использующие пикосекундные импульсы на выходе системы. Такая система состоит из задающего генератора и каскадов усиления и может давать импульсную выходную мощность излучения порядка 1012 Вт. Кроме того, следует отметить накачиваемые электронным пучком системы на эксимерах. Если удастся создать рентгеновский лазер, его можно будет использовать для радиографии с малыми длительностями экспозиции просвечивания плотных газов при высоких температурах и получения голограмм микрообъектов.
Выдвинуты предложения и проведены предварительные исследования возможности создания гразеров (гамма-лазеров) с рабочей длиной волны примерно 0,1 нм. Такие приборы, работая без зеркал, могли бы использовать возбужденные состояния ядер для получения стимулированного излучения.
Какую наиболее короткую длину волны лазера можно получить? Единственное принципиальное ограничение связано с образованием электрон-позитронных пар. Лазер, работающий на пороговой (с точки зрения образования пар) частоте, имел бы длину волны 1,2 *10-12 м. Сравнивая частоту такого лазера с частотой мазера на аммиаке (24 ГГц), видим, что устройства, использующие усиление с помощью вынужденного излучения, могли бы работать в диапазоне, охватывающем десять порядков по частоте.
Список литературы:
-
Д. О’Шиа, Р. Колден, У. Родс, «Лазерная техника», Москва Атомиздат, 1980 г.
-
«Квантовая электроника», №5, 1989г.
-
«Квантовая электроника», №6, 1989г.
18















