lasers (731883), страница 2
Текст из файла (страница 2)
На рис. 1.4 показаны сопло и коллектор, который собирает раствор для возвращения его в систему циркуляции. Чтобы возник ламинарный режим истечения из сопла, в качестве растворителя часто используют этиленгликоль, т.е. вещество с очень высокой вязкостью (этиленгликоль известен также как основной компонент большинства антифризов).
Рис. 1.4. Фотография сопла лазера с ламинарным потоком красителя и коллектора.
1 – лазерное излучение накачки; 2 – область потока красителя; 3 – патрубок для сбора раствора красителя; 4 – сопло; 5 – шланг для подачи раствора красителя.
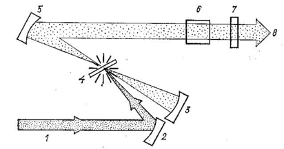
Полная геометрия системы схематически показана на рис. 1.5. Пучок излучения лазера накачки фокусируется в объем струи красителя, где практически полностью поглощается. Свет накачки, прошедший сквозь струю, поглощается специальной ловушкой. Стимулированное излучение ограничено лишь малым объемом накачки; оптическая ось резонатора составляет небольшой угол с направлением накачки. Резонатор имеет два участка; первый из них состоит из «глухого» зеркала со 100%-ным отражением и дополнительного зеркала. Ось этого участка ориентирована под углом к накачивающему пучку. Второй участок, составленный дополнительным зеркалом и выходным зеркалом (с пропусканием 2—5%), имеет ось, параллельную направлению накачки. Помимо удобств в работе, которые предоставляет параллельность выходного излучения лазера направлению накачки, такой трехзеркальный резонатор имеет большую длину. Это приводит к уменьшению частотного интервала между продольными модами, увеличению числа мод в пределах ширины кривой усиления и повышению выходной мощности излучения по сравнению с более коротким двухзеркальным резонатором.
Рис. 1.5. Схематическое изображение лазера на красителях с ламинарным потоком.
Резонатор образован отражателем 3 (с радиусом кривизны r=5 см и коэффициентом отражения R=100%) и плоским выходным зеркалом 7 (R=95-98%). Вспомогательное зеркало 5 (r - 7,5 см, R=100%) служит для уменьшения габаритов резонатора и обеспечивает параллельность лазерного излучения 8 на выходе и излучения накачки 1, направляемого в объем поворотным зеркалом 2. Поток красителя 4 направлен перпендикулярно к плоскости рисунка и расположен под углом Брюстера к излучению накачки. Длины волн перестраиваются селектирующим элементом 6.
1.3. Непрерывная перестройка частоты излучения
Перестройка частоты лазерного излучения осуществляется с помощью частотно-селективных элементов типа призменного устройства. В некоторых случаях для увеличения дисперсии используют систему из нескольких призм, работающих вблизи угла Брюстера. Иногда коэффициент усиления красителя бывает настолько высок, что роль диспергирующего элемента (и одновременно «глухого» зеркала) может выполнять дифракционная решетка. Если нормаль к поверхности решетки составляет угол
с оптической осью резонатора, то в обратном направлении распространяется излучение в узком спектральном диапазоне вблизи длины волны, удовлетворяющей условию
где m — целое число (работа обычно ведется в первом порядке, т. е. т=1); d — период решетки. Излучение с другими длинами волн не возвращается в резонатор и испытывает большие потери. Рабочую длину волны можно изменить простым поворотом решетки.
Имеется ряд других частотно-селективных элементов, которые можно помещать в резонатор лазера на красителях. Одним из таких элементов является используемый в промышленных приборах так называемый клиновой фильтр. Этот фильтр состоит из слоя диэлектрического материала в форме клина, на который с двух сторон нанесены слои, образующие зеркала с высоким коэффициентом отражения. Таким образом, фильтр представляет собой эталон Фабри-Перо с переменным по высоте расстоянием между зеркалами. Передвижение клина в направлении, перпендикулярном к оптической оси резонатора, вызывает изменение длины волны, соответствующей максимуму пропускания фильтра. Уменьшенные потери на этой длине волны позволяют осуществить генерацию излучения. Однако ширина линии лазерного излучения при таком методе селекции может оказаться слишком большой для ряда приложений. Поэтому для дальнейшего сужения линий генерации в резонатор помещают один (или более) плоскопараллельный эталон Фабри-Перо, подобный применяемому для получения одномодового режима некоторых лазеров.
Другим устройством, которое можно использовать для плавной перестройки частоты лазеров на красителях, является двоякопреломляющий фильтр, состоящий из нескольких кристаллических кварцевых пластин различной толщины. Пластины эти помещают в лазерный резонатор под углом Брюстера к оси, так что вертикально-поляризованный свет не испытывает потерь на отражение на поверхностях пластин. Как отмечалось ранее, такие условия способствуют усилению в резонаторе света с высокой степенью поляризации. Чтобы понять принцип перестройки с помощью таких пластин, рассмотрим воздействие одной из них на свет в резонаторе. Главные направления кристалла ориентированы так, что пластина является пластинкой в целую волну для вертикально-поляризованного света, если его длина волны в вакууме 0 удовлетворяет условию и (n0 -- nе) = т (где т — целое число, а d — расстояние, проходимое светом в пластине). Для других длин волн вертикально-поляризованный свет после прохождения через пластину станет эллиптически-поляризованным. После отражения от зеркала резонатора этот эллиптически-поляризованный свет испытывает потери при следующем прохождении поверхности кварцевой пластины. Эти потери предотвращают возникновение генерации на длинах волн, заметно отличающихся от тех, для которых кварцевый элемент есть пластинка в целую волну.
Хотя одна тонкая пластина может выделить полосу из области генерации спектральной шириной приблизительно 0,3 нм, это значение велико для большинства приложений. Однако если вторая пластина с удвоенной (по сравнению с первой) толщиной также помещена в резонатор, то ширина линии уменьшается до 0,1 нм. В некоторых приложениях используют третью пластину (вдвое более толстую, чем вторая), чтобы сделать ширину линии меньше 0,03 нм.
Перестройка длины волны выполняется вращением пластин, закрепленных на общем основании, вокруг нормали к поверхности пластин, как это показано на рис. 1.6. Так как пластины наклонены к оптической оси резонатора, вращение приводит к эффективному изменению разности показателей преломления и, следовательно, к изменению выделенной длины волны.
Рис. 1.6. Схематическое изображение двулучепреломляющего фильтра:
N – направление нормали к плоскости пластин; F, S – быстрое и медленное главные направления вращения кристалла соответственно.
Требования техники безопасности при работе с лазером на красителях в основном те же, что и при работе с любым мощным лазером, излучающим в видимой области спектра. Если лазер на красителях покрыт пылью, то могут существовать пучки, распространяющиеся по довольно неожиданным направлениям. Во время юстировки или осмотра лазера следует принять во внимание все возможные направления излучения и позаботиться о том, чтобы заэкранировать их. При работе с лазером на красителях необходимы защитные очки, которые поглощали бы как излучение всех линий азотного лазера накачки, так и излучение лазера на красителе во всем диапазоне перестройки его длины волны. В некоторых случаях таким требованиям могли бы удовлетворить лишь полностью непрозрачные очки.
1.4. Разделение изотопов
Одной из наиболее интересных и важных областей применения лазеров на красителях может оказаться разделение изотопов, особенно изотопов урана. Основными изотопами природного урана являются 235U и 238U, причем 235U содержится менее 1%. Для использования в качестве топлива в атомных реакторах требуется смесь с содержанием по крайней мере 3% 235U. В настоящее время используется газодиффузионный метод разделения изотопов урана — очень дорогой и медленный процесс. Предложенный метод разделения изотопов урана при помощи лазеров на красителях основан на том, что эти лазеры можно очень точно настроить на определенную длину волны. Причем точность их такова, что излучение может селективно возбуждать атомы 235U, не возбуждая при этом атомов 238U. Затем возбужденные атомы 235U ионизуют, что можно сделать с помощью другого (коротковолнового) источника света. Ионы 235U можно отделить затем от нейтральных атомов 238U в электростатическом поле. Хотя технология разделения изотопов урана в промышленных масштабах еще не разработана, эксперименты, проведенные для демонстрации принципиальной возможности разделения, оказались успешными. Для разделения больших количеств изотопов была предложена лазерная система, рассчитанная на работу со средней мощностью 10 Вт при длине волны 500 нм. Частота следования импульсов должна быть порядка 400 Гц при длительности импульса около 1 мкс. Вместо лазеров, работающих в видимой области спектра, некоторые схемы разделения изотопов требуют использования перестраиваемых «инфракрасных» лазеров для осуществления взаимодействия излучения с молекулярными колебаниями в гексафториде урана UF6. Проводятся исследования по созданию широкополосных перестраиваемых источников когерентного излучения в области длин волн от 2 до 20 мкм.
1.5. Расширение спектрального диапазона лазера
Одной из главных задач специалистов, разрабатывающих лазерные устройства, является создание источников когерентного излучения, длину волны которых можно перестраивать во всем спектральном диапазоне от дальней инфракрасной области до ультрафиолета (и еще более коротковолнового излучения). Создание лазера на красителях оказалось исключительно важным событием с этой точки зрения, так как их излучение можно перестраивать в диапазоне длин волн, выходящем за пределы видимой области спектра. Однако имеются существенные «разрывы» в спектре лазерного излучения, т. е. области, в которых известные лазерные переходы редки, а перестройка их частоты возможна лишь в узких спектральных диапазонах. Широкие полосы флуоресценции, на существовании которых основана работа перестраиваемого лазера на красителях, не обнаружены в дальней инфракрасной области спектра, а используемые в лазерах красители быстро разрушаются интенсивным излучением накачки при возбуждении красителя, когда надо получить генерацию в ультрафиолетовой области спектра.
Нелинейная оптика. В поисках способов заполнить эти пробелы многие специалисты по лазерам использовали нелинейные эффекты в некоторых оптических материалах. В 1961 г. исследователи из Мичиганского университета сфокусировали свет рубинового лазера (длина волны 694,3 нм) в кристалл кварца и зарегистрировали в прошедшем кристалл излучении не только сам свет рубинового лазера, но и излучение с удвоенной частотой, т. е. на длине волны 347,2 нм. Хотя это излучение было много слабее, чем на длине волны 694,3 нм, тем не менее это коротковолновое излучение имело характерную для лазерного света монохроматичность и пространственную когерентность. Процесс генерации такого коротковолнового излучения известен как удвоение частоты, или генерация второй гармоники. (ГВГ), и представляет собой один пример из множества нелинейных оптических эффектов, которые использовались для расширения перестраиваемого, спектрального диапазона лазерного излучения.
ГВГ часто применяют для преобразования инфракрасного излучения (=1,06 мкм и другие линии) неодимового лазера в излучение, попадающее в желто-зеленую область спектра (например, =530 нм), в которой можно получить лишь небольшое число интенсивных лазерных линий. Генерацию гармоник можно также использовать для того, чтобы получить излучение с частотой в три раза большей, чем у исходного лазерного излучения. Нелинейные характеристики рубидия и других щелочных металлов применяют, например, для утроения частоты неодимового лазера до значения, соответствующего длине волны 353 нм, т. е. попадающего в ультрафиолетовую область спектра. Теоретически возможны процессы генерации гармоник, более высоких, чем третья, но эффективность такого преобразования крайне низка, поэтому с практической точки зрения они не представляют интереса. Возможность генерации когерентного излучения на новых частотах не ограничивается процессом генерации гармоник. Одним из таких процессов является процесс параметрического усиления, который заключается в следующем. Пусть на нелинейную среду воздействуют три волны: мощная световая волна с частотой 1 (волна накачки) и две слабые световые волны с более низкими частотами 2 и 3. При выполнении условия 1 = 2+3 и условия волнового синхронизма имеет место перекачка энергии мощной волны с частотой 1 в энергию волн с частотами 2 и 3. Если нелинейный кристалл поместить в оптический резонатор, то получим прибор, очень напоминающий лазер и носящий название параметрического генератора. Такой процесс был бы полезен даже в том случае, если бы возможности его использования были ограничены получением разностей частот двух существующих. лазерных источников. Фактически же параметрический генератор является устройством, способным генерировать когерентное оптическое излучение, частоту которого можно перестраивать почти во всем видимом диапазоне. Причина эта заключается в том, что нет необходимости использовать дополнительные источники когерентного излучения на частотах 2 и 3. Колебания эти могут сами возникать в кристалле из шумовых фотонов (тепловых шумов), которые всегда в нем присутствуют. Эти шумовые фотоны имеют широкий спектр частот, расположенный преимущественно в инфракрасной области спектра. При определенной температуре кристалла и ориентации его по отношению к направлению волны накачки и к оси резонатора упомянутое выше условие волнового синхронизма выполняется для определенной пары частот 2 и 3. Для перестройки частоты излучения надо изменить температуру кристалла или его ориентацию. Рабочей частотой может быть любая из двух частот 2 и 3 в зависимости от того, какой диапазон частот излучения прибора нужен. Быструю перестройку частоты в ограниченном спектральном диапазоне можно получить с помощью электрооптического изменения показателей преломления кристалла. Как и в случае лазера, имеется пороговый уровень мощности накачки, который для получения стационарных колебаний следует превысить. В большинстве параметрических генераторов в качестве источника накачки используют лазеры видимого диапазона, такие, как аргоновый лазер, или вторую гармонику неодимового лазера. На выходе прибора получают перестраиваемое излучение инфракрасного диапазона.
2. Одноструйный субпикосекундный лазер
на красителе в режиме самонастройки
Спектроскопические исследования быстрых процессов в сложных органических и биологических молекулах, а также сверхбыстрых процессов в полупроводниках базируются на лазерных источниках, способных генерировать субпикосекундные световые импульсы. Наиболее короткие импульсы получены в кольцевых непрерывных лазерах на красителе (НЛК) со сталкивающимися импульсами в струе насыщающегося поглотителя (НП) при чисто непрерывной накачке с компенсацией чирпа. Однако НЛК такого типа имеют очень низкий КПД, многоэлементную схему резонатора, две струи с независимыми системами прокачки; они исключительно сложны в настройке и эксплуатации. Одноструйные НЛК с линейным резонатором, на наш взгляд, более перспективны для широкого практического применения, поскольку они значительно проще в изготовлении и эксплуатации, обладают хорошими энергетическими (по КПД) и спектральными (по области перестройки) характеристиками и, что самое главное, в режиме комбинированной синхронизации мод позволяют получать световые импульсы длительностью менее 1 пс. В нашей работе исследуются возможности генерации УКИ света предельно малой длительности в таких простейших НЛК.
Обычно длительность УКИ, генерируемых НЛК, ограничивается спектральной полосой лазера, задаваемой внутрирезонаторными селектирующими элементами. Для расширения спектральной полосы лазера (контура усиления) с целью генерации более коротких световых импульсов селектирующий элемент выводится из резонатора. Стабильный режим генерации УКИ достигается путем подбора и оптимизации спектральных характеристик генерирующих красителей и насыщающихся поглотителей.















