147630 (730528), страница 2
Текст из файла (страница 2)
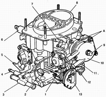
На двигателях 2110 устанавливается карбюратор 21083 1107010 31 (рис. 2-83) эмульсионного типа, двухкамерный, с последовательным открытием дроссельных заслонок.
Рис. 2-83. Внешний вид карбюратора 21083 1107010 31:
1 - ведущий рычаг привода второй камеры;
2 - регулировочный винт количества смеси холостого хода;
3 - блок подогрева карбюратора 21083 1107010 31;
4 - патрубок вентиляции картера двигателя;
5 - рычаг привода ускорительного насоса;
6 - электромагнитный запорный клапан;
7 - рычаг воздушной заслонки;
8 - крышка карбюратора 21083;
9 - болт крепления жидкостной камеры;
10 - корпус жидкостной камеры;
11 - корпус карбюратора 21083 1107010 31;
12 - рычаг дроссельной заслонки второй камеры;
13 - сектор рычага управления дроссельными заслонками;
А - метки правильной установки биметаллической пружины пускового устройства
Карбюратор 21083 1107010 31 имеет сбалансированную поплавковую камеру, систему отвода картерных газов за дроссельную заслонку, подогрев зоны дроссельной заслонки первой камеры. В карбюраторе 21083 1107010 31 имеются две главные дозирующие системы первой и второй камер, система холостого хода первой камеры с переходной системой, переходная система второй камеры, экономайзер мощностных режимов, эконостат, диафрагменный ускорительный насос, полуавтоматическое пусковое устройство. На принудительном холостом ходу включается экономайзер принудительного холостого хода. Тарировочные данные карбюратора 21083 1107010 31 приведены в табл. 2-3.
Таблица 2-3. Тарировочные данные карбюратора 21083 1107010 31
| Параметры | Первая камера | Вторая камера |
| Диаметр смесительной камеры, мм | 32 | 32 |
| Диаметр диффузора, мм | 21 | 23 |
| Главная дозирующая система: |
|
|
| Тип эмульсионной трубки |
|
|
| Система холостого хода и переходные системы: |
|
|
| Эконостат: |
|
|
| Экономайзер мощностных режимов: |
|
|
| Ускорительный насос: |
|
|
| Пусковые зазоры: |
|
|
| Диаметр отверстия игольчатого клапана, мм | 1,8 | |
| Диаметр отверстия перепуск топлива в бак, мм | 0,70 | |
| Диаметр отверстия вентиляции картера двигателя, мм | 1,5 | |
| Уровень топлива в поплавковой камере, мм | 22,5 | |
| Диаметр балансировочных отверстий |
|
|
* Маркировка жиклеров определяется расходом, который замеряется с помощью микроизмерителей. Настройка микроизмерителей осуществляется по эталонным жиклерам.
** Условный расход топливного жиклера определяется по эталонному жиклеру и специальной методике. Контролю в процессе эксплуатации не подлежит.
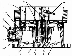
Главная дозирующая система. Топливо через сетчатый фильтр 4 (рис. 2-84) и игольчатый клапан 6 подается в поплавковую камеру. Из поплавковой камеры топливо поступает через главные топливные жиклеры 9 в эмульсионные колодцы и смешивается с воздухом, выходящим из отверстий эмульсионных трубок 1, которые изготовлены заодно с главными воздушными жиклерами. Через распылители 2 топливовоздушная эмульсия попадает в малые и большие диффузоры карбюратора 21083. Дроссельные заслонки 8 и 10 соединены между собой таким образом, что вторая камера начинает открываться, когда первая уже открыта на 2/3 величины.
Рис. 2-84. Схема главных дозирующих систем:
1 - главные воздушные жиклеры с эмульсионными трубками;
2 - распылители первой и второй камер; 3 - балансировочное
отверстие; 4 - топливный фильтр; 5 - патрубок слива части
топлива в топливный бак; 6 - игольчатый клапан; 7 - поплавок;
8 - дроссельная заслонка второй камеры; 9 - главные
топливные жиклеры; 10 - дроссельная заслонка первой камеры
Система холостого хода забирает топливо из эмульсионного колодца после главного топливного жиклера 7 (рис. 2-85). Топливо подводится к топливному жиклеру 2 с электромагнитным запорным клапаном 1, на выходе из жиклера смешивается с воздухом, поступающим из проточного канала и из расширяющейся части диффузора (для обеспечения нормальной работы карбюратора 21083 при переходе на режим холостого хода). Эмульсия выходит под дроссельную заслонку через отверстие, регулируемое винтом 9 содержания окиси углерода (СО) в отработавших газах.
Рис. 2-85. Схема системы холостого хода и переходных систем:
1 - электромагнитный запорный клапан; 2 - топливный жиклер
холостого хода; 3 - воздушный жиклер холостого хода; 4 - топливный
жиклер переходной системы второй камеры; 5 - воздушный жиклер
переходной системы второй камеры; 6 - выходное отверстие переходной
системы второй камеры; 7 - главные топливные жиклеры; 8 - щель
переходной системы первой камеры; 9 - регулировочный винт
содержания окиси углерода (СО) в отработавших газах
Переходные системы. При открытии дроссельных заслонок карбюратора 21083 до включения главных дозирующих систем топливовоздушная смесь поступает: в первую смесительную камеру через жиклер 2 холостого хода и вертикальную щель 8 переходной системы, находящуюся на уровне кромки дроссельной заслонки в закрытом положении; во вторую смесительную камеру через выходное отверстие 6, находящееся чуть выше кромки дроссельной заслонки в закрытом положении. Топливо поступает из жиклера 4 через трубку, смешивается с воздухом из жиклера 5, поступающим через проточный канал.
Экономайзер мощностных режимов срабатывает при определенном разрежении за дроссельной заслонкой 5 (рис. 2-86). Топливо забирается из поплавковой камеры через шариковый клапан 8. Клапан 8 закрыт, пока диафрагма удерживается разрежением во впускной трубе. При значительном открытии дроссельной заслонки разрежение несколько падает и пружина диафрагмы 7 открывает клапан. Топливо, проходящее через жиклер 9 экономайзера, добавляется к топливу, которое проходит через главный топливный жиклер 4, обогащая рабочую смесь.
Рис. 2-86. Схема эконостата и экономайзера мощностных режимов:
1 - дроссельная заслонка второй камеры; 2 - главный топливный
жиклер второй камеры; 3 - топливный жиклер эконостата с трубкой;
4 - главный топливный жиклер первой камеры; 5 - дроссельная
заслонка первой камеры; 6 - канал подвода разрежения; 7 - диафрагма
экономайзера; 8 - шариковый клапан; 9 - топливный жиклер экономайзера;
10 - топливный канал; 11 - воздушная заслонка; 12 - главные воздушные
жиклеры; 13 - впрыскивающая трубка эконостата.
Эконостат работает при полной нагрузке двигателя на скоростных режимах, близких к максимальным, при полностью открытых дроссельных заслонках. Топливо из поплавковой камеры через жиклер 3 (рис. 2-86) поступает в топливную трубку и высасывается через впрыскивающую трубку 13 во вторую смесительную камеру, обогащая рабочую смесь.
Ускорительный насос диафрагменный, с механическим приводом от кулачка 6 (рис. 2-87) на оси дроссельной заслонки первой камеры. При закрытой дроссельной заслонке пружина отводит диафрагму 3 назад, что приводит к заполнению полости насоса топливом через шариковый клапан 8. При открытии дроссельной заслонки кулачок действует на рычаг 5, а диафрагма 3 нагнетает топливо через шариковый клапан 2 и распылители 1 в смесительные камеры карбюратора 21083, обогащая рабочую смесь. Производительность насоса не регулируется и зависит только от профиля кулачка.
Рис. 2-87. Схема ускорительного насоса:
1 - распылители; 2 - шариковый клапан подачи топлива;
3 - диафрагма насоса; 4 - толкатель; 5 - рычаг привода;
6 - кулачок привода насоса; 7 - дроссельная заслонка первой камеры;
8 - обратный шариковый клапан; 9 - дроссельная заслонка второй камеры
Полуавтоматическое пусковое устройство (рис. 2-88) улучшает управление автомобилем и снижает токсичность отработавших газов в режимах запуска и прогрева двигателя. При запуске холодного двигателя биметаллическая пружина пускового устройства (на рис. 2-88 не показана) с помощью рычагов и тяги 8 удерживает воздушную заслонку 7 закрытой. После запуска двигателя заслонка при помощи диафрагмы 6 приоткрывается на зазор А, который регулируется винтом 11 штока 12 диафрагмы 6 пускового устройства. По мере прогрева двигателя охлаждающей жидкостью, циркулирующей через жидкостную камеру 4 (рис. 2-89) пускового устройства, нагревается и биметаллическая пружина, которая обеспечивает открытие воздушной заслонки через рычаги привода пускового устройства и тягу 8 (рис 2-88). На прогретом двигателе воздушная заслонка открыта биметаллической пружиной полностью.
Экономайзер принудительного холостого хода отключает систему холостого хода на принудительном холостом ходу (во время торможения автомобиля двигателем, при движении под уклон, при переключении передач), снижая расход топлива и выброс углеводородов в атмосферу. На режиме принудительного холостого хода при частоте вращения коленчатого вала более 2100 мин и при замкнутом на «массу» концевом выключателе 5 (рис. 7-44) карбюратора 21083 (педаль отпущена) запорный электромагнитный клапан 4 отключается, подача топлива прерывается. Если концевой выключатель не замкнут на «массу», то электромагнитный клапан отключаться не будет. При снижении частоты вращения коленчатого вала на принудительном холостом ходу до 1900 мин блок управления вновь включает э электромагнитный запорный клапан, начинается подача топлива через жиклер холостого хода и двигатель постепенно выходит на режим холостого хода.
3.2. Латунь и его технологические свойства.
Латунь - сплав меди с цинком (от 5 до 45%). Латунь с содержанием от 5 до 20% цинка называется красной (томпаком), с содержанием 20–36% Zn – желтой. На практике редко используют латуни, в которых концентрация цинка превышает 45%.
Цинк более дешевый материал по сравнению с медью, поэтому его введение в сплав одновременно с повышением механических, технологических и антифрикационных свойств, приводит к снижению стоимости - латунь дешевле меди. Электропроводность и теплопроводность латуни ниже, чем меди.
Латунь - двойной и многокомпонентный медный сплав, с основным легирующим элементом - цинком. По сравнению с медью обладают более высокой прочностью и коррозионной стойкостью. Простые латуни обозначают буквой Л и цифрой, показывающей содержание меди в процентах. В специальных латунях после буквы Л пишут заглавную букву дополнительных легирующих элементов и через тире после содержания меди указывают содержание легирующих элементов в процентах. Латуни разделяют на литейные и деформируемые. Латуни, за исключением свинцовосодержащих, легко поддаются обработке давлением в холодном и горячем состоянии. Все латуни хорошо паяются твердыми и мягкими припоями.
Коррозионная стойкость латуней в атмосферных условиях оказывается средней между стойкостью элементов, образующих сплав, т.е. цинка и меди. Латунь, содержащая более 20% цинка, склонна к растрескиванию при вылеживании во влажной атмосфере (особенно, если присутствуют следы аммиака). Этот эффект часто называют «сезонное растрескивание». Наиболее заметен он в деформированных изделиях, поскольку коррозия распространяется по границам зерен. Для устранения этого явления после деформации латунь подвергают отжигу при 240 - 260 (°C).
Латуни обладают высокими технологическими свойствами и применяются в производстве различных мелких деталей, особенно там, где требуются хорошая обрабатываемость и формуемость. Из них получают хорошие отливки, так как латунь обладают хорошей текучестью и малой склонностью к ликвации. Латуни легко поддаются пластической деформации - основное их количество идет на изготовление катанных полуфабрикатов - листов, полос, лент, проволоки и разных профилей.
Обычно латуни делят на:















