147223 (730453), страница 3
Текст из файла (страница 3)
Гідравлічні повноповоротні екскаватори 3-ї розмірної групи випускають на пневмоколісному ходовому пристрої.
Поворотний ковш забезпечує хороші умови копання ґрунту і вивантаження його в відвал і транспортні засоби. Крім зворотної лопати екскаватори оснащують навантажувачем, грейфером, прямою лопатою і ковшами різної форми для спеціальних земляних робіт. Грейфером виконують вантажно-розвантажувальні роботи і розробляють виїмки, ями, котловани типу колодязів з відвісними стінками. За допомогою навантажувача ефективно і з високою продуктивністю роблять завантаження сипучих і кускових матеріалів, розробляють котловани і кар’єри, забезпечуючи одночасне планування площадки на рівні стоянки машини.
Екскаватор ЕО-3322Д (Рис. 3.1.) повноповоротний гідравлічний з пневмоколісним ходовим пристроєм - призначений для розробки грунтів I — IV категорій і завантаження сипучих матеріалів і попередньо розрихлюваних скальних і мерзлих грунтів з кусками розміром не більше 200 мм.
Рис. 3.1. Екскаватор ЕО-3322Д
Робоче обладнання і робочі органи
- зворотна лопата з двома типами стріл (складної і моноблочної), а також трьома ковшами 0,4, 0,5 - для розробки грунтів до IV категорії (ковш 0,4 м3 того ж призначення використовують при глубині копання до 5 м) і 0,63 м5 для роботи в грунтах I...III категорій;
- грейфер з ковшами 0,32 і 0,5 м ;
- навантажувач з ковшами 0,57 і 1 м ;
- профільний ковш 0,5 м2 і плануючий відвал для меліоративних робіт;
- ковш 0,2 м2 для риття вузьких траншей;
- однозубий розрихлювач (замість ковша зворотної лопати) для взламування кірки мерзлих грунтів товщиною до 40 см і взкриття асфальтового покриття;
- гакова підвіска для піднімання і переміщення вантажів масою до 1,5 т;
- подовжена рукоять зворотної лопати для роботи на великих глубинах копання;
- гідромолот для розрихлення мерзлого грунту, дроблення каміння, взкриття асфальтових і бетонних покриттів.
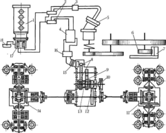
Рис. 3.2. Розташування механізмів і збірних одиниць на поворотній платформі:
1 - силова установка, 2 - пневмообладнання, 3 – паливний бак, 4 – механізм повороту, 5 – кабіна, 6 - пульт керування экскаватором, 7 – електрообладнання, 8 – гідроциліндри стріли, 9 - стріла, 10 - гідророзподільники, 11- бак робочої рідини, 12 - капот, 13 - противовіс
На поворотній платформі (Рис. 3.2.) встановлені силове і гідравлічне обладнання, система керування, механізм повороту, паливний бак, кабіна машиніста і противовіс. Кабіна машиніста обладнана вентиляцією, тепло- і шумоізоляцією і пристосована для роботи в різний час року і доби. В кабіні розташовані м’яке сидіння, контрольно-вимірювальні прилади і важелі керування. Передбачені освітлення, сигналізація і чистка скла кабіни.
Рис. 3.3. Гідравлічна і кінематична схема механізмів ходу і повороту екскаватора ЕО-3322Д:
1 - дизель, 2 - блоки гідророзподільника, 3, 4 - клапанні блоки, 5, 15 - гідромотори, 6 - обігаюча шестерня, 7 - зубчатий венець, 8, 9, 12 – перша- третя передачі механізму ходу, 10 - гальмо механізму ходу, 11, 14 - передній і задній мости, 13 - зубчата муфта, 16 - центральний коллектор, 17 - подвійний насос, 18 - бак робочої рідини
Гідравлічний привод. Дизель (Рис. 3.3.) приводить в дію насос 17 з двома гойдаючими секціями, подаючий робочую рідину під тиском до гідроциліндрів робочого обладнання і низькомоментним гідромоторам 5 і 15 механізмів повороту і ходу. Робочими операціями екскаваторів керують переміщенням відповідних золотників двох блоків гідророзподільників. В гідросистемі передбачені клапанні блоки 3 і 4, які служать для плавного пуску і зупинки механізмів і їх оберігання від надмірних навантажень.
Гідромотор 5 механізму повороту передає обертання через двохступінчастий редуктор обігаючої шестерні 6, яка знаходиться в постійному зачепленні з зубчастим вінцем 7.
Гідромотор 15 через двохшвидкісну коробку передає рух передньому 11 і задньому 14 мостам ходового обладнання. Першу чи другу швидкості ходу вмикають за допомогою зубчастою муфти 13. Механізм ходу обладнаний стояночним гальмом 10.
Робоча рідина подається до гідромотору 15 і назад відводиться в бак через центральний колектор 16. Необхідна кількість робочої рідини для системи гідроприводу заливають в бак 18.
Основні конструктивні особливості гідравлічної системи екскаватора ЕО-3322Д: застосування моноблочних гідророзподільникив і сервокерування золотниками. Завдяки цьому всіма операціями робочого циклу керують за допомогою двох рукояток, розташованих по обидві сторони від рульового колеса в зоні дії рук машиніста. Конструкція дозволяє переміщувати рукоятки не тільки вперед-назад і праворуч-ліворуч, але i в будь-якому іншому напрямку. При переміщенні важеля по діагоналі одночасно вмикаються два золотника гідророзподільників і два робочих рухи в циклі поєднуються в часі.
Для забезпечення безпеки в випадку раптової зупинки дизеля в системі керування встановлений акумуляторний блок, запас робочої рідини під тиском в якому дозволяє зробити декілька вмикань золотників керування, щоб, переміщуючи робоче обладнання, опустити ковш на грунт.
Привод механізму повороту (рис. 3.4.) здійснений від низькомоментного гідромотора 8, який разом з двохступінчастим шестерінчастим редуктором складає єдиний агрегат. Вал 9 гідромотора з’єднаний муфтою 7 з первинним валом-шестернею 6 редуктора. На проміжному валу-шестерні 4 за допомогою шлиців жорстко закріплена шестерня 5. Дві циліндричні шестерні 3 і 1 також за допомогою шлиців з’єднані з поворотним валом 2.
Рис. 3.4. Механізм повороту екскаватора ЕО-3322Д:
1, 3, 5 – шестерні, 2 – поворотний вал, 4, 6 – вали-шестерні, 7 – муфта, 8 – гідромотор, 9 – вал гідромотора, 10 – масломірна лінійка, 11 – корпус, 12 – маслянка, 13 – шайба
Від вісівого переміщення шестерню 1 утримує шайба 13, закріплена болтами.
Робочу рідину підводять через штуцера на верхній частині гідромотора. Подача рідини під тиском через той чи інший штуцер призводить до коливання валу гідромотора і відповідно всієї поворотної частини машини в ту чи іншу сторону. При установці золотника гідророзподільника в нейтральне положення порожнини гідромотору заперти і механізм повороту знаходиться в загальмованому положенні.
В випадку необхідності механізм повороту може бути демонтований єдиним блоком.
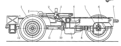
Рис. 3.5. Ходовий пристрій екскаватора ЕО-3322Д:
1, 5 - задній і передній мости, 2 - центральний колектор, 3 - трубопроводи, 4 - гідромотор, 6 - рама, 7 - водило, 8 - механізм вмикання переднього моста, 9 - коробка передач, 10 - зубчаста муфта, 11 - проміжний вал, 12 – виносна опора, 13 – роликове опорно-поворотне коло
Ходовий пристрій (Рис. 3.5.) складається зі зварної рами 6 нижнього візка, спираючої на два ведучих моста 1 і 5.
Рама нижнього візка має виносні опори 12, встановлені на поперечній балці. До рами жорстко прикріплена коробка 9 передач, яка приводиться в обертання низькомоментним гідромотором 4. На верхній порожнині рами закріплені роликове опорно-поворотне коло 13 і центральний колектор 2.
Вихідний вал коробки передач одним кінцем через муфту вмикання переднього моста і зубчасту муфту з’єднаний з переднім мостом 5, другим кінцем через зубчасті муфти і проміжний вал — з заднім мостом 1. Праворуч на картері переднього моста розташований гідроциліндр керування поворотом передніх коліс, зв’язаний тягами і важелями зі ступицею правого колеса. Праве колесо зв’язано з лівим поперечною рульовою тягою. В передній частині візка встановлено водило 7, використовуване при буксировці екскаватора тягачем.
Перелік використаної літератури
-
Беркман И.Л., Раннев А.В., Рейш А.К. Одноковшовые строительные экскаваторы: Учеб. для сред. ПТУ — 3-е изд., перераб. и доп. — М.: Высш. шк., 1986. — 272 с: ил. — (Профтехобразование) 75 к.
-
Полянський С.К. Будівельно-дорожні та вантажопідіймальні машини. – К.: Техніка, 2001. – 624с.
-
Пусенкова И.С. Экскаватор одноковшовый с ковшом 0.25м3 на тракторе «Белорусь» ЮМЗ-6АЛ/АМ гидравлический ЭО-2621А. Издательство «Реклама». Киев-103 ., 55 с.
-
http://maxi-exkavator.ru















