147223 (730453), страница 2
Текст из файла (страница 2)
Конструкція бака робочої рідини показана на Рис. 2.4.
Рис. 2.4. Бак робочої рідини навісного гідравлічного екскаватора:
1 - спускна пробка, 2 - стяжка, 3 - запірний вентиль, 4, 8 - гайки, 5, 15 - клапани, 6 - боковина бака,
7 - трубка, 9 - масломірна лінійка, 10 - фільтруючий елемент, 11 - горловина , 12 - фільтр грубого очищення, 13 - кришка горловини, 14 - корпус (склянка) фільтра, 16 - болт, 17 - сапун, 18 – кронштейн
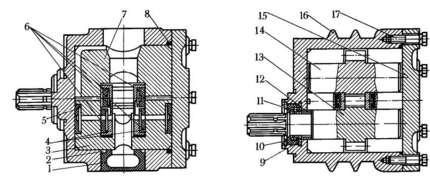
Рис. 2.5. Насос НШ-100-3:
1, 5, 6, 9 - манжети, 2 - пластина, 3, 7 - обойми, 4 - платики, 8, 10, 11- кільця, 12 - втулка, 13, 14 - шестерні, 15 - кришка, 16 - корпус, 17 - болт
Насос НШ-100 (Рис. 2.4.) має конструктивні особливості і збільшену об’ємну подачу в порівнянні з насосом НШ-32Л. Шестерні його поміщені в підшипниковій обоймі 7, виконаній в вигляді напівциліндра з чотирма підшипниковими гніздами. Зазор між шестернями і корпусом в радіальному напрямку регулюють піджимною обоймою 3, зпираючоюся на цапфи шестерен 13 і 14.
Манжета 1 утворює камеру, в якій добавленням рідини обойма 3 притискається до зубів шестерен. Зазор між корпусом 16 і обоймою 3 перекриває пластина 2. Обойма 3 по мірі зносу її опорних поверхонь компенсує радіальний зазор між своєю ущільнюючою поверхньою і зубами шестерен. По торцю шестерні ущільнені двома платиками 4. Зусилля притискання платиків створюється тиском рідини, яка знаходиться в камерах, обмежених манжетами 6. Для урівноваження вісівих зусиль, передаваємих через платики 4, в обоймі 3 розташовані обмежені манжетами 5 камери, в які також надходить рідина під тиском.
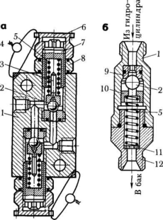
Рис. 2.5. Трьохзолотниковий гідророзподільник екскаватора ЕО-2621В:
а - конструктивна схема, б - корпус в розрізі по двом золотникам;
1, 17 - кришки, 2 - гвинт, 3 - ковпачок, 4 - контргайка, 5, 10, 16 - пружини, 6 - стрижень, 7 - кулька, 8 - гніздо, 9, 14 - корпуса, 11 - демпфер, 12 - порожнина, 13 - плунжер, 15 - золотники, 18 - пластина, 19 - канали
Витікання рідини по валу насоса перешкоджають манжети 9, які захищаються опорним 10 і стопорним 11 кільцями від механічних пошкоджень. Центруюча втулка 12 перешкоджає повороту шестерні 13 в зборі з обоймами і платиками під час роботи насоса. Кришку 15 до корпусу 16 насоса кріплять болтами 17. Між корпусом і кришкою насоса встановлено ущільнююче гумове кільце 8.
Від насосу до гідроциліндрів бульдозера і виносних опор робоча рідина подається через гідророзподільник трактора, а до інших гідроциліндрів — через трьохзолотникові гідророзподільники (Рис. 2.5.) з вбудованими запобіжними і перепускними клапанами.
В корпусі 14 трьохзолотникового гідророзподільника зібрані перепускний клапан (в який входять плунжер 13, демпфер 11 і пружина 10), а також запобіжний клапан, що складається з корпусу 9, гнізда 8, кулькаа 7, направлючого стрижня 6, пружини 5, регулюючого гвинта 2, контргайки 4 і ковпачка 3. Крім того, в ньому є багато різних порожнин, з’єднаних між собою каналами. В поєднанні з золотниками 15 і перепускним клапаном ці порожнини і канали дають можливість направляти поток робочої рідини насоса в гідроциліндри робочого обладнання, а потім повертати назад в бак. Золотники в нейтральне і робоче положення встановлюють важелями упремління, з робочого в нейтральне вони обертаються під дією пружин 16. При нейтральному положенні золотників 2 (Рис. 2.6, а) поток робочої рідини від насосу, проходячи через гідророзподільник, направляється під невеликим тиском в бак. При цьому робоча (рідина, поступивша від насосу в нагнетельну порожнину 4, долає опір пружини 3 і переміщує плунжеp 5 вгору, з’єднуючи зливну порожнину 1 з нагнітаємою 4 (рух порожнини на малюнку показано стрілками). Плунжер перепускного клапану переміщається вгору, так як тиск в порожнині над ним завжди менше внаслідок втрат в демпфереі 11 (див. рис. 2.5.), вбудованому в плунжер.
При переміщені золотника 2 (див. рис. 2.6, б) донизу відкриваються канали 7, з’єднуючі гідророзподільник з гідроциліндрами. Тиск на плунжер зверху і знизу врівноважуються, і під дією пружини він переміщується донизу, перекриваючи зливну порожнину. Рідина від насосу поступає в канал 6 (показується суцільними стрілками) і далі по трубопроводу— в відповідну порожнину гідроциліндру, а з іншої його порожнини витісняється через канал 7 гідророзподільника в бак.
Рис. 2.6. Схема роботи гідророзподільника екскаватора ЕО-2621В при нейтральному (а), нижньому (б) і верхньому (в) положенні золотників:
1, 4 – порожнини, 2 – золотники, 3- пружина, 5 – плунжер, 6,7 – канали
При переміщені золотника вгору (рис. 2.6,) в нагнітаюча порожнина 4 з’єднується з каналом 7, а канал 6 з’єднується зі зливною порожниною 1. Таким чином поршень гідроциліндру переміщується в протилежну сторону. Вільні порожнини над золотниками 15 див. рис. 125, а) і в нижній кришці 17 заповнені робочою рідиною, проникаючою через зазори. Ці порожнини зв’язані між собою отворами в корпусі 14 і через дренажну трубку з’єднані з таком, що виключає мимовільне переміщення золотників.
Запобіжний клапан вступає в роботу в випадку перевищення робочого тиску, на яке він відрегульований. При цьому кулька 7 піднімається вгору і рідина з порожнини над перепуским клапаном зкидується над перепускним клапаном іде на злив. Тиск у порожнині знижується, плунжер 13 переміщується вгору і відчиняє гідролінію в бак. Перепускний клапан (Рис. 2.7, а) при підвищенні тиску в системі під тяжінням інерційних сил з’єднує порожнини гідроциліндрів механізму поворота, чим досягається плавне гальмування повороту стріли. В залежності від тиску в якому-небуть з гідроциліндрів механізму поворота спрацьовує (перепускає робочу рідину) і інша секція клапану. Під тиском рідини кулька 2 переміщається, через направляючий стержень 3 пружину 5, обидві секції клапану з’єднуються і рідина перетікає з одного гідроциліндру повороту в інший. Перепускний клапан відрегульований на тиск 10 МПа.
Рис. 2.7. Перепускний (а) і розвантажувальний (б) клапани:
-
корпус, 2 - кулька, 3 - стрижень, 4 - пломба, 5 - пружина, 6 - ковпачок, 7 - гвинт, 8 - контргайка, 9 - гніздо, 10 - стакан, 11 - шайба, 12 - штуцер
Розвантажувальний клапан (Рис. 2.7, б) складається з одної секції. В корпусі 1 клапана розміщена кулька 2, яка в зачиненому сстані клапана пвд дією пружини 5 перекриває отвір в гніздю 9. Якщо тиск в порожнині гідроциліндра, до якого підключений розвантажувальний клапан, перевищує 14 МПа, кулька, стискаючи пружину, відчиняє отвір в гнізді і пропускає робочу рідину на злив. При цьому тиск в порожнині гідроциліндру стабілізується.
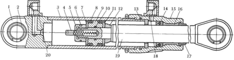
Рис. 2.8. Гідроциліндр робочого обладнання:
1, 15 – кришки, 2 – підшипник, 3- труба, 4 – клапан, 5 – гайка, 6 – шплінт, 7, 11 – шайби, 8, 14 – манжети, 9 – поршень, 10, 13 – ущільнювання, 12 – упор, 16 – втулка, 17 – брудознімач, 18, 20 – штуцера, 19 - шток
По принципу дії всі гідроциліндри робочого обладнання подвійної дії і однакової конструкції. Гідроциліндр (Рис. 2.8.) складається з труби 3, на один кінець якої навінчена передня кришка 15, а до іншого приварена задня кришка 1. Поверхня труби хромована і оброблена з високою ступінню точності і чистоти. На штоці 19 гайкою 5 закріплений поршень 9. Поршень ущільнений манжетами 8 і кільцем 10, а шток - манжетою 14 і брудознімачем 17, встановленим в кришці 15. На кришках 1 і 5 закріплені вуглові штуцера 18 для приєднання до них трубопроводів. Від вісівого переміщення манжети утримуються опорними шайбами. Передню кришку ущільнюють кільцем 13.
Для пом’якшення ударів в кінці ходу поршня служить демпфіруючий клапан 4, а при зворотному ході роль демпфера виконує упор 12. Шток і задню кришку з’єднують з іншими деталями через шарнирні сферичні підшипники 2.
Гідропроводи представляють собою безшовні стальні труби чи шланг високого тиску. В більшості випадків їх з’єднують штуцерами, домагаючись необхідної герметичності установкою конічних чи кільцевих прокладок. До розподільника гідропроводи приєднують за допомогою гвинтів і ущільнювачів кілець.
Рис. 2.9. Механізм повороту:
1 - зірочка, 2 - гайка, 3 - ланцюг, 4 - гідроциліндр, 5 - тяга, 6, 9 - роликопідшипники, 7 - стакан, 8 - прилив, 10 - палець,11, 16 - маслянки, 12 - пробка, 13, 15 - провушини, 14 - корпус
Механізм повороту (рис. 2.9) складається з поворотної колони, ланцюгової передачі і двох гідроциліндрів. Поворотний корпус 14 опирається на конічні роликопідшипники 6 і 9 і обертається відносно стакана 7 головки рами за допомогою ланцюгової зірочки 1, яка приводиться в рух ланцюгом 3 від гідроциліндрів. Обидва гідроциліндри працюють поперемінно. Якщо шток одного гідроциліндру втягується, то ланцюг, з’єднаний з тягою 5, повертає зірочку 1 і корпус, а інший гідроциліндр здійснює холостий хід.
В корпусі зроблені провушини 15 і для установки стріли і її гідроциліндрів, а також прилив 8 з пальцем 10 - для фіксації механізму повороту в транспортному положенні. При роботі машини палець піднятий вгору і своєю нижньою частиною впирається в обмежувачі повороту, які розташовані на рамі екскаватора і служать для стопору колон в випаду обриву ланцюга.
Для регулювання вісівого люфту колони опускають робочий орган на вантаж, відгибають стопорну шайбу, затягують гайку 2 і відпускають її на 1/8 обороту, а потім знову штопорять шайбою. Для демонтажу внутрішньої обойми підшипника 9 є отвори в корпусі, зачинені пробками 12. Підшипники 9 і 6 змащують через масляниці 11 і 16.
Робоче обладнання встановлюють на поворотному корпусі колони. Ковш зворотної лопати (Рис. 2.10, а) закріплюють на нижній вилці рукоятки 4за допомогою вісі 7. Днище його фіксуюють нерухливим пальцем 9 за допомогою стопорної планки 8, входящої в зовнішню кільцеву проточку пальця. Шток гідроциліндру 5 закріплений пальцем на важелі днища ковша. Штоки гідроциліндрів 11 прикріпляються до верхнього кронштейну рукоятки пальцем 3, фіксуючим гвинтом 2.
При переобладнанні на пряму лопату (Рис. 2.10., б) ковш 6 встановлюють зубами назовні і закріпляюють на нижній вилці рукоятки 4 допоміжними тягами 13. Штоки гідроциліндрів рукоятки кріплять до нижнього кронштейну 12 рукоятки, для чого використовують палець 3. Днище ковша шарнірно з’єднують з корпусом ковша на вісі 7. Пальці 9 стопорними шайбами закріплюють в видвинутому положенні і днище в корпусі не фіксуюють, так що воно вільно обертається при включенні гідроциліндру 5 ковша.
Гакову підвіску 15 (Рис. 2.10, в) кріплять на вилці рукоятки 4 віссю 7. Вільний кінець штоку гідроциліндра 5 приєднують до рукоятки 4. Як і при роботі зворотною лопатою, штоки гідроциліндрів 11 закріплюють на верхньому кронштейні 14 рукоятки.
Вантажний ковш 17 (Рис. 2.10, г), вили 18 (Рис. 2.10, д) монтуюють на вісі 7 аналогічно прямій лопаті. Шток гідроциліндру 5 ковша кріплять до верхніх провушин 16 ковша (вил). Для підвищення робочих зусиль штоки гідроциліндрів 11 рукоятки приєднують до нижніх кронштейнів 12 рукоятки.
Рис. 2.10. Схема монтажу робочого обладнання:
а - зворотної лопати,
б - прямої лопати,
в - гакової підвіски,
г - вантажного ковша,
д - вил;
1 - стріла, 2 - гвинт, 3, 9 - пальби, 4 - рукоятка, 5, 11 - гідроциліндри ковша і рукояті, 6 - ковш, 7 - вісь, 8 - планка, 10 - днище ковша, 12, 14 - кронштейни, 13 - тяга, 15 - крюкова підвіска, 16 - верхні провушини ковша (вил), 17 - вантажний ковш, 18 – вили
Після кожної заміни перевіряють роботу робочого обладнання на холостому ході на протязі 5 хв. До початку перевірки необхідно впевнитись в тому, що стріла, механізм повороту і відвал бульдозера не зафіксовані в транспортному положенні.
3. ЕКСКАВАТОРИ 3-Ї РОЗМІРНОЇ ГРУПИ















