147170 (730439), страница 2
Текст из файла (страница 2)
В блоке МПП-ЧКЕ предусмотрен контроль целостности нитей накала ламп проходного светофора. Наличие этой информации позволяет на программном уровне осуществлять функции переноса красного огня, изменять кодирование при перегорании ламп разрешающих огней на светофоре в соответствии с требованиями Инструкции по сигнализации на железных дорогах Российской Федерации.
В интерфейсном модуле с помощью БКТ осуществляется модуляция сигнала, питающего рельсовую цепь, а также контроль правильности передаваемой кодовой комбинации. Для включения сигнальных реле Ж, ЖЗ и 3 в блоке ИМ имеются три усилителя мощности, обеспечивающие необходимое напряжение (10-12,5 В) для срабатывания реле. В качестве сигнальных используются нейтральные реле АНШ2-1230.
Для удобства обслуживания аппаратуры АБ-ЧКЕ на лицевой панели корпуса МПП-ЧКЕ установлены световые индикаторы, сигнализирующие о наличии питающего напряжения и рабочем состоянии ведущего и ведомого каналов. По характеру мигания световых индикаторов, включенных на входе и выходе МПП-ЧКЕ, можно судить о принимаемой и формируемой кодовых комбинациях.
2. Микроэлектронная система автоблокировки АБ-Е1
В состав аппаратуры сигнальной точки автоблокировки входят: блоки приемопередатчиков непрерывного канала связи (БПП-НКС) и системы передачи информации по проводной линии связи (БПП-СПИ); микропроцессорный путевой приемник (МПП); устройства защиты и согласования с рельсовой линией (УЗС) и проводной линией связи (УЗСЛ). УЗС включает в себя трансформатор усилителя мощности БПП-НКС (ТКУ), дроссель согласования (ДС), электронный блок защиты (БЗЭ) и блоки конденсаторов БК-1 и БК-2. Конструктивно микроэлектронная аппаратура автоблокировки выполнена в виде металлических корпусов, внутри которых размещаются типовые элементы замены. Размеры аппаратуры АБ-Е1 таковы: БПП-НКС и БПП-СПИ - 500x332x230 мм; МПП - 420x332x230мм; УЗСЛ - 195x120x140мм; блоки ДС, БК-1, БК-2 и ТКУ-145x120x115 мм.
Автоблокировка АБ-Е1 функционально и электромагнитно совместима с автоматической локомотивной сигнализацией АЛС-ЕН.
Для повышения устойчивости функционирования системы КРЛ в условиях воздействия дестабилизирующих факторов обработка полезных сигналов в приемнике осуществляется по алгоритму кумулятивных сумм. Благодаря его применению удалось обеспечить устойчивую работу рельсовой цепи длиной 2500 м при колебаниях сопротивления балласта от 50 до 0,45 Ом·км.
Проблема обеспечения безопасности микроэлектронных аппаратных средств автоблокировки решается применением: трехкомплектного резервирования стандартных модулей, выполняющих одинаковые функции; мажоритарной структуры построения для обнаружения неисправного или отказавшего комплекта; жесткой синхронизации и потактного сравнения сигналов в контрольных точках различных комплектов; специальных устройств контроля с односторонними отказами, обеспечивающих надежное отключение неисправного комплекта и последующий его ввод в работу.
В системе АБ-Е1 использован один непрерывный частотный канал (НКС) с несущей 174,38 Гц. Передача информации осуществляется в результате двукратной фазоразностной манипуляции и кодирования сообщений модифицированным кодом Бауэра.
Структура организации кодового цикла параллельная: по одному подканалу передаются кодовые комбинации (КК), а по другому - сигналы цикловой синхронизации (ЦС) в виде синхрогрупп (СГ). Применение двукратной ФРМ позволяет повысить помехоустойчивость в 2 раза по сравнению с амплитудной модуляцией. Использование комбинаций кода Бауэра в информационном и синхроподканалах обеспечивает эффективную кодовую защиту.
В структурной схеме двух сигнальных точек микроэлектронной автоблокировки АБ-Е1 (рис.4.27) показаны: блоки приемопередатчиков сигналов непрерывного канала связи и системы передачи информации по линейной цепи; микропроцессорный путевой приемник; устройство защиты и согласования с рельсовой линией;
Рис. Структурная схема двух сигнальных точек микроэлектронной автоблокировки АБ-Е1.
Путевое МП, сигнальные реле 30, 31, 32, реле двойного снижения напряжения ДСН и извещения о приближении поездов ИП1-ИПЗ. Все перечисленные реле нейтральные АНШ2-1230.
Приемник МПП предназначен для контроля состояния рельсовой линии. При ее свободном и исправном состоянии возбуждается реле МП. Если рельсовая линия занята подвижным составом или неисправна, то реле МП обесточено.
Блок БПП-НКС предназначен для демодуляции и декодирования ФРМ-сигналов, управления сигнальными реле, формирования и усиления сигналов, передаваемых в рельсовую цепь соседнего блок-участка. Блок БПП-НКС рассчитан на подключение четырех сигнальных реле. Однако реально в БПП-НКС используются только три: 30, 31 и 32. Настройка блоков приемопередатчиков для формирования синхрогрупп и кодовых комбинаций в зависимости от числа свободных блок-участков и разрешенной скорости движения осуществляется настроечными перемычками НП.
Устройство УЗС разработано с учетом обеспечения требований электромагнитной совместимости системы АБ-Е1 с аппаратурой автоблокировки числового кода.
Питание микроэлектронных; блоков БПП-НКС, БПП-СПИ и МПП осуществляется через понижающие трансформаторы ТП (ПОБС-5А). Для защиты устройств от воздействия импульсных помех по цепям питания в первичные обмотки ТП включены сетевые фильтры СФ. Электроснабжение сигнальной точки автоблокировки осуществляется от высоковольтной линии. Мощность, потребляемая одиночной сигнальной точкой, не превышает 80 В·А.
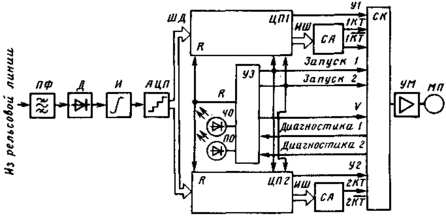
Приемник-МПП выполнен по двухкомплектной схеме с жесткой синхронизацией (рис.4.28). Каждый комплект содержит модули центрального процессора ЦП1, ЦП2 и сигнатурные анализаторы СА. Контроль правильности функционирования МПП осуществляет однокаскадная схема контроля СК. Первоначальный запуск приемника и синхронизация ЦП1 и ЦП2 осуществляет узел запуска УЗ. Входные цепи приемника содержат: полосовой фильтр ПФ, детектор огибающей Д, интегратор И и аналого-цифровой преобразователь АЦП.
Рассмотрим работу приемника. Полезный сигнал с выхода рельсовой линии через полосовой фильтр ПФ поступает на детектор огибающей, где выпрямляется, сглаживается в интеграторе И и затем с помощью АЦП квантуется по амплитуде и дискретизируется по времени. Значения сигнала в двоичной форме по шине данных ШД подаются на входные порты узлов ЦП1, ЦП2 обоих комплектов.
Рис. Структурная схема микропроцессорного путевого приемника системы АБ-Е1.
Поступившие данные обрабатываются в соответствии с хранящимся в ПЗУ алгоритмом. Если после выполнения расчетов значение решающей статистики превысит порог, то на шинах У1 и У2 появляются управляющие импульсы напряжения, открывающие входы схемы контроля. В этом случае контрольный сигнал V частотой 89,9 кГц с выхода узла запуска через СК подается на усилитель мощности УМ для включения реле МП. Если кумулятивная сумма не превышает порога, то сигналы на выходах У1 и У2 отсутствуют, а якорь реле МП отпущен.
В процессе нормального функционирования приемника с контрольных точек узлов ЦП1 и ЦП2 по информационным шинам ИШ на схему сигнатурного анализатора СА подаются тестовые сигналы. СА формирует общие контрольные сигналы 1КТ,
, 2КТ и
2, характеризующие работоспособность узлов ЦП1 и ЦП2. Если формы сигналов
, 1КТ и 2КТ,
совпадают, то схема контроля фиксирует правильную работу комплектов. Свечение индикаторных светодиодов ЧО к ПО свидетельствует об исправном состоянии приемника. В противном случае фиксируется сбой. На выходах Диагностика 1 и Диагностика 2 появляются управляющие импульсы, воздействующие на узел запуска УЗ, который с заданной выдержкой времени формирует управляющие импульсы Запуск 1 и Запуск 2 для восстановления работоспособного состояния комплектов приемника. Если в результате воздействия этих импульсов нормальное функционирование приемника восстанавливается, то управляющие сигналы Диагностика 1 к Диагностика 2 снимаются. В противном случае, когда отказ в одном из каналов приемника устойчивый и восстановления работоспособного состояния приемника не происходит, ячейка защиты ЯЗ отсчитывает восемь импульсов запуска и останавливается. Приемник переходит в устойчивое положение безопасного отказа.
При первом включении питания, а также после перерывов электроснабжения работоспособное состояние приемника восстанавливается узлом запуска по шинам Запуск 1 и Запуск 2. После включения напряжения на этих шинах появляется последовательность импульсов, устанавливающая микропроцессорные комплекты узлов ЦП1 и ЦП2 в исходное состояние. С этого момента начинается нормальное функционирование приемника МПП.
Номенклатура ТЭЗ МПП такая: узел центрального процессора и ячейки запуска, узел схемы контроля, источник питания и полосовой фильтр.
Блок БПП предназначен для приема, обработки, формирования и передачи информации. Он имеет два варианта исполнения. В первом варианте БПП рассчитан для работы по рельсовой линии - БПП-НКС, во втором - по проводной линии связи - БПП-СПИ. При работе по непрерывному каналу связи используется несущая частота 174,38 Гц, а при работе с системой передачи информации - 2790 Гц.
Блок БПП имеет троированную мажоритарную структуру с аппаратным резервированием (рис.4.29). Мажоритарный принцип построения аппаратуры предполагает сравнение результатов функционирования комплектов аппаратуры и принятие решения о правильности работы устройства в целом методом голосования по большинству одинаково работающих узлов. Например, в системе АБ-Е1 принято, что микроэлектронные блоки автоблокировки отвечают требованиям безопасности, если в процессе работы как минимум два комплекта из трех показывают одинаковые результаты выполнения алгоритма обработки сигналов.
Блок БПП-НКС выполнен на элементах жесткой логики с применением микросхем малой и средней степеней интеграции серий 133, 1533. В состав БПП входят полосовой фильтр ПФ, усилитель-ограничитель УО, трехкомплектные модем и кодек, схема контроля и модуль диагностики СК и МД, ячейка запуска ЯЗ и синтезатор частот.
Рис. Структурная схема приемопередатчика системы АБ-Е1
Полосовой фильтр ПФ в зависимости от исполнения БПП настроен на несущую частоту канала 174,38 или 2790 Гц. Усилитель-ограничитель обеспечивает формирование сигнала TTL-уровня, необходимого для работы микросхем. Этот сигнал подается на входы трех комплектов демодулятора. Демодуляция ФРМ-сигнала осуществляется по методу однократной пробы. Измерение разности фаз сводится к оценке временного интервала между фронтами информационных сигналов, соответствующих максимуму отношения "сигнал/помеха" в течение элементарной посылки ФРМ-сигнала.
На выходах демодуляторов образуются последовательные кодовые комбинации. По первому подканалу передаются синхрогруппы СГ, а по второму - кодовые комбинации КК. По фронту сигнала тактовой синхронизации ТС принимается решение о разности фаз между соседними посылками кодовых комбинаций.
Обработка информации непрерывного канала связи в БПП сводится к выделению сигнала цикловой синхронизации (ЦС), обеспечению кодовой защиты от сигналов соседних блок-участков по сигналу ЦС, декодированию КК, принятию решения об информационном значении КК, формированию управляющего сигнала для возбуждения сигнальных реле, формированию кодовых комбинаций в первом и втором фазовых подканалах в соответствии с поездной ситуацией.
Поступающие по 1ПК и 2ПК данные декодер ДК преобразует из последовательной формы в параллельную и обеспечивает сравнение принятых кодовых комбинаций с контрольными, хранящимися в ПЗУ: Для "разрешенных" синхрогрупп осуществляется декодирование кодовой комбинации, которая затем преобразуется в информационную последовательность, соответствующую количеству свободных блок-участков. Эта последовательность по шине управления реле ШУР подается на схему контроля для включения сигнальных реле 30, 31, 32, а также по шинам выбора кода ШВК и синхрогруппы ШВС на датчик кодовых комбинаций ДКК для формирования сигналов, передаваемых в рельсовую цепь соседнего блок-участка.
Датчик кодовых комбинаций ДКК преобразует входную информацию в последовательную для передачи по двум подканалам: D1 (синхрогруппы) и D2 (кодовые комбинации). Эти данные поступают на модулятор М. ФРМ-сигнал подается на усилитель мощности УМ, выход которого через устройства защиты и согласования УЗС подключен к передающему концу рельсовой цепи.















