147133 (730432)
Текст из файла
СОДЕРЖАНИЕ
ВВЕДЕНИЕ 2
1. Общее устройство и техническая характеристика двигателя КамАЗа 740.10 3
2. Устройство кривошипно-шатунного механизма 5
3. Разборка, ремонт и сборка шатунно-поршневой группы 15
ЗАКЛЮЧЕНИЕ 23
СПИСОК ИСПОЛЬЗОВАННОЙ ЛИТЕРАТУРЫ 24
ВВЕДЕНИЕ
Акционерное общество (АО) КамАЗ выпускает автомобили с колесными формулами 6x4, 4x2 и 6x6, различающиеся мощностными, размерными и весовыми параметрами. Массовое производство автомобилей семейства КамАЗ и их поступление в автотранспортный комплекс страны началось в 1976 г. В ходе производства совершенствовалась конструкция автомобилей и их составных частей, повышалось их качество, накапливался и изучался передовой опыт эксплуатации и ремонта.
В данной курсовой работе подробно описана конструкция кривошипно-шатунного механизма в двигатели 740.10 автомобиля КамАЗ. Техническая характеристика двигателя приведена в табл.1. По своим экологическим показателям двигатель 740.10 соответствуют требованиям правил ЕЭК ООН уровня EVRO-2. Приведены все необходимые рекомендации завода-изготовителя по регулировкам двигателя и его систем, основным неисправностям, методам их обнаружения и устранения.
Целью курсовой работы является изучение устройства кривошипно-шатунного механизма двигателя КамАЗа 740.10
1. Общее устройство и техническая характеристика двигателя КамАЗа 740.10
На автомобилях КамАЗ устанавливаются восьмицилиндровые, V-образные, четырехтактные дизели модели 740 с жидкостным охлаждением.
Блок-картер двигателя отлит из чугуна и снизу закрыт штампованным поддоном. В расточках блоков установлены гильзы цилиндров "мокрого" типа. Сверху гильзы закрыты индивидуальными головками. Механизм газораспределения верхнеклапанный. В нижней части развала блока установлен распределительный вал. Под ним в коренных опорах - коленчатый вал.
В передней части блока с коленчатым валом установлена гидромуфта привода вентилятора. С правой стороны блока крепятся центробежный фильтр очистки масла, масляный фильтр, маслозаливная горловина и щуп для контроля уровня масла в поддоне. С левой стороны нижней части блока установлен электростартер [3, с.25].
С наружной стороны боковых поверхностей головок цилиндров крепятся выпускные трубопроводы, с внутренней стороны - впускные трубопроводы и водоотводящие трубы. Сверху к впускным трубопроводам крепится фильтр тонкой очистки топлива. На передних концах водоотводящих труб установлены термостаты системы охлаждения двигателя.
В развале блок-картера размещены топливный насос высокого давления, компрессор и насос гидроусилителя рулевого управления.
Указанные конструктивные решения, а также применение автоматической гидромуфты в приводе вентилятора и двух термостатов в системе охлаждения, эффективная очистка масла, топлива и воздуха обеспечивают высокую долговечность деталей и узлов двигателя.
Основные параметры двигателя модели 740.10 приведены в технической характеристике (табл.1)
Таблица 1.
Техническая характеристика
| Модель двигателя | 740.10 |
| Тип двигателя | С воспламенением от сжатия |
| Число тактов | Четыре |
| Число цилиндров | Восемь |
| Расположение цилиндров | V-образное |
| Угол развала | 90° |
| Порядок работы цилиндров | 1-5-4-2-6-3-7-8 |
| Диаметр цилиндра и ход поршня, мм | 120x120 |
| Рабочий объем, л | 10,85 |
| Номинальная мощность брутто, кВт (л. с) | 176(240) |
| Максимальный крутящий момент брутто.Н. м (кгс. м) | 833(85) |
| Частота вращения коленчатого вала, мин: | |
| - номинальная - при максимальном крутящем моменте - на холостом ходу, не более: минимальная максимальная | 2200 1200-1600 600±50 2930 |
| Модель ТНВД | 337-40 |
| Модель форсунки | 273-30 |
| Давление начала подъема иглы форсунки, МПа (кгс/см): - в эксплуатации, не менее - новой (заводской регулировки) | 19,61 (200) 21,37-22,36(218-228) |
Высокая литровая мощность и низкий удельный расход топлива достигнуты форсированием двигателя по частоте вращения, применением совершенного смесеобразования, высокой степени сжатия и использованием тороидальной камеры сгорания.
Трудоемкость технического обслуживания двигателя в процессе эксплуатации значительно снижена благодаря применению закрытой системы охлаждения с всесезонной специальной охлаждающей жидкостью, высококачественных моторных масел двухступенчатого воздухоочистителя сухого типа, эффективных топливных и масляных фильтров.
Высокие пусковые качества двигателя при низких температурах обеспечены применением аккумуляторных батарей повышенной емкости, мощного стартера, маловязкого моторного масла и системы предпускового разогрева двигателя.
Двигатель состоит из кривошипно-шатунного механизма и механизма газораспределения и систем смазки, охлаждения, разогрева, питания топливом, питания воздухом и выпуска отработавших газов.
2. Устройство кривошипно-шатунного механизма
Коленчатый вал (рис.1) изготовлен из высококачественной стали и имеет пять коренных и четыре шатунные шейки, закаленных ТВЧ, которые связаны между собой щеками и сопрягаются с ними переходными галтелями. Для равномерного чередования рабочих ходов расположение шатунных шеек коленчатого вала выполнено под углом 90°.
К каждой шатунной шейке присоединяются два шатуна: один для правого и один для левого рядов цилиндров (рис.2).
Подвод масла к шатунным шейкам производится от отверстий в коренных шейках 10 прямыми отверстиями 11 [3, с.27].
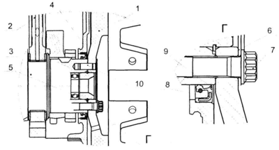
Для уравновешивания сил инерции и уменьшения вибраций коленчатый вал имеет шесть противовесов, отштампованных заодно со щеками коленчатого вала. Кроме основных противовесов, имеются два дополнительных съемных противовеса 1 и 2. напрессованных на вал, при этом их угловое расположение относительно коленчатого вала определяется шпонками 5 и 6 (рис.1).
В расточку хвостовика коленчатого вала запрессован шариковый подшипник 5 (рис.2).
Рис.1. Коленчатый вал.
Рис.2. Установка упорных полуколец и вкладышей подшипников коленчатого вала.
В полость переднего носка коленчатого вала ввернут жиклер 8. через калибровонное отверстие которого осуществляется смазка шлицевого валика отбора мощности на привод гидромуфты.
От осевых перемещений коленчатый вал зафиксирован двумя верхними полукольцами 1 и двумя нижними полукольцами 2 (рис.2), установленными в проточках задней коренной опоры блока цилиндров, так что сторона с канавками прилегает к упорным торцам вала. На переднем и заднем носках коленчатого вала (рис.1) установлены шестерня 3 привода масляного насоса и ведущая шестерня 4 привода распределительного вата. Задний торец коленчатого вала имеет восемь резьбовых отверстий для болтов крепления маховика, передний носок коленчатого вала имеет восемь отверстий для крепления гасителя крутильных колебаний [3, с.28].
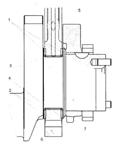
Уплотнение коленчатого вала осуществляется резиновой манжетой 8 (рис.3), с дополнительным уплотняющим элементом - пыльником 9. Манжета размещена в картере маховика 4. Манжета изготовлена из фторкаучука по технологии формования рабочей уплотняющей кромки непосредственно в прессформе.
Рис.3. Установка маховика и манжеты уплотнения коленчатого вала.
Диаметры шеек коленчатого вала: коренных 95±0.011 мм. шатунных 80±0,0095 мм. Для восстановления двигателя предусмотрены восемь ремонтных размеров вкладышей.
Вкладыши 7405.1005170 Р0.7405.1005171 Р0.7405.1005058 РО применяются при восстановлении двигателя без шлифовки коленчатого вала. При необходимости шейки коленчатого вала заполировываются. Допуски на диаметры шеек коленчатого вала, отверстий в блоке цилиндров и отверстий в нижней головке шатуна при проведении ремонта двигателя должны быть такими же, как у номинальных размеров новых двигателей. Коренные и шатунные подшипники изготовлены из стальной ленты покрытой слоем свинцовистой бронзы толщиной 0.3 мм, слоем свинцовооловянистого сплава толщиной 0.022 мм и слоем олова толщиной 0.003 мм. Верхние 3 (рис.2) и нижние 4 вкладыши коренных подшипников не взаимозаменяемы. В верхнем вкладыше имеется отверстие для подвода масла и канавка для его распределения. Оба вкладыша 4 нижней головки шатуна взаимозаменяемы. От проворачивания и бокового смещения вкладыши фиксируются выступами (усами), входящими в пазы, предусмотренные в постелях блока, крышках подшипников и в постелях шатуна. Вкладыши имеют конструктивные отличия, направленные на повышение их работоспособности при форсировке двигателя турбонаддувом, при этом изменена маркировка вкладышей на 7405.1004058 (шатунные), 7405.1005170 и 7405.1005171 (коренные). Поэтому при проведении ремонтного обслуживания не рекомендуется замена вкладышей на серийные с маркировкой 740.100. ., так как при этом произойдет существенное сокращение ресурса двигателя.
Крышки коренных подшипников (рис.4) изготовлены из высокопрочного чугуна марки ВЧ50. Крепление крышек осуществляется с помощью вертикальных и горизонтальных стяжных болтов 3, 4, 5, которые затягиваются по определенной схеме регламентированным моментом.
Рис.4 Установка крышек подшипников коленчатого вала.
Шатун (рис.5) стальной, кованый, стержень 1 имеет двутавровое сечение. Верхняя головка шатуна неразъемная, нижняя выполнена с прямым и плоским разъемом. Шатун окончательно обрабатывают в сборе с крышкой 2. поэтому крышки шатунов невзаимозаменяемы. В верхнюю головку шатуна запрессована сталебронзовая втулка 3, а в нижнюю установлены сменные вкладыши 4. Крышка нижней головки шатуна крепится с помощью гаек 6, навернутых на болты X предварительно запрессованные в стержень шатуна. Затяжка шатунных болтов осуществляется по схеме, определенной в приложении 8. На крышке и стержне шатуна нанесены метки спаренности - трехзначные порядковые номера. Кроме того на крышке шатуна выбит порядковый номер цилиндра.
Маховик 1 (Рис.6) закреплен восемью болтами 7 шатуна, (рис.7), изготовленными из легированной стали с двенадцатигранной головкой, на заднем торце коленчатого вала и точно зафиксирован двумя штифтами 10 и установочной втулкой 3 (Рис.6) [3, с.29].
С целью исключения повреждения поверхности маховика под головки болтов устанавливается шайба 6 (рис.7). На обработанную цилиндрическую поверхность маховика напрессован зубчатый венец 2, с которым входит в зацепление шестерня стартера при пуске двигателя (Рис.6).
Характеристики
Тип файла документ
Документы такого типа открываются такими программами, как Microsoft Office Word на компьютерах Windows, Apple Pages на компьютерах Mac, Open Office - бесплатная альтернатива на различных платформах, в том числе Linux. Наиболее простым и современным решением будут Google документы, так как открываются онлайн без скачивания прямо в браузере на любой платформе. Существуют российские качественные аналоги, например от Яндекса.
Будьте внимательны на мобильных устройствах, так как там используются упрощённый функционал даже в официальном приложении от Microsoft, поэтому для просмотра скачивайте PDF-версию. А если нужно редактировать файл, то используйте оригинальный файл.
Файлы такого типа обычно разбиты на страницы, а текст может быть форматированным (жирный, курсив, выбор шрифта, таблицы и т.п.), а также в него можно добавлять изображения. Формат идеально подходит для рефератов, докладов и РПЗ курсовых проектов, которые необходимо распечатать. Кстати перед печатью также сохраняйте файл в PDF, так как принтер может начудить со шрифтами.















