146935 (730361)
Текст из файла
Система Смазки
Для обеспечения работоспособности двигателей последние должны быть оборудованы устройствами для хранения масла, подвода его к трущимся поверхностям, очистки масла от загрязняющих веществ, охлаждения, а также контроля смазывания и состояния масла. Совокупность всех этих устройств образует смазочную систему двигателя. Основное ее назначение — уменьшение потерь на трение, износа трущихся поверхностей и отвода от них теплоты.
а) сухое трение; б) жидкостное трение
Сухое трение вызывает повышенный нагрев деталей и ускоряет их износ. Чтобы уменьшить силу трения и одновременно охладить детали, между их трущимися поверхностями вводят слой масла. Жидкостное трение в десятки раз меньше, чем сухое. При жидкостном трении износ деталей во много раз меньше.
В зависимости от способа организации подвода масла к трущимся поверхностям смазочные системы делят на системы с разбрызгиванием масла, принудительные и комбинированные.
Смазочная система с разбрызгиванием масла применяется в простейших двигателях, имеющих, как правило, в качестве подшипников коленчатого и распределительного валов подшипники качения. В этом случае смазочное масло заливается в картер двигателя до уровня, при котором специальный выступ-черпак на шатуне или крышке шатунного подшипника погружается в масло при нахождении поршня вблизи НМТ.
Образующиеся при этом мелкие брызги масла (масляный туман) разносятся картерными газами по всему объему картера и, оседая на рабочих поверхностях цилиндров, подшипников качения, поршневых пальцев и толкателей газораспределительного механизма, смазывают их; стекая с них, масло уносит теплоту. В таких двигателях коромысла клапанного механизма, регуляторы частоты вращения и другие агрегаты смазываются из отдельных масленок консистентным смазочным материалом или жидким маслом, заливаемым в соответствующие полости.
Если в двигателе используются в качестве шатунных подшипники скольжения, то в крышке около черпака и вкладыше подшипника сверлят отверстие, через которое при ударе черпака о поверхность масла последнее нагнетается в подшипник.
Иногда двигатели снабжают простейшим шестеренным насосом, подающим масло в специальные лотки под шатунами. Это уменьшает затраты энергии на излишний барботаж масла при высоком уровне сразу после заливки и повышает надежность двигателя, так как интенсивность смазывания не зависит от запаса масла в картере.
В карбюраторных двухтактных двигателях с кривошипно-камерной схемой газообмена масло добавляют в топливо в пропорции 1:40—1:50; при заполнении картера топливовоздушной карбюрированной смесью масляный туман осаждается на трущихся поверхностях и смазывает их.
Принудительную смазочную систему (смазка под давлением) применяют в форсированных двигателях, в которых для устранения перегрева трущихся поверхностей и масла с помощью специальных насосов создается его интенсивная циркуляция не только через подшипники коленчатого вала, но и через подшипники поршневого пальца, распределительного вала, валов передач, охладители и фильтры. Кроме того, масло подается в поршни для их охлаждения, к приводам агрегатов, в устройства для управления двигателем и его агрегатами (серводвигатели механизмов реверсирования судовых двигателей, управления лопатками направляющих аппаратов и диффузоров компрессоров и регулятора топливных насосов).
Помимо подвода масла, для охлаждения поршней через шатун с помощью телескопических или шарнирных механизмов осуществляется также орошение внутренней поверхности днища поршней из форсунок, смонтированных в картере двигателя с помощью корпуса 2 шарикового клапана 4 и винта 3. По достижении в главной масляной магистрали 5 определенного давления шарик клапана отжимается, и масло начинает поступать в форсунку 1.
Комбинированные смазочные системы позволяют упростить конструкцию двигателя, так как часть трущихся поверхностей смазывается разбрызгиваемым маслом, а под давлением оно подводится только к наиболее напряженным узлам трения, главным образом к подшипникам коленчатого и распределительного валов.
В зависимости от места хранения запаса масла, необходимого для циркуляции, принудительные смазочные системы, в свою очередь, делят на системы с мокрым картером, в которых запас масла хранится в поддоне картера или раме двигателя, и на системы с сухим картером, в которых запас масла находится в циркуляционных баках или цистернах, а поддон картера или рама двигателя являются только сборниками масла, стекающего со смазываемых поверхностей или из полостей охлаждаемых поршней, серводвигателей, передач или агрегатов.
С мокрым картером
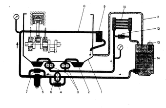
Принципиальная схема смазочной системы:
1 - масляный поддон, 2 - масляный насос, 3 - редукционный клапан масляного насоса, 4 - масломерный щуп, 5 - промежуточная шестерня, 6 - масляный фильтр, 7- редукционный (температурный) клапан, 8 - масляный радиатор, 9 - сливной клапан, 10 - распределительный вал, 11 - манометр, 12 - ось коромысел, 13 - главный масляный канал, 14 - полость шатунной шейки, 15 - коленчатый вал, 16 - масло заливная горловина
По наклонным каналам коленчатого вала масло попадает в полость 14 шатунных шеек, где дополнительно очищается и, выходя на поверхность шеек, смазывает шатунные подшипники. От первого коренного подшипника масло поступает к пальцу промежуточной шестерни 5 и втулке шестерни топливного насоса.
По каналу в одной из шеек распределительного вала масло пульсирующим потоком подается в вертикальный канал блока и по каналам в головке и наружной трубке - в пустотелую ось 12 коромысел. Через отверстия в валике коромысел масло поступает к втулкам коромысел и, стекая по штангам, смазывает толкатели и кулачки распределительного вала.
Стенки цилиндров и поршней, поршневые пальцы, распределительные шестерни смазываются разбрызгиванием. Масло, вытекающее из подшипников коленчатого вала и стекающее с клапанного механизма, разбрызгивается быстровращающимся коленчатым валом на мелкие капли, образуя масляный туман. Капельки масла, оседая на поверхности цилиндров, поршней, кулачков распределительного вала, смазывают их и стекают в поддон картера, откуда масло вновь начинает свой путь. Поршневой палец смазывается капельками масла, которые забрызгиваются в отверстие верхней головки шатуна. В двигателях, имеющих канал в стержне шатуна, поршневой палец смазывается под давлением.
Работу смазочной системы контролируют по манометру 11, показывающему давление в главной магистрали. На некоторых двигателях, кроме того, устанавливают термометр, измеряющий температуру масла в смазочной системе и датчики аварийного падения давления масла.
С сухим картером
Схема смазочной системы с сухим картером:
1 — поддон картера; 2 — маслозаборник; 3 — откачивающие секции насоса; 4—редукционный клапан нагнетательной секции насоса; 5 — нагнетательная секция насоса; 6 — полнопоточный фильтр; 7 — перепускной клапан; 8 — главная масляная магистраль; 9 — сливной клапан; 10 — масляный охладитель; // — труба, соединяющая циркуляционный бак с картером; 12 — предохранительный клапан; 13 — маслозаливная горловина; 14 — циркуляционный бак
В высокофорсированных двигателях применение системы с сухим картером объясняется также тем, что масло меньше времени соприкасается с картерными газами и нагретыми деталями, меньше вспенивается, медленнее окисляется и насыщается водой и топливом, что способствует сохранению свойств масла, сокращению расхода и увеличению сроков между сменами масла.
На рисунке видны дополнительные устройства смазочной системы с сухим картером, которых нет в системе с мокрым картером. Поддон картера или рама имеют по концам углубления, из которых масло откачивается двумя секциями 3 насоса с помощью двух маслозаборников 2 в наружный циркуляционный бак 14 через охладитель 10 по общему нагнетательному трубопроводу, что предотвращает засасывание пены одной из секций. Из циркуляционного бака в главную магистраль 8 двигателя масло подается с помощью нагнетательной секции 5 масляного насоса через полнопоточный фильтр 6.
Состав системы смазки
Масляный насос
Шестеренчатый насос создает циркуляцию масла в смазочной системе двигателя. Он установлен обычно на блок-картере или на крышке коренного подшипника коленчатого вала.
Насосы смазочной системы выполняют двухсекционными (рис. а) и односекционными (рис. б). Двухсекционный насос имеет две секции: основную и радиаторную. Секции разделены между собой проставкой 2. Каждая секция работает независимо от другой как односекционный насос.
Односекционный насос состоит из маслоприемника 9, корпуса 6, крышки и двух шестерен. В корпусе насоса выполнены два цилиндрических колодца для установки шестерен. Ведущая шестерня 4 насоса крепится шпонкой на валу, который опирается на втулки, запрессованные в корпусе и крышке насоса. Ведомая шестерня 5, находясь в зацеплении с ведущей, свободно вращается на пальце, запрессованном в корпусе. Вращаясь в разные стороны, шестерни зубьями перегоняют масло от входного канала корпуса к нагнетательному 7.
Принципиальная схема смазочной системы:
а - двухсекционный, б - односекционный, в - предпусковой, 1 - ведущая шестерня радиаторной секции, 2 - проставка, 3 - ведущий вал, 4 - ведущая шестерня основной секции, 5 - ведомая шестерня основной секции, 6 - корпус, 7 - нагнетательный канал, 8 - сетка маслоприемника, 9 - маслоприемник, 10 -редукционный клапан, 11 - регулировочный винт, 12 - выходное отверстие, 13 - впускное отверстие, 14 - крышка, 15 - корпус, 16 - шестерня привода насоса.
В корпусе насоса есть прилив, в расточке которого смонтирован редукционный клапан 10. Последний предотвращает чрезмерное повышение давления, которое создается масляным насосом при пуске холодного двигателя, т.е. когда масло имеет большую вязкость. С помощью регулировочного винта 11 можно изменить силу давления пружины клапана.
Привод масляного насоса осуществляется у тракторных двигателей от, коленчатого вала через приводную шестерню, а у автомобильных - от шестерни, выполненной заодно с распределительным валом.
Для подачи масла в смазочную систему во время запуска пускового двигателя некоторые тракторные двигатели имеют предпусковой насос (рис. в). Шестерня 16 привода предпускового насоса находится в постоянном зацеплении с шестерней пускового двигателя. Поэтому после его запуска шестерни предпускового насоса забирают масло через заборную трубку из поддона картера и подают через обратный клапан в масляную магистраль. После запуска основного двигателя давление в масляной магистрали повышается и срабатывает обратный клапан, перекрывая поступление масла из блок-картера в предпусковой насос.
Масляный радиатор
Масляный радиатор охлаждает масло в летнее время. Он представляет собой неразборный узел, состоящий из ряда стальных трубок овального сечения и двух бачков: нижнего и верхнего. Для увеличения поверхности охлаждения на каждой трубке навита спираль из тонкой стальной ленты. У масляных радиаторов некоторых двигателей трубки радиатора проходят через охлаждающие пластины, бачки разделены перегородками. К бачкам приварены штуцера, к которым монтируют маслоподводящую и маслотводящую трубки и ушки для крепления радиатора. Масляный радиатор установлен впереди водяного радиатора. У двигателей с воздушным охлаждением масляный радиатор выполнен из единой многократно изогнутой трубки с навитой на нее ленточной спиралью. Масло, двигаясь по трубкам радиатора, обдуваемого снаружи воздухом, охлаждается при полностью открытых жалюзи или шторки на 10-12°С.
Масляный фильтр
Для очистки от механических примесей масла, циркулирующего в системе двигателя, служит масляный фильтр. У большинства современных автотракторных двигателей в качестве фильтра применяют центробежный очиститель (реактивную центрифугу).
В центрифугах (рис. а) масло очищается под действием центробежных сил, возникающих при вращении ротора.
Схема работы центрифуги:
а - реактивной, б – полнопоточной активно-реактивной, 1 - ротор, 2 - механические примеси, 3 - ось, 4 - маслозаборная трубка, 5 - маслоподеодящий канал, 6 - жиклер (форсунка), 7 - корпус ротора, 8 - насадок, 9 - пустотелая ось, 10 - маслоотводящая трубка, 11-корпус фильтра, А, Б - каналы, В-кольцевая полость.
Основные части центрифуги - ротор 1 и ось 3 которая нижней частью ввернута в корпус фильтра. Масло в центрифуге очищается следующим образом. Из масляного насоса оно под давлением поступает через продольное и радиальное отверстия оси и центрирующей колонки внутрь ротора 1. Из ротора масло подходит через трубки к калиброванным отверстиям - жиклерам (форсункам) 6 и вытекает из них с большой скоростью. Отталкивающее действие (реакция) вытекающих струй масла вызывает вращение ротора в обратную сторону. Масло, вытекающее из ротора в корпус фильтра, сливается в картер двигателя.
При нормальном давлении масла ротор вращается с частотой вращения около 630 рад/с (6ccc об/мин). При быстром вращении ротора тяжелые примеси, содержащиеся в масле, под действием центробежной силы отбрасываются к стенкам ротора и оседают на них в виде плотного смолистого слоя.
На двигателях последних выпусков применяется полнопоточная масляная центрифуга. Особенность ее состоит в том, что все масло очищается в роторе реактивной центрифуги. В отличие от рассмотренной центрифуги в пустотелую ось 9 ротора вставлена маслоотводящая трубка 10, имеющая выход к масляной магистрали.
Характеристики
Тип файла документ
Документы такого типа открываются такими программами, как Microsoft Office Word на компьютерах Windows, Apple Pages на компьютерах Mac, Open Office - бесплатная альтернатива на различных платформах, в том числе Linux. Наиболее простым и современным решением будут Google документы, так как открываются онлайн без скачивания прямо в браузере на любой платформе. Существуют российские качественные аналоги, например от Яндекса.
Будьте внимательны на мобильных устройствах, так как там используются упрощённый функционал даже в официальном приложении от Microsoft, поэтому для просмотра скачивайте PDF-версию. А если нужно редактировать файл, то используйте оригинальный файл.
Файлы такого типа обычно разбиты на страницы, а текст может быть форматированным (жирный, курсив, выбор шрифта, таблицы и т.п.), а также в него можно добавлять изображения. Формат идеально подходит для рефератов, докладов и РПЗ курсовых проектов, которые необходимо распечатать. Кстати перед печатью также сохраняйте файл в PDF, так как принтер может начудить со шрифтами.















