146732 (730130), страница 5
Текст из файла (страница 5)
Присадки RVS. Традиционное решение этой проблемы за счет увеличения концентрации в маслах известных присадок не оказалось в достаточной мере эффективным. Так, по данным работы увеличения концентрации присадки диалкилдитиофосфата цинка в масле от 1 до 2% привело к снижению усталостной долговечности пар трения в 8-10 раз. В последние годы рекомендуется для улучшения антипиттинговых свойств смазывающих масел добавлять к ним молибденсодержащие присадки [23]. Вместе с тем показано, что применение малорастворимых молибденсодержащих органических соединений в качестве присадок к маслам может вызвать как антипитинговое, так и пропитинговое действие в зависимости от величины удельных нагрузок. Все изложенное выше указывает на то, что механизм действия присадок изучен недостаточно и в каждом конкретном случае требует стендовых и эксплуатационных испытаний на реальных редукторах, трансмиссиях и т. д.
Для сокращения времени испытаний и материальных средств, затрачиваемых на такие испытания, в мировой практике идут по следующему пути: лабораторные испытания; стендовые испытания; эксплуатационные (квалификационные) испытания.
Лабораторные испытания позволяют очень быстро сузить область действия рекомендуемых присадок, оценить их противоизносные и противозадирные свойства и совместимость с материалами, из которых изготовлены узлы трения в реальной конструкции.
Целью данных исследований явилось изучить влияние присадки RVS на износостойкость материалов (противоизносные свойства), способность сопротивляться задиру материалов (противозадирные свойства) и снижать механические потери на трение (антифрикционные свойства) [20].
Кроме этого, дополнительной целью исследования было оценить перечисленные выше свойства присадки RVS с перспективными присадками: 0128, 0228, 0328, ГТН1, ГТН12.
Для сравнительных испытаний использовалось минеральное масло:
индустриальное - 20 по ГОСТ 20779-75 (базовое масло) и
индустриальное - 20 с присадкой RVS,
индустриальное - 20 с присадкой 0128,
индустриальное - 20 с присадкой 0228,
индустриальное - 20 с присадкой 0328,
индустриальное - 20 с присадкой ГН1,
индустриальное - 20 с присадкой ГТН12.
Оценка смазывающих свойств базового масла и масла с присадками производилась согласно ГОСТ 9490-75 «Материалы смазочные жидкие и пластичные. Метод определения смазывающих свойств на четырехшариковой машине».
Оценка противоизносных свойств (интенсивности изнашивания) и механических потерь на трение (коэффициентов трения) базового масла и базового масла с присадками при различном сочетании материалов:
- сталь 40Х (HRC52) в сочетании с бронзой Бр. С30 (моделирование работы сопряжения: коленчатый вал - подшипник скольжения);
- чугун специальный ЧС (НВ210) - моделирование работы гильза цилиндра.
Испытания проводились согласно ГОСТ 23. 224-86 «Обеспечение износостойкости изделий» по группе А.
Группа А - сравнительные экспресс испытания, сущность которых состоит в определении соотношения интенсивностей изнашивания и коэффициентов трения материалов пар трения в смазочной среде без присадки. Испытания проводятся при заранее установленных идентичных условиях.
Исследования поверхностей трения материалов на определение микротвердости после испытания в масле с присадкой и в масле без присадки на идентичных материалах проводилось по ГОСТ 9450-76 «Испытания на микротвердость изделий и образцов из металлов и сплавов (а также их структурных составляющих) минералов, стекол, пластмасс, керамики, тонких листов фольги, гальванических, диффузионных, электроосажденных покрытий».
Трибологические исследования проводились на усовершенствованной машине 2070 СМТ-1, которая позволяет реализовывать следующие кинематические схемы испытаний: «диск-диск», «диск-колодка», «диск-плоскость», «диск-втулка», пальчиковый «образец-плоскость», «кольцо-кольцо» («торцы колец»), «четырехшариковая схема».
При проведении исследований на машине трения использовались получившие широкое распространение в трибологических исследованиях площадные пары трения по схемам «кольцо-кольцо», «диск-колодка», а также пары трения с начальным контактом по линии «диск-диск», и начальным контактом в точке «четырехшариковая схема». Кинематические схемы контакта трибосопряжений приведены на рис. 3. 1.
При проведении всех серий трибологических испытаний реализовывалась прямая пара трения, т. е., соблюдались следующие условия:
- вращался образец с большей номинальной площадью и большей твердостью исходной структуры материала поверхности, за исключением испытаний по четырехшариковой схеме, где материалы подвижных и не подвижных элементов одинаковы;
- нагрузка прикладывалась через неподвижный образец.
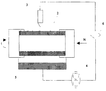
Для реализации режимов граничного трения машина трения была оборудована системой смазки образцов, работающей по замкнутому типу (рис. 3.2.). Масло подавалось непосредственно в зону трения подвижного 1 и неподвижного 2 образцов через форсунку 3 с помощью шестеренчатого насоса 4 переменной проводимости. Слив осуществлялся самотеком в маслосборник 5, который одновременно служил маслобаком. С целью исключения влияния продуктов износа установлен фильтр тонкой очистке. Привод шестеренчатого насоса осуществлялся от электромотора через редуктор.
Рис. 3.1 Кинематические схемы контакта: (а) - «диск-колодка»; (б) - «кольцо-кольцо» («торцы колец»); (в) - «диск-диск»; (г) - «четырехшариковая схема»
Экспериментальные исследования проводились на одной и той же машине трения, что позволило свести к однообразному влиянию на результаты испытаний фактора установки, как-то: ее вибрации, погрешности измерений момента трения, частоты вращения, нагрузки и т.д.
Рис. 3.2 Система смазки образцов на усовершенствованной машине трения 2070 СМТ-1
Рис. 3.3. К методике определения линейного износа способом искуственных баз: а) - после вдавливания конусного индентора; б - перед началом испытаний и после испытаний.
При проведении экспериментов регистрировали момент трения с пересчетом в силу трения, определяли линейный износ обоих образцов с пересчетом в суммарную скорость износа, шероховатость поверхностей трения, температуру в зоне трения.
Перед установкой на машину трения поверхности образцов обрабатывались по общепринятой методике ГОСТ 23.210-80. Шероховатость рабочих поверхностей доводилась до Ra < 0,20. С целью исключения микрорезания острые кромки притуплялись до R - 0,5 мм.
Для повышения воспроизводимости результатов применяли предварительную обработку образцов и контролировали сопряжение поверхностей, характеризуемого следами трения на площади не менее 90% рабочей поверхности трения каждого образца [25]. После приработки образцы промывали ацетоном (ГОСТ 2603-79) и сушили в течение 2-х часов при температуре 70 С.
Линейный износ на образцах пар трения «кольцо-кольцо», «диск-колодка», на подвижном ролике пары трения «диск-диск» определялся методом искусственных баз (ГОСТ 23.301-78). В основе этого метода лежит определение количественной величины линейного износа по изменению размеров суживающегося углубления заранее известного профиля, выполненного на исследуемой поверхности (Рис 3.3). Для этого необходимо, чтобы углубление имело в сечении геометрически правильную, заранее заранее известную форму. Тогда о величине износа можно судить по ширине лунки, видимой на испытуемой поверхности. Углубление может иметь форму не только лунки, но любую другую с тем, чтобы один какой-либо ее размер закономерно уменьшался по глубине. Положение дна углубления при износе поверхности остается не неизменным, поэтому оно является той искусственной базой, от которой можно вести измерение расстояния до поверхности. Зная заранее соотношение длинны и глубины отпечатка и наблюдая за его изменением, можно определить величину линейного износа. Суживающееся углубление определенного профиля может быть получено в результате вдавливания наконечника в виде пирамиды или конуса, высверливанием конического углубления, вырезанием вращающимся резцом остроугольной лунки, выпиливанием или вышлифовыванием диском. Размер диагонали предполагаемой величины износа. Чаще всего в качестве индентора применяют квадратную пирамиду с углом при вершине между противоположными гранями 136 или конус с углом при вершине - 120°. Изготавливаются они не только из алмаза, но и из твердых сплавов, а для отпечатков на металлах невысокой твердости - из закаленной инструментальной стали. В зависимости от применяемого индентора и способа его использования различают лунки, полученные на поверхности пластического материала, то величина линейного износа ∆b может быть подсчитана по формуле:
где ∆b - глубина отпечатка, С - диаметр проекции отпечатка на испытуемой поверхности (индексы 1 и 2 соответствуют измерениям диаметра до и после испытания), Z - коэффициент пропорциональности, постоянный по всей глубине отпечатка, если отпечаток выполнен конусом с углом при вершине α - 120°, Z - 3,464 тогда:
Получение отпечатков с помощью шариков приводит к большой погрешности, т. к. в этом случае форма отпечатков вследствие упругого восстановления получается отличной от формы шарика, а необходимые поправки производить сложно, потому что они зависят не только от свойств испытуемого материала, но и от величины отпечатка. Основными отрицательными явлениями при всяком вдавливании следует считать упругое восстановление исследуемого материала, но и от величины отпечатка. Основным отрицательным явлениями при всяком вдавливании следует считать упругое восстановление исследуемого металла и выдавливание части металла, которое образует возвышение на поверхности вокруг отпечатка. Эти явления искажают исходную шероховатость поверхности и первое определение диаметра отпечатка, а поэтому требуют выяснения величины вспучивания и деформации для того, чтобы установить, как велика будет ошибка при определении износа у различных материалов, если не учитывать эти явления. Вспучивание металла в данной работе удалялось в ручную мелкозернистым наждачным бруском или на наждачной бумаге. Такие операции производились для пары трения «диск-кольцо», где поверхности трения плоские [23]. Для пары трения «диск-колодка» вспучивание удалялось предварительной приработкой.
Время проведения эксперимента выбиралось эмпирическим путем из условия получения достоверных данных об износе.
Лунки наносились на твердомере БО-2 алмазным конусом с углом при вершине 120°. Измерение отпечатков конуса проводилось на микроскопе МЕТАМ Р-1.
Первая серия испытаний проводилась по четырехшарикововой схеме (рис. 3.2.1.) согласно ГОСТ 9490-75. Испытания имели целью определить противоизносные свойства масел (базового и масел с присадками) и проранжировать их по способности снижать износ.
В качества параметра, оценивающего противоизносные свойства, применялся показатель износа Dи по ГОСТ 9490-75.
Показатель износа Dи определяли при постоянной нагрузке 500Н, время испытаний 60 мин.
Показателем износа Dи в миллиметрах считают среднее арифметическое значение диаметров пятен износа нижних шариков двух параллельных испытаний.
Результаты испытаний представлены в таблице 3.1.
Если показатель износа, характеризующий противоизносные свойства базового масла, равный 1,0, принять за 100%, то улучшение противоизносных свойств можно оценить в процентах по отношению к базовому маслу, что и отражено в таблице 3.1.
Вторая серия испытаний - определение коэффициента трения (антифрикционных свойств) производилась по схеме испытаний «диск-диск» (рис. З.1.). Материалы дисков соответствовали материалу шариков для четырехшариковой схемы (сталь ШХ15 HRC62). Результаты испытаний представлены в таблице 3.2.
Таблица 3.1 - значение показателей износа для различных смазочных материалов.
| № п/п | Смазочный материал | Ср. значение показ-ля износа Dи, мм | Улучшение противоизносных св-в, % |
| 1 | Индустриальное масло И-20 (базовое масло) | 1,0 | 0 |
| 2 | И-20 с присадкой RVS | 0,9 | 10 |
| 3 | И-20 с присадкой 0128 | 0,9 | 10 |
| 4 | И-20 с присадкой 0228 | 0,85 | 15 |
| 5 | И-20 с присадкой 0328 | 0,83 | 17 |
| 6 | И-20 с присадкой ГТН-1 | 0,83 | 17 |
| 7 | И-20 с присадкой ГТН-12 | 0,87 | 13 |
Таблица 3.2 - Значение коэффициента трения для различных смазочных материалов.
| № п/п | Смазочный материал | Коэффициент трения | Улучшение антифрикционных св-в, % |
| 1 | Индустриальное масло И-20 (базовое масло) | 0,85 | 0 |
| 2 | И-20 с присадкой RVS | 0,075 | 10 |
| 3 | И-20 с присадкой 0128 | 0,08 | 0 |
| 4 | И-20 с присадкой 0228 | 0,072 | 10 |
| 5 | И-20 с присадкой 0328 | 0,047 | 41 |
| 6 | И-20 с присадкой ГТН-1 | 0,056 | 30 |
| 7 | И-20 с присадкой ГТН-12 | 0,064 | 20 |
На основании полученных результатов, которые предоставлены в таблице 3.1 и 3.2, можно проранжировать смазочные материалы в ряд, с убыванием противоизносных и антифрикционных свойств:















