146683 (730072), страница 2
Текст из файла (страница 2)
Об изменении технического состояния узла можно судить по непосредственному признаку (например, разбраковка деталей по результатам их измерений); по совокупности косвенных признаков (например, оценка состояния газораспределительного механизма по стукам и вибрациям). При известной четкой взаимосвязи структурных и выходных параметров объекта в определенных условиях последние можно принимать за косвенные признаки или симптомы неисправного технического состояния узла (агрегата) без его разборки, так как выходные процессы и соответствующие им выходные параметры можно наблюдать и измерять извне. Чтобы параметр выходного процесса мог стать диагностическим симптомом, он должен быть однозначным, со строгой зависимостью структурного параметра и параметра выходного процесса; с широким полем изменения, когда относительное изменение параметра выходного процесса гораздо больше изменения структурного параметра; удобным для измерения.
Диагностические симптомы по степени их взаимозависимости делят на независимые и зависимые. Независимые указывают на конкретную неисправность (измерением величины прогиба трубы карданного вала непосредственно определяют неисправность). Эти симптомы еще называют частными, они указывают на вполне конкретную неисправность узла или механизма. Частные симптомы и методы их измерения разработаны пока еще мало. Зависимые или симптомы-комплексы позволяют установить неисправность по нескольким симптомам одновременно. Например, износ тормозных накладок колеса определяют по тормозному пути колеса или тормозному усилию на этом колесе и по величине свободного хода педали. Определить износ накладок только по велечине тормозного пути невозможно. В состав симлтомов-комплетасов входят часто общие (иптетральные), которые характеризуют техническое состояние объекта в целом, например, величина мощности двигателя, расход топлива, суммарный окружной люфт деталей трансмиссии, общий уровень шума агрегата, величина тормозного пути, давления масла в магистрали и др.
Необходимы глубокие исследования неисправных состояний узлов и агрегатов автомобиля и сопутствующих им выходных процессов и их параметров, которые могли бы служить симптомами неисправностей. Для этого следует изучить характерные процессы, сопутствующие работе сопряжения, находящегося в исправном или неисправном состояниях (шум, вибрация, стук, колебания давления и др.), выполнить анализ параметров этих процессов с точки зрения соответствия требованиям к диагностическим симптомам, исследовать закономерности изменения параметров, сопутствующих выходных процессов от пробега узла или агрегата, установить допустимые и предельные значения этих параметров для разных условий эксплуатации, разработать эффективные методы и быстродействующую аппаратуру для фиксации диагностических симптомов. При оптимальном диагностировании любую неисправность объекта диагностики можно обнаружить по наименьшему числу симптомов, следовательно, применять малое количество приборов и датчиков и свести к минимуму трудоемкость диагностирования, исследовать и разработать точные методы прогнозирования с целью установления ресурса безотказной работы узла, агрегата, автомобиля в целом.
В качестве диагностирующих симптомов применяют различные параметры, в том числе:
-
величину относительного смещения сопряженных деталей (окружные люфты в агрегатах трансмиссии, зазоры между торцами коромысла или толкателя и клапана, между шкворнем и втулкой, в подшипниках колес, пробуксовка сцепления);
-
скорость и температуру нагрева сопряжений (качество регулирования подшипников вала, тормозов и др.);
-
герметичность рабочих объемов (давление в шинах, утечка воздуха из камеры сгорания двигателя, течи, подтекания и др.);
-
содержание примесей в масле, состав и концентрацию компо-нентов в отработавших газах двигателя;
-
электрическая характеристика (систем зажигания и других электрических цепей);
-
мощностные, экономические показатели и т. д.
Перед измерением перечисленных параметров оценку технического состояния узла, агрегата производят визуальным контролем. Внедрение технической диагностики, инструментальной проверки не заменяет операции технического контроля, субъективной оценки состояния механизма при проверке выполнения объема и качества технического обслуживания и текущего ремонта.
При диагностике сложных механизмов необходимо вначале измерить параметры, которые характеризуют агрегат в целом, а затем переходить к диагностике элементов механизма. Изменение технического состояния узла, агрегата автомобиля предварительно можно оценить в колнчественной форме на основе системного подхода к автомобилю, по износу, например, протектора шин, зубчатых передач, шлицевых соединений, крестовин и т. д.
При диагностике двигателя оценивают его работоспособность по мощностным и экономическим показателям. С этой целью измеряют силу тяги или мощность, расход топлива при заданной нагрузке и скорости движения. Мощность можно измерить по интенсивности разгона автомобиля при полном открытии дросселя.
О техническом состоянии автомобиля судят и по величине механических потерь в агрегатах трансмиссии, по результатам внешнего осмотра. Чем больше механические потери, тем меньше накат. Накат автомобиля определяют по пути, пройденному автомобилем с поставленным в нейтральное положение на скорости 30 км/ч рычагом коробки передач. На стенде с помощью электродвигателя можно измерить и коэффициент полезного действия трансмиссии автомобиля. При нейтральном положении рычага коробки передач включают электродвигатели нагрузочного устройства стенда и измеряют величину крутящего момента, необходимого для привода трансмиссии.
Более конкретную оценку технического состояния сложных механизмов можно получить по результатам диагностики элементов механизма. [1, c. 61-80]
2.1. Прогнозирование пробега автомобиля до текущего ремонта его агрегатов
Прогнозирование потребности какого-либо агрегата в ремонте позволяет еще до наступления отказа выполнить регулировочные работы, подготовить детали для текущего ремонта и выполнить текущий ремонт при оптимальном пробеге. Прогнозировать потребность агрегата в текущем ремонте можно по экономическому или техническому критериям, а также по изменению технического состояния данного агрегата.
Прогнозированием технического состояния сопряжения называют научно обоснованное определение с известной вероятностью пробега, по истечении которого диагностируемый параметр или эксплуатационный показатель достигнет заданного значения. Для прогнозиро-вания изменения технического состояния узла или агрегата необходимо знать закономерность изменения критерия состояния в зависимости от пробега автомобиля и результаты диагностирования при разных пробегах конкретного узла или агрегата.
Поскольку причиной изменения технического состояния узлов автомобиля является износ сопряжений, то и прогнозировать следовало бы износ сопряжений. Практически такое прогнозирование возможно для шин и тех узлов, в которых измерение зазора в сопряжениях можно выполнить сравнительно просто и с высокой точностью. Зазор, люфт в сопряжениях довольно просто можно измерить в системе управления, например, рулевого колеса, в редукторе заднего моста, между зубьями шестерен коробки передач, в карданных шарнирах, в шлицевых соединениях и т. д.
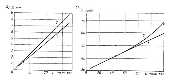
Прогнозирование износа сопряжений и деталей в процессе эксплуатации автомобиля можно производить по износу шин. /рис. 2.1/, а приведены данные по износу протектора шины легкового автомобиля в зависимости от пробега. Глубина канавки нового протектора 10 мм; после пробега 5,5 тыс км. она стала 8,8 мм, износ составил 1,2 мм. При такой интенсивности изнашивания протектора пробег автомобиля до полного его износа составит значительно больше 40 тыс. км - кривая 1. По результатам второго измерения можно скорректировать пробег автомобиля до снятия покрышки в ремонт для наложения нового протектора (кривая 2), он несколько меньше 40 тыс. км. Ошибка прогнозирования величины пробега шины до предельного состояния может быть из-за того, что принята линейная зависимость вместо экспоненциальной.
Определение технического состояния агрегатов особенно необходимо, когда узел или агрегат отказал. По отдельным практически установленным признакам можно найти сопряжение или узел, где нарушена работоспособность. Но это крайний случай. Желательно момент наступления отказа предвидеть заранее с тем, чтобы его исключить.
В практических условиях узел (агрегат) ремонтируют, детали заменяют на основе имеющегося опыта эксплуатации автомобилей в заданных условиях, пробег до ремонта оценивают по статистическим данным с большой погрешностью. Повышение точности оценки технического состояния агрегата позволяет уменьшить затраты на ремонт неисправного агрегата за счет прогнозирования пробега автомобиля до наступления предельного изменения технического состояния, если известны предельная величина, закономерность изменения критерия в процессе эксплуатации и состояние узла (агрегата) за предыдущий пробег.
Причиной изменения технического состояния узла является износ. Но, пожалуй, определяют непосредственно по износу только техническое состояние шин, коробки передач, заднего моста, рулевого управления - по изменению высоты протектора, по зазорам в зубчатых передачах, в шарнирах и других сопряжениях. Величину неисправности узлов, агрегатов оценивают по изменению эксплуатационных показателей: расходу масла, прорыву газов в картер двигателя, шумам, температуре нагрева и др. [1, c.60]
Рис. 2.1. Изменение технического состояния узлов в процессе эксплуатации
автомобиля:
а — износ S протектора шипы автомобиля ГАЗ-24 в зависимости от пробега l по результатам
двух измерении: 1 — первого; 2 — второго;
б — изменение зазора (люфта) S в редукторе автомобиля ЗИЛ-130 в зависимости от пробега l:
1 — линейная зависимость; 2 — экспоненциальная зависимость.
Приведенный графический способ прогнозирования является простейшим, его вполне можно применять при линейной закономерности износа или изменения другого критерия технического состояния узла в зависимости от пробега автомобиля. Аналогично можно прогнозировать износ тормозных накладок.
Износ остальных сопряжений деталей, изменение большинства эксплуатационных показателей имеет более сложную закономерность.
Прогнозировать техническое состояние некоторых агрегатов, узлов и сопряжений можно только по эксплуатационным показателям, так как измерить зазоры, люфты без разборки узла невозможно. Так, техническое состояние сопряжения кольцо - канавка поршня двигателя внутреннего сгорания можно оценить по расходу масла на угар, сопряжения кольцо - гильза — по утечке газа в картер, подшипников коленчатого вала и всей совокупности сопряжений двигателя внутреннего сгорания, смазка которых производится под давлением, по изменению давления в системе смазки.
П
рогнозирование потребности агрегата в текущем ремонте следует производить главным образом по экономическому критерию. Замену агрегата, узла, детали производят при минимальных суммарных удельных затратах Са на приобретение и на поддержание Спр работоспособности
Удельные затраты на приобретение Са зависят от стоимости агрегата Са и его пробега l после установки
Удельные затраты на поддержание работоспособности Спр зависят от стоимости СД заменяемых детален, узлов, величины заработной платы Сз рабочим за установку, убытка Сп от простоя автомобиля и пробега l с начала эксплуатации
При расчете удельных затрат на поддержание работоспособности при пробеге l автомобиля с начала эксплуатации суммируют стоимость всех замененных за это время деталей, зарплату рабочих за установку всех этих деталей и убытки от простоя автомобиля при замене отказавших деталей или узлов.
По удельным затратам определяют экономически обоснованный пробег автомобиля до замены дорогостоящей детали, узла, агрегата и постановки автомобиля в капитальный ремонт. [1, c. 81-86]
3. Планово-предупредительная система технического обслуживания и ремонта подвижного состава
Для поддержания подвижного состава автомобильного транспорта в технически исправном состоянии, необходимом для нормальной эксплуатации, принята планово-предупредительная система технического обслуживания и ремонта.
Технически исправное состояние подвижного состава достигается путем технического обслуживания и ремонта.
Техническое обслуживание проводится принудительно в плановом порядке через определенные пробеги или время простоя подвижного состава.
Ремонт предназначен для восстановления и поддержания работоспособности подвижного состава, устранения отказов и неисправностей, возникших при работе или выявленных в процессе технического обслуживания. Ремонтные работы выполняются как по потребности (после появления соответствующего отказа или неисправности), так и по плану через определенный пробег или время работы подвижного состава - предупредительный ремонт.















