146538 (729918), страница 2
Текст из файла (страница 2)
КПД,% ___________________________________________________94,4
cos , % ___________________________________________________0,86
Выбор тиристорного возбудителя двигателя.
Тиристорный возбудитель двигателя должен обеспечивать три режима:
- ослабленный;
- форсированный;
- нормальный.
В ослабленном режиме:
В номинальном режиме работы:
В форсированном режиме:
Мощность тиристорного возбудителя двигателя:
Sтвд = Uв.ном.дIв.ном.дKп
где
Kп = 1,041,05 - повышающий коэффициент мощности трансформатора.
Sтвд = Uв.ном.д Iв.ном.д Kп = 220 *4З * 1,04 = 9838 ВА
По всем параметрам подходит нереверсивный тиристорный возбудитель: Тип_____________________________________________АТЕЗ-50/230Р-У4 Напряжение питания сети________________________________190-220 В Номинальный выпрямленный ток______________________________50 А Максимальный ток__________________________________________100 А Номинальная мощность ____________________________________11.5 кВт
Выбор тиристорного возбудителя для генератора.
Uтвг.max =1.15Uв.ном.г = 1,15*230=264,5В
Iном.твг = KзIв.ном.г = 1,15*58.6= 66,7 A
По всем параметрам подходит реверсивный тиристорный возбудитель: Тип____________________________________________АТЕРЗ-50/230Р-У4 Напряжение питания сети ______________________________190-220 В Номинальный выпрямленный ток _________________________50 А Максимальный ток _______________________________________100 А Номинальная мощность ____________________________________11.5 кВт
Выбор автомата главного тока.
Автомат главного тока выбирают по максимальному току и выпрямленному напряжению.
Imax= 2,5Iд.ном = 2,5* 920 = 2300 А
Тип выключателя_____________________ ВЛТ-42-4000/6-А-У4 Номинальный ток _________________________________2500 А Номинальное напряжение ___________________________600 В
6. Составление структурной схемы привода и расчет ее параметров.
На рисунке представлена структурная схема электропривода по системе Г-Д с тиристорным возбуждением генератора.
Двигатель представлен колебательным звеном, а генератор и тиристорный преобразователь представлены апериодическими звеньями.





















Mc(P)
Ic(P)
Uc(P) Uв(P) Uг(P) Uг(P) Iя(P) Iд(P)
Uупр(P) n(p)
Uom(P) Eд(P)
где
Uн.д - номинальное напряжения двигателя, В
1я.д - номинальный ток якоря двигателя, А
Rя.д - сопротивление якорной цепи двигателя, 0м
пн - номинальные обороты двигателя, об/мин
Определим сопротивление якорной цепи генератора
Uн.г -номинальное напряжение генератора, В
Iн.г -номинальный ток генератора, А
Определим суммарное сопротивление якорной цепи двигателя и генератора
где
Rя.д -сопротивление якоря двигателя, 0м
Rд.п.д -сопротивление добавочных полюсов двигателя, 0м
Rя.г -сопротивление якоря генератора, 0м
Причем, сопротивления R, R, R, входящие в эту электрическую
цепь мы не учитываем т.к. их величины на два порядка меньше сопротивлений представленных в этой формуле.
О
пределим электромеханическую составляющую привода:
где
Jдв -момент инерции двигателя,
Jдв = 1.2Jдв -момент инерции рабочей машины,
g
= 9,8 -ускорение свободного падения, м/с
Определим индуктивность якоря генератора:
где
Uном -номинальное напряжение генератора, В
1ном -номинальный ток генератора, А
пном -номинальная скорость вращения, об/мин
р = 6 -число пар полюсов генератора
Найдем суммарную индуктивность двигателя и генератора:
Определим постоянную времени якорной цепи привода:
Постоянная времени Т = 0,003 для многоканальной СИФУ.
где
Рном -номинальная мощность генератора, кВт
nном -номинальное число оборотов генератора, об/мин
Найдём,
где U упр.max - максимальное напряжение управления В.
7. Расчет статических характеристик привода.
Для дальнейших расчетов необходимо преобразовать исходную структурную схему.

















Mc(P)
Ic(P)
Uc(P) Uв(P) Uг(P) Uг(P) Iя(P) Iд(P)
Uупр(P) n(p)








Iя Iд
Ic
Mc
Для преобразованной структурной схемы запишем систему уравнений:
Воспользуемся методом подстановок приведенных выражений друг в друга и ориентируясь на то, что в левой части - скорость, а в правой - момент конечном выражении получим:
П
редположим, что р= 0 (для замкнутой системы):
Предположим, что Кт = 0 (разомкнутая система):
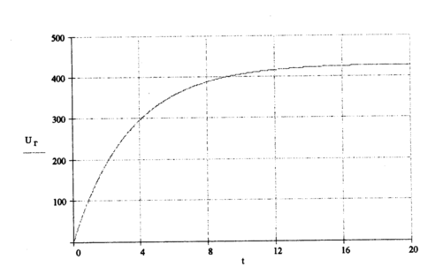
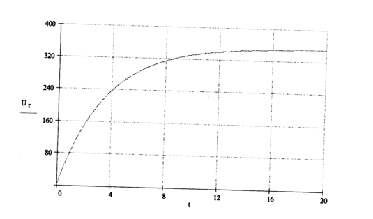
9. Расчет динамических характеристик привода.
П
реобразуем исходную систему уравнений методом подстановки.
С
делаем замену и подставим в систему уравнений.
10. Заключение.
Выполняя данную работу, мы не только закрепили пройденный теоретический материал, но и обрели некоторые практические навыки при проектировании данной системы электропривода и расчета ее параметров, что является важнейшим фактором нашей программы обучения. Также, используя необходимую справочною литературу, мы получили действительные представления о современных систем электроприводов и о большом количестве электрооборудования, используемом в настоящее время в электроприводе на различных предприятиях, в том числе, и горных.
II. Список литературы.
1. Комплектные тиристорные электроприводы: Справочник/Под ред. В.М. Перельмутера, 1988;
2. Автоматическое регулирование. : Н.Н. Иващенко, 1978г;
3. Теория электропривода: В.И. Ключев, 1985;
4. Примеры расчетов автоматизированного электропривода/Под ред. А.В. Бошарина, 1972г.
5. Исследование характеристик электропривода по системе Г-Д с тиристорным возбуждением; методическое пособие/Под редакцией Б.В. Васильева 1986г.
t