146464 (729815)
Текст из файла
Российский государственный профессионально педагогический университет
Контрольная работа
По предмету: «Технология и оборудование сварки»
Вариант 9
Выполнил студент гр. ЗСМ 411
Соколов М. В.
Проверил Преподаватель
_________________
Екатеринбург
2004
Содержание
1.Описать конструкцию и принцип действия
универсальных газовых горелок
(с указанием марки и технических характеристик) для
сварки, резки и подогрева металлов. 3
2. Обосновать выбор технологии газовой сварки
легированной стали З0ХГСА. При рассмотрении
этого вопроса выявить связь выбранного режима
(предварительного, сопутствующего и последующего
подогрева) с составом стали, структурными
изменениями в металле шва и зоне термического
влияния. Результаты оформить в виде таблиц. 9
3. Условия и требования к разрезаемому металлу,
определяющие возможность протекания процесса резки.
Рассчитать расход режущего кислорода при
ручной кислородной резке
стали толщиной 50-100мм и 500мм. 13
4. Список литературы 16
1.Описать конструкцию и принцип действия универсальных газовых горелок (с указанием марки и технических характеристик) для сварки, резки и подогрева металлов.
Горелка – это устройство, предназначенное для получения пламени необходимой тепловой мощности, размеров и формы. Все существующие конструкции газо-плазменных горелок можно классифицировать следующим образом:
1) по способу подачи горючего газа в смесительную камеру — инжекторные и безынжекторные;
2) по мощности пламени — микро мощности (10—60 дм3/ч ацетилена); малой мощности (25—400 дм3/ч ацетилена); средней мощности (50—2800 дм3/ч ацетилена) и большой мощности (2800— 7000 дм3/ч ацетилена);
3) по назначению — универсальные (сварка, резка, пайка, наплавка, подогрев); специализированные (только сварка или только подогрев, закалочные и пр.);
4) по числу рабочих пламен — одноплеменные и многопламенные;
5) по способу применения — для ручных способов газопламенной обработки; для механизированных процессов.
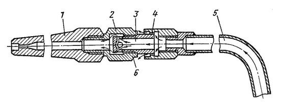
Инжекторные горелки. Кислород через ниппель / инжекторной горелки проходит под избыточным давлением 0,1—0,4 МПа (1 — 4 кгс/см2) и с большой скоростью выходит из центрального канала инжектора 8 (рис. 1). При этом струя кислорода создает разрежение в ацетиленовых каналах рукоятки 3, за счет которого ацетилен подсасывается (инжектируется) в смесительную камеру 10, откуда образовавшаяся горючая смесь направляется в мундшук 13 и на выходе сгорает. Инжекторные горелки нормально работают при избыточном давлении поступающего ацетилена 0,001 МПа (0,01 кгс/см2) и выше.
Повышение давления горючего газа перед горелкой облегчает работу инжектора и улучшает регулировку пламени, хотя при этих условиях приходится прикрывать вентиль горючего газа на горелке, что может привести к возникновению хлопков и обратных ударов пламени. Поэтому при использовании инжекторных горелок рекомендуется поддерживать перед ними давление ацетилена (при работе от баллона) в пределах 0,02—0,05 МПа (0,2—0,5 кгс/см2).
Рис. 1. Инжекторная горелка:
1 — кислородный ниппель; 2 — ацетиленовый ниппель; 3 — рукоятка; 4 — кислородная трубка; 5 — вентиль для кислорода; 6 — корпус; 7 — вентиль для ацетилена; 8 — инжектор; 9 — накидная гайка; 10 — смесительная камера; 11 — наконечник; 12 — соединительный ниппель; 13 — мундштук
Инжекторные горелки рассчитывают таким образом, чтобы они обеспечивали некоторый запас ацетилена, т. е. при полном открытии ацетиленового вентиля горелки расход ацетилена увеличивался бы по сравнению с паспортным для инжекторных горелок — не менее чем на 15%; для инжекторных резаков — не менее чем на 10% максимального паспортного расхода ацетилена.
На рис. 2 показаны в качестве примера конструкции инжекторных горелок средней мощности ГС-3 и малой мощности ГС-2 для сварки металлов. Горелки снабжают набором сменных наконечников, различающихся расходом газа и предназначаемых для сварки металлов разной толщины. Номер требуемого наконечника выбирают в соответствии с требуемой тепловой мощностью пламени, выраженной в дм3/ч ацетилена. К рукоятке горелки ГС-3 можно присоединять и другие наконечники, например многопламенные для подогрева, для пайки, вставные резаки для резки металла
Рис. 2. Внешний вид и разрез горелок
а)— типа ГС-3; б) — типа ГС-2; 1 — трубка наконечника; 2 — смесительная камера; 3 и 5 — уплотнительные кольца из масло термостойкой резины; 5 — маховичок; 6 — шариковый клапан; 7 — пластмассовая рукоятка; 8 — ацетиленовый ниппель; 9 — корпус; 10 — инжектор; 11 — накидная гайка; 12 — мундштук
Для сварки и наплавки металлов большой толщины, нагрева и других работ, требующих пламени большой мощности, используют инжекторные горелки ГС-4 с наконечниками № 8 и 9:
№ наконечника 8 9
Расход газов, дм3/ч:
ацетилена...... 2800—4500 4500—7000
кислорода...... 3100—5000 5000—8000
Толщина свариваемой
стали, мм....... 30—50 50—100
В наконечниках ГС-4 инжектор и смесительная камера установлены непосредственно перед мундштуком. Горючий газ подается в инжектор по трубке, расположенной внутри трубки подачи кислорода. Этим предупреждается нагревание горючего газа и смеси отраженной теплотой пламени, что снижает вероятность обратных ударов пламени и хлопков при использовании пламени большой мощности. Горелка ГС-4 может работать на пропан бутане, для чего снабжена двумя наконечниками с сетчатыми мундштуками, рассчитанными на расходы: № 8 — пропан бутана 1,7—2,7, кислорода 6—9,5 м3/ч; № 9 — пропан бутана 2,7—4,2, кислорода 9,5— 14,7 м3/ч.
Рис. 3. Наконечник с подогревателем для сварки на пропан бутане
1 — мундштук; 2 — подогревающая камера; 3 — подогреватель; 4 — сопла подогревателя; 5 — трубка горючей смеси; 6 — подогревающие пламена.
Мундштуки горелок малой мощности или имеющих водяное охлаждение изготовляют из латуни ЛС59-1. В горелках средней мощности мундштуки для лучшего отвода теплоты изготовляют из меди МЗ или хромистой бронзы Бр Х0,5, к которой не так пристают брызги расплавленного металла. Для получения пламени правильной формы и устойчивого его горения выходной канал не должен иметь заусенцев, вмятин и других дефектов, а внутренняя поверхность канала должна быть чисто обработана. Снаружи мундштук рекомендуется полировать.
Горелки для газов заменителей отличаются от ацетиленовых тем, что снабжены устройством для дополнительного подогрева и перемешивания газовой смеси до выхода ее из канала мундштука. Серийно выпускаемые горелки ГЗУ-2-62 и ГЗМ-2-62М для этого имеют подогреватель и подогревательную камеру, расположенные на наконечниках между трубкой подвода горючей смеси и мундштуком (рис. 3). Часть потока смеси (5—10%) выходит через дополнительные сопла подогревателя и сгорает, образуя факелы, подогревающие камеру из коррозионно-стойкой стали. Температура смеси на выходе из мундштука повышается на 300—350° С и соответственно возрастает скорость сгорания и температура основного сварочного пламени. Горелки могут работать на пропан-бутан-кислородной и метан-кислородной смеси; ими можно сваривать стали толщиной до 5 мм (в отдельных случаях до 12 мм) с удовлетворительными показателями по производительности и качеству сварки. Наконечники этих горелок рассчитаны на следующие расходы газов:
№ наконечника 0 1 2 3
Расход, дм3/ч:
пропан-бутана 15—40 30-70 70—140 140-240
кислорода 50—140 105—260 260—540 520-840
№ наконечника 4 5 6 7
Расход, дм3/ч:
пропан-бутана 240—400 400—650 650—1050 1650—1700
кислорода........ 840—1400 1350—2200 2200—3600 3500—5800
При переводе на пропан-бутан горелок, рассчитанных для работы на ацетилене, следует брать наконечник, на два номера больший, и ввертывать в него мундштук, на один номер больший, а инжектор — на один номер меньший, чем при сварке металла той же толщины на ацетиленокислородной смеси.
Специальные наконечники. Для сварки в тяжелых условиях нагрева, например крупных чугунных отливок с подогревом, применяют специальные теплоустойчивые наконечники НАТ-5-6 и НАТ-5-7. В этих наконечниках мундштук и трубка снабжены теплоизоляционной прослойкой из асбеста, разведенного на воде или жидком стекле, и покрыты сверху кожухом из стали Х25Т. Они могут длительно работать без хлопков и обратных ударов. Для этих работ используют также обычные наконечники, снабженные дополнительной трубкой для подвода охлаждающего воздуха.
Безынжекторные горелки. В отличие от инжекторных в данных горелках сохраняется постоянный состав смеси в течение всего времени работы горелки, независимо от ее нагрева отраженной теплотой пламени. В, инжекторных же горелках нагрев мундштука и смесительной камеры ухудшает инжектирующее действие струи кислорода, вследствие чего поступление ацетилена уменьшается и смесь обогащается кислородом. Это приводит к хлопкам и обратным ударам пламени, — приходится прерывать сварку и охлаждать наконечник.
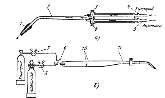
Безынжекторные горелки, в которых ацетилен и кислород поступают в смесительное устройство под равными давлениями, при нагревании не меняют состава смеси, поскольку при нагревании мундштука если и уменьшается поступление газов в горелку, то оно одинаково как для кислорода, так и для ацетилена. Следовательно, относительное содержание их в смеси, т. е. состав смеси, остается постоянным. На рис. 4, а показана схема безынжекторной горелки, на рис. 4, б — схема устройства для питания безынжекторной горелки ГАР (равного давления).кислородом и ацетиленом через постовой беспружинный регулятор ДКР (см. рис. 23). Горелка ГАР комплектуется семью наконечниками на расходы ацетилена 50—2800 дм3/ч. Каждый наконечник имеет смесительную камеру с двумя калиброванными отверстиями: центральным для кислорода и боковым для ацетилена.
Рис 4. Безынжекторная горелка
1 — мундштук; 2 — трубка наконечника; 3 — вентиль кислорода; 4 — ниппель кислорода; 5 — ниппель ацетилена; 6 — вентиль ацетилена; 7 — редуктор кислородный; 8 — редуктор ацетиленовый; 9 — регулятор ДКР; 10 — шланги; 11 — горелка ГАР
Камерно-вихревые горелки. Для некоторых процессов газопламенной обработки — нагрева, пайки, сварки пластмасс и т. п. не требуется высокой температуры ацетиленокислородного пламени. Для этих процессов можно использовать камерно-вихревые горелки, работающие на пропано-воздушной смеси. В этих горелках вместо мундштука имеется камера сгорания, в которую поступают пропан и воздух под давлением 0,05—0,2 МПа (0,5—2 кгс/см2). Пропан подается в камеру через центральный канал, а воздух, вызывающий также вихреобразование, поступает по многозаходной спирали, обеспечивающей «закрутку» газовой смеси в камере сгорания. Продукты сгорания выходят через концевое сопло камеры сгорания с большой скоростью, образуя пламя достаточно высокой температуры (1500—1600° С). Горелки позволяют получать пламя с температурой 350—1700° С.
Горелки специальные. К таким горелкам относятся, например, многопламенные для очистки металла от ржавчины и краски; газо-воздушные для пайки и нагрева, работающие на ацетилене газах заменителях; керосино кислородные для распыленного жидкого горючего; многопламенные кольцевые для газопрессовой сварки; для поверхностной закалки; для пламенной наплавки; для сварки термопластов и многие другие.
Принципы устройства и конструкции их во многом аналогичны используемым для сварочных горелок. Отличие состоит в основном; в тепловой мощности и размерах пламени или суммы пламен (при многопламенных горелках), а также размерах и форме мундштука.
2. Обосновать выбор технологии газовой сварки легированной стали З0ХГСА. При рассмотрении этого вопроса выявить связь выбранного режима (предварительного, сопутствующего и последующего подогрева) с составом стали, структурными изменениями в металле шва и зоне термического влияния. Результаты оформить в виде таблицы.
Газовая сварка характеризуется высокими значениями вводимой в изделие удельной энергии εи достигающими величин порядка 200—400 Дж/мм2, большей зоной теплового влияния, меньшей производительностью, чем дуговая сварка.
Характеристики
Тип файла документ
Документы такого типа открываются такими программами, как Microsoft Office Word на компьютерах Windows, Apple Pages на компьютерах Mac, Open Office - бесплатная альтернатива на различных платформах, в том числе Linux. Наиболее простым и современным решением будут Google документы, так как открываются онлайн без скачивания прямо в браузере на любой платформе. Существуют российские качественные аналоги, например от Яндекса.
Будьте внимательны на мобильных устройствах, так как там используются упрощённый функционал даже в официальном приложении от Microsoft, поэтому для просмотра скачивайте PDF-версию. А если нужно редактировать файл, то используйте оригинальный файл.
Файлы такого типа обычно разбиты на страницы, а текст может быть форматированным (жирный, курсив, выбор шрифта, таблицы и т.п.), а также в него можно добавлять изображения. Формат идеально подходит для рефератов, докладов и РПЗ курсовых проектов, которые необходимо распечатать. Кстати перед печатью также сохраняйте файл в PDF, так как принтер может начудить со шрифтами.
















