146406 (729713), страница 2
Текст из файла (страница 2)
Примерная классификация сетей напряжения до 1 кВ по конструктивным признакам приведена на (рис 6).
3.1 Шинопроводы представляют собой комплектное электротехническое устройство для внутрицеховой электрической сети. Разновидностями магистральных шинопроводов являются открытые шинные магистрали из неизолированных шин, которые прокладываются на высоте 10-12 м по нижнему поясу ферм на изоляторах в цепях небольшой протяжённости на (рис. 1). Открытые шинные магистрали достаточно дёшевы и надёжны. Стоимость их несколько увеличивается за счёт спусков и подъёмов питающих линий и ответвлений. Спуски и подъёмы выполняются изолированными проводами. Открытые шинные магистрали применяются в цехах, где по условиям влажности и пыльности среды невозможно применение комплектных магистральных шинопроводов типа ШМА, предназначенных только для помещений с нормальной средой. Но в связи с тем, что открытые шинные магистрали имеют большую индуктивность по сравнению с комплектными шинопроводами, а, следовательно, и большие потери напряжения, их не следует применять в мощных протяжных сетях. Комплектные шинопроводы изготовляют на заводах электротехнической промышленности. Состоят они из отдельных секций, соединяемые между собой сваркой, болтовыми зажимами или штепсельными разъёмами. Шинопроводы имеют высокую надёжность, длительный срок службы, удобны при монтаже и эксплуатации благодаря жёсткости конструкции шин и коробов, являются самонесущими. Наличие стандартных готовых секций позволяет создать универсальную сеть, к которой можно дополнительно подключать ЭП при изменении технологии производства.
На (рис 7) приведены конструкции шинопроводов разных типов.
Комплектные шинопроводы прменются только для внутренней электропроводки. При необходимости выхода шинопровода за пределы помещения, а также в условиях стесненности, сложных изгибов, в случаях пересечения трубопроводов, строительных конструкций и т.п. удобнее заменять секции магистрального шинопровода кабельными вставками марки АВВ на большие токи (более 1000 А).
Кабели марки АВВ по сравнению с кабелями других марок сечением 240 мм
характеризуется повышенным удельным расходом проводникового материала.
3.2 Электропроводки.
Э
лектропроводками называют сети постоянного и переменного тока напряжением до 1 кВ, выполняемые изолированными проводами и небронированными кабелями малых (до16 мм
) сечений с резиновой и пластмассовой изоляцией жил с относящимися к ним креплениями и поддерживающими конструкциями. В цехах промышленных предприятий основным конструктивным видом электропроводок является прокладка в лотках, коробах, трубах и на тросах. На (рис 8) показаны варианты открытой электропроводки на лотках, на (рис 9) в коробах. Электропроводки в коробах в отличие от электропроводок в лотках защищают провода и кабели от загрязнений. Короба изготовляют в виде П-образных профилей с перегородками секциями длинной 3 м. В коробах есть планки для крепления уложенных в них проводов и кабелей. Число проводов, прокладываемых в одном коробе, не должно быть более 12. Реже в цехах промышленных предприятий применяется прокладка на роликах и изоляторах.
Скрытая электропроводка применяется в конструктивных элементах зданий, в стенах, полах и перекрытиях, в фундаментах оборудования и т.п. и может быть выполнена в трубах, в каналах, образованных в толще бетона, и закладываться в строительные элементы зданий или трубы.
Важным компонентом электропроводок является изоляция проводов, которая изготавливается из резины или полихлорвинилового пластиката.
Изолированные провода и кабели отличаются друг от друга исполнением защитных оболочек. Кабели в отличие от проводов имеют поверх изоляции жил герметичную оболочку (алюминиевую, свинцовую, поливинилхлоридную), предохраняющую изоляцию от неблагоприятного воздействия окружающей среды и служащую механической защитой кабелей.
И
сходя из требований экономии меди, ПУЭ рекомендуют во всех случаях применять провода и кабели с алюминиевыми жилами, за исключением производств с взрывоопасной средой категории В-1 и В-1а, где применение проводников с медными жилами является обязательным. Кроме того, медные проводники применяются для механизмов, работающих в условиях постоянных вибраций, сотрясений, а также для передвижных электроустановок.
Если предусмотрена электропроводка в трубах, то во всех случаях, где это допустимо, следует вместо металлических труб применять пластмассовые трубы. Металлические трубы следует использовать во взрывоопасных помещениях и в помещениях с коррозионной - активной средой.
3.3 Кабельные линии в сетях напряжением до 1 кВ
К
абель состоит из токоведущих медных или алюминиевых жил, имеющих изоляцию жил и поясную изоляцию. Внутренняя оболочка (поясная изоляция) служит для усиления изоляции жил. Для защиты от механических повреждений в конструкцию кабеля входит броня, поверх которой накладывается внешняя покровная оболочка - для металлической брони кабеля.
На (рис. 10) приведена конструкция четырёхжильного кабеля с бумажной изоляцией и вязкой пропиткой на напряжение до 1 кВ.
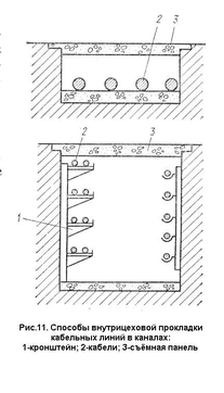
Во внутрицеховых электрических сетях кабели прокладываются по стенам, по конструкциям (в лотках, коробах, на кронштейнах), в трубах, в кабельных каналах (рис. 11).
При выборе сечения проводов и кабелей следует учитывать, что провода и кабели с алюминиевыми жилами следует применять, начиная с сечения 2 мм
по условиям механической прочности, с медными жилами – начиная с сечения 1мм
. При прокладке кабелей с алюминиевыми жилами в траншеях минимальное сечение жил 6мм
. Для прокладки в трубах по условиям протяжки не рекомендуется применять провод сечением выше 120мм
. Для питания переносных и передвижных механизмов применяют шланговые многожильные гибкие провода или кабели с медными жилами и резиновой изоляцией, например кабели марки КРПТ.
П
ри сооружении внутрицеховых сетей применяются модульные сети. Они представляют собой прокладку проводов под потолком в трубах с разветвительными коробками, над которыми устанавливаются напольные колонки (рис. 12). Сеть называется модульной, так как ответвительные коробки для присоединения ЭП выполняются с заданным шагом (модулем) 1,5-6 м в зависимости от характера производства и габаритов технологического оборудования. Линии, отходящие от напольных колонок к ЭП, выполняются проводами или кабелями в трубах. Модульная магистраль рассчитана на максимальный ток 100 А. Модульные сети применяются на предприятиях машиностроительной, приборостроительной, радиотехнической и других отраслей производства в тех случаях, когда возможна частичная перепланировка технологических агрегатов и предъявляются особые требования к стерильности и эстетике производства. Применение модульной сети делает электротехническую часть производства независимой от размещения технологического оборудования.
4 Основное электрооборудование внутрицеховых сетей.
Кроме шинопроводов в качестве основного электрооборудования для внутрицеховых сетей напряжением до 1 кВ применяются: панели распределительные, силовые распределительные шкафы, распределительные пункты, ящики с рубильниками и предохранителями, ящики с блоками выключатель – предохранитель, щитки освещения, плавкие предохранители, магнитные пускатели, контакторы, автоматические выключатели и др.
Щиты, вводные устройства, шкафы, панели, щитки и другие распределительные устройства современных конструкций – это законченные комплектные устройства для приёма и распределения электроэнергии, управления и защиты ЭУ от перегрузок и коротких замыканий. В них смонтированы коммутационные и защитные аппараты, измерительные приборы, аппаратура автоматики и вспомогательные устройства.
Для комплектования распределительных устройств (щитов низкого напряжения цеховых ТП) применяются распределительные панели одностороннего обслуживания типа ЩО-70М. Их целесообразно применять на ТП, встроенных в производственные помещения предприятия, с трансформаторами мощностью до 630 кВ
А.
На крупных и ответственных ТП с трансформаторами мощностью 1000 кВ
А и более при установке сложных коммутационных аппаратов, требующих обслуживания с задней стороны, применяются панели двухстороннего обслуживания.
В
цехах промышленных предприятий для распределения электроэнергии применяются силовые распределительные шкафы ШР11 (рис. 13).
Применяются также распределительные пункты серии ПР24 с автоматическими выключателями А3700 взамен распределительных пунктов, ПР9000, в которые встраивались снятые с производства автоматические выключатели А3100.
Осветительные групповые щитки типов ЯОУ-8501, ЯОУ-8504 (рис. 14) предназначены для распределения электроэнергии, защиты от перегрузок и токов короткого замыкания осветительных сетей. Они применяются в трёхфазных сетях переменного тока напряжением 380/220 В с глухозаземлённой нейтралью и могут служить для нечастых (до шести в час) оперативных включений и отключений электрических цепей.
Для защиты внутрицеховых электрических сетей от токов КЗ служат плавкие предохранители. Предохранители насыпные серии ПК изготавливаются на напряжение 3-35 кВ и номинальные токи до 400 А. Патрон предохранителя (рис. 20) состоит из фарфоровой трубки 3, армированный латунными колпачками 2. Внутри патрона размещены медные или серебряные плавкие элементы. Для обеспечения нормальных условий гашения дуги плавкие элементы должны иметь значительную длину и малое сечение. Это достигается применением нескольких параллельных вставок 5, намотанных на ребристый керамический сердечник (рис. 20 в), или, при больших токах, несколько спиральных вставок (рис. 20, б). После того как трубка заполнена кварцевым песком 4, торцевые отверстия закрываются крышками 1 и тщательно запаиваются. Нарушение герметичности, увлажнение песка могут привести к потере способности гасить дугу. Для уменьшения температуры плавления плавкой вставки использован металлургический эффект. На плавкие из меди напаяны шарики из олова 6, которые, расплавляясь при температуре не более
С, растворяют в себе медь вставки, цепь обрывается и загорается дуга в нескольких параллельных каналах (в соответствии с числом вставок). Возникшая дуга охлаждается зернами кварца в узкой щели и гаснет раньше, чем ток КЗ в цепи достигнет наибольшего значения. Это свойство называется токоограничивающим эффектом. Такое свойство предохранителей позволяет не проверять по действию токов КЗ токоведущие части и аппараты, находящиеся за ними.
Срабатывание предохранителя определяется по указателю 7, который выбрасывается пружиной из трубки после перегорания стальной вставки, нормально удерживающей пружины в подтянутом состоянии. Стальная вставка перегорает после рабочих вставок, когда по ней проходит весь ток.
Полное время отключения при токах КЗ предохранителем ПК 0,005-0,008 с, отключаемый ток КЗ до 40 кА.
П
атрон ПК вставляется в контакты, укреплённые на опорных изоляторах (рис. 20, а). В зависимости от номинального тока в предохранителях может быть один, два, четыре патрона (ПК1, ПК2, ПК4).















