146379 (729683)
Текст из файла
СОДЕРЖАНИЕ
1. СООРУЖЕНИЯ ДЛЯ ЗАБОРА ВОДЫ ИЗ ПОВЕРХНОСТНЫХ ИСТОЧНИКОВ 2
1.1. Классификация способов и сооружений для забора воды из поверхностных источников. 2
1.2. Выбор схемы и места расположения водозабора. 3
2. СООРУЖЕНИЯ ДЛЯ ЗАБОРА ВОДЫ ИЗ ПОДЗЕМНЫХ ИСТОЧНИКОВ 5
2.1. Основные типы сооружений для забора подземных вод. 5
2.2. Горизонтальные водозаборы. 5
2.3. Трубчатые колодцы. 5
2.4. Шахтные колодцы. 7
2.5. Лучевой водосбор. 7
2.6. Каптажные водосборные сооружения. 7
ЛИТЕРАТУРА 11
1. СООРУЖЕНИЯ ДЛЯ ЗАБОРА ВОДЫ ИЗ ПОВЕРХНОСТНЫХ ИСТОЧНИКОВ
1.1. Классификация способов и сооружений для забора воды из поверхностных источников.
Водозаборные сооружения из поверхностных источников должны обеспечивать:
- получение расчетного расхода воды из водоисточника и подачу его потребителю;
- предохранять систему водоснабжения от проникания в нее сора, наносов, планктона, рыбы, льда и от биологических обрастаний.
Соблюдение всех этих требований учитывают при выборе типа и оборудования водозабора и места его расположения.
Все многообразие применяемых на практике сооружений для забора воды из поверхностных источников можно классифицировать по следующим признакам:
1. Назначению
- хозяйственно-питьевые, технические, ирригационные и пр.;
- месту расположения водоприемника - береговые, русловые, приплотинные и пр.;
2. Типу водоема:
- речные, озерные, водохранилищные и морские;
-требуемой категории надежности подачи воды - три категории в соответствии с указаниями СНиПа;
3. Производительности:
- малые (до 1 м /с), средние (1-6 м3/с), большие (свыше 6 м3/с);
4. Конструктивным и технологическим особенностям:
- совмещенные, раздельные, ковшевые, приплотинные и т.п.;
5. Длительности периода эксплуатации:
- постоянные и временные;
6. Степени стационарности:
- стационарные и нестационарные (плавучие, фуникулерные).
По степени трудности забора воды природные условия поверхностных источников водоснабжения, согласно СНиП, подразделяют на четыре группы. При этом учитываются мутность воды, неустойчивость берегов и дна, русловые и ледовые режимы, лесосплав, засоренность водоисточника, наличие водорослей, дрейсены, балянуса, мидий и пр.
В зависимости от сложности природных условий, типа водоприемника и доступности водоприемных отверстий для обслуживания водозаборы по степени надежности забора воды подразделяют на три категории:
I - водозабор, допускающий снижение получения воды в течение 3 суток на 30 % расчетного расхода. Перерыв в подаче воды или снижение подачи ниже указанного предела допускается на 10 мин.
II - водозабор, допускающий снижение получения расчетного расхода воды на 30 % в течение 10 суток. Перерыв в подаче воды или ее снижение ниже указанного предела допускается не более чем на 6 ч.
III - водозабор, допускающий снижение получения воды в течение до 15 суток на 30 % расчетного расхода. Перерыв в подаче воды или ее снижение ниже указанного предела допускается не более чем на 24 ч.
Береговые незатопленные водоприемники с водоприемными отверстиями, всегда доступными для обслуживания, с механизированной очисткой их сороудерживающих решеток относят к водоприемникам I степени надежности забора воды в средних природных условиях. Русловые затопленные водоприемники всех типов, удаленные от берега и недоступные в периоды половодья, шторма, ледохода, шуго-хода и т. п., относят к водоприемникам II степени надежности забора воды в средних природных условиях. Фуникулер и плавучие водоприемники всех видов для средних условий работы относят к водоприемникам III степени надежности забора воды.
1.2. Выбор схемы и места расположения водозабора.
Выбор схемы и места расположения водозабора обосновывается прогнозами качества воды в источнике, переформирования побережья и русла, гидротехнического режима.
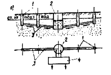
При амплитуде колебания уровней воды в источнике более 6 м и при глубинах у берега, достаточных для нормального забора воды, следует применять береговые совмещенные водозаборы (рис. 1а). Для водозаборов средней производительности при малой высоте всасывания насосов возможно совмещение берегового колодца и насосной станции. Для водозаборов небольшой производительности, при достаточных глубинах у берега для нормального забора воды можно принимать водоприемники раздельного типа (рис. 1 б). При амплитуде колебания уровней воды в источнике до 6 м и при глубинах у берега, недостаточных для забора воды, водозаборы малой производительности рекомендуется принимать руслового типа (рис. 1в), при этом насосная станция может быть конструктивно объединена с береговым колодцем или расположена отдельно.
Рис. 1. Схемы речных водозаборов:
а - береговой совмещенный; б - береговой раздельный;
в - русловой; г - приплотинный.
2. СООРУЖЕНИЯ ДЛЯ ЗАБОРА ВОДЫ ИЗ ПОДЗЕМНЫХ ИСТОЧНИКОВ
2.1. Основные типы сооружений для забора подземных вод.
При выборе источника централизованного хозяйственно-питьевого водоснабжения, прежде всего, рассматривают подземные воды, залегающие в горных породах верхнего слоя земной коры. Вначале изучают возможность использования межпластовых напорных вод, затем межпластовых безнапорных, далее трещинно-карстовых и грунтовых вод.
Для забора подземных вод, залегающих в различных породах и на разных глубинах, применяют следующие типы водозаборных устройств и сооружений: трубчатые и шахтные колодцы, горизонтальные водосборы, комбинированные водозаборы, лучевые водосборы, сооружения для каптажа родниковых вод. Тип водоприемного сооружения зависит от глубины залегания подземных вод, мощности и водообильности водоносного пласта, характера водовмещающей породы, наличия давления в пласте и т.п.
2.2. Горизонтальные водозаборы.
Горизонтальные водозаборы применяют при небольшой глубине залегания водоносного пласта (до 5 - 8 м) и малой его мощности. Они представляют собой дренажные трубы или галереи (рис. 4), размещаемые в пределах водоносного пласта на подстилающем водоупоре перпендикулярно направлению грунтового потока. Вокруг дренажных труб или галерей сооружают гравийные фильтры. Вода, фильтруемая из грунта в дренажные трубы или галереи, поступает по ним в . водосборный колодец (резервуар), откуда откачивается насосами. На водосборных линиях через каждые 25 - 50 м предусматривают смотровые колодцы.
2.3. Трубчатые колодцы.
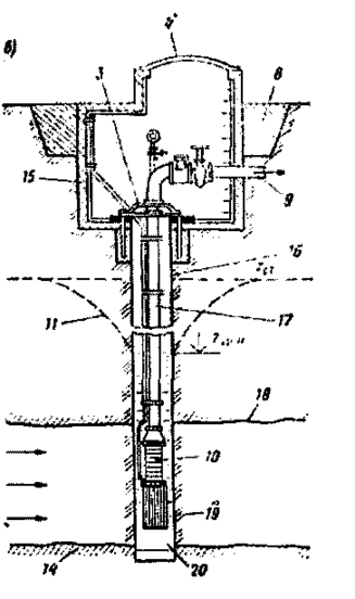
Трубчатые колодцы сооружают бурением в грунте вертикальных цилиндрических выработок - скважин, стенки которых в большинстве пород необходимо укреплять обсадными трубами (стальными, асбестоцементными, полиэтиленовыми), образующими трубчатый колодец (рис. 36). Для приема воды из грунта колодец в пределах водоносного горизонта выполняют из перфорированных труб, снабженных специальным фильтром, не проницаемым для частиц породы.
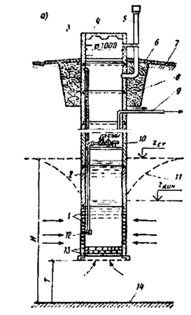
Рис. 3. Приток грунтовых (а) и напорных (б) вод соответственно к шахтному (несовершенному) и трубчатому (совершенному) колодцам: 1 - водоприемные отверстия; 2 - ствол; 3 - оголовок; 4 - крышка; 5 - вентиляционная труба; 6 - отмостка; 7 - водоотводящая канава; 8 - глиняный замок; 9 - напорный трубопровод; 10 - насос; 11 - кривая депрессии; 12 -. приемный клапан; 13 - обратный фильтр; 14 - водоупор; 15 - шахта; 16 -обсадные трубы; 17 - водоподъемные трубы; 18 - водоупорная кровля; 19 - фильтр; 20 - отстойник.
Трубчатые колодцы применяют при глубоком залегании водоносных пластов и их значительной мощности. Отличительная особенность трубчатых колодцев - малый диаметр и большая длина цилиндрической части. Трубчатые колодцы могут быть использованы для получения подземных безнапорных и напорных вод. Колодец может быть доведен до подстилающего водоупорного пласта (совершенный колодец, рис. 36) или оканчиваться в толще водоносного пласта (несовершенный колодец). Для водоснабжения крупных объектов предусматривают несколько трубчатых колодцев, объединяемых в общую систему водосборных сооружений.
2.4. Шахтные колодцы.
Шахтные колодцы сооружают из бетона, железобетона, кирпича, бута и дерева для приема обычно безнапорных вод при относительно небольшой глубине их залегания (до 40 м). Обычно шахтные колодцы не доходят до водоупора (колодцы несовершенного типа) и получают воду через днище и отверстия в стенках (рис. За). Шахтные колодцы имеют значительную площадь поперечного сечения и небольшую вертикальную часть. На дне и в отверстиях стен шахтных колодцев размещают фильтры для предотвращения попадания в них частиц породы.
2.5. Лучевой водосбор.
Лучевой водосбор является сооружением инфильтрационного типа, используемым для забора подрусловых и подземных вод из водоносных пластов небольшой мощности, лежащих на глубине до 20 м. Вода отбирается перфорированными трубчатыми дренами, расположенными в пределах водоносных пород и присоединяемыми радиально к сборному шахтному колодцу (рис. 5).
2.6. Каптажные водосборные сооружения.
Каптажные водосборные сооружения устраивают двух типов: для каптажа восходящих родников водоприемные сооружения представляют собой шахты или резервуары, размещаемые над местом наиболее интенсивного выхода подземных вод (рис. 6а); для каптажа нисходящих родников сооружают приемные камеры, располагаемые в месте интенсивного выхода родниковой воды (рис. 6б). В стенке камеры, обращенной к фронту поступления подземных вод, предусматривают водоприемные окна.
Рис. 4. Схема горизонтального водосбора (а) и конструкции дрен из щебня (б) и бетонных труб (в, г):
I - смотровые колодцы; 2 - водосборный колодец: 3 - дренажные трубы; 4- насосная станция; 5 - насыпной грунт; 6 - глиняный экран; 7 - песок; 8 - гравий; 9 - щебень; 10 - труба с отверстиями для входа воды;
I1 - бетонная подушка.
Рис. 6. Водоприемные сооружения для каптажа восходящих (а) и нисходящих (б) родников:
I - выход подземных вод; 2 - водоприемная камера; 3 - глиняный замок;
4 - служебный мостик; 5 - вентиляционная труба; 6 - вход в каптажную камеру; 7 - перелив; 8 - расходная труба; 9, 10 - грязевая и дренажная трубы;
II - водоприемное отверстие; 12 - обратный фильтр.
ЛИТЕРАТУРА
1. Абрамов Н. Н. Водоснабжение. М.: Стройиздат, 1982.
2. Алферова Л. А., Нечаев А. П. Замкнутые системы водного хозяйства промышленных предприятий. М.: Стройиздат, 1984.
3. Кучеренко Д. И., Гладков В. А. Оборотное водоснабжение. М.: Стройиздат, 1980.
4. Николадзе Н. Н. Водоснабжение. М.: Стройиздат, 1989.
5. Сомов М. А. Водопроводные системы и сооружения. М.: Стройиздат, 1988.
Министерство образования Российской Федерации
Камский государственный политехнический институт
Реферат
по дисциплине «инженерные сети»
на тему:
СООРУЖЕНИЯ ДЛЯ ЗАБОРА ВОДЫ
Выполнил: студент гр. 3305-У
Андреева Ю.В.
Проверил: преподаватель
Безбородова И.Н.
Набережные Челны, 2003 г.
Характеристики
Тип файла документ
Документы такого типа открываются такими программами, как Microsoft Office Word на компьютерах Windows, Apple Pages на компьютерах Mac, Open Office - бесплатная альтернатива на различных платформах, в том числе Linux. Наиболее простым и современным решением будут Google документы, так как открываются онлайн без скачивания прямо в браузере на любой платформе. Существуют российские качественные аналоги, например от Яндекса.
Будьте внимательны на мобильных устройствах, так как там используются упрощённый функционал даже в официальном приложении от Microsoft, поэтому для просмотра скачивайте PDF-версию. А если нужно редактировать файл, то используйте оригинальный файл.
Файлы такого типа обычно разбиты на страницы, а текст может быть форматированным (жирный, курсив, выбор шрифта, таблицы и т.п.), а также в него можно добавлять изображения. Формат идеально подходит для рефератов, докладов и РПЗ курсовых проектов, которые необходимо распечатать. Кстати перед печатью также сохраняйте файл в PDF, так как принтер может начудить со шрифтами.













