kursov 1 (729140), страница 3
Текст из файла (страница 3)
В=
, соединяют прямой конец отрезка (точку d) с точкой а. Из точки, отвечающей заданному составу хf, проводят вертикаль до пересечения с линией ad в точке b. Прямая аb — рабочая линия укрепляющей части колонны. Согласно допущению yw = xw ,из точки, соответствующей составу xw , восстанавливают вертикаль до пересечения с диагональю диаграммы и получают точку с — конечную точку рабочей линии исчерпывающей части колонны. Соединяют точку с прямой с точкой b, принадлежащей одновременно рабочим линиям укрепляющей и исчерпывающей частей колонны. Прямая bc представляет собой рабочую линию исчерпывающей части колонны.
Рис. 1.6 Построение рабочих линий ректификационной колонны на у—x диаграмме.
Рабочие линии ab и bc в отличие от рабочих линий процесса абсорбции располагаются под линией равновесия. В данном случае, как уже отмечалось, НК переходит в паровую фазу, стремящуюся к равновесию с жидкой фазой, т. е. по существу десорбируется из жидкости.
1.2. Основные технологические схемы для проведения разрабатываемого процесса
Процессы ректификации осуществляются периодически или непрерывно при различных давлениях: при атмосферном давлении, под вакуумом (для разделения смесей высококипящих веществ), а также под давлением больше атмосферного (для разделения смесей, являющихся газообразными при нормальных температурах).
1.2.1. Непрерывная ректификация
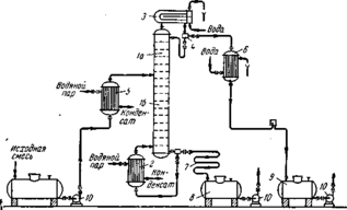
Рассмотрим, как реализуются указанные выше условия в ректификационных колоннах непрерывного действия (рис. 1.7.), которые наиболее широко применяются в промышленности.
Рис.1.7. Схема непрерывно действующей ректификационной установки:
1— ректификационная колонна (а — укрепляющая часть, б — исчерпывающая часть); 2 —кипятильник; 3 — дефлегматор; 4 — делитель флегмы; 5 — подогреватель исходной смеси;6 — холодильник дистиллята (или холодильник-конденсатор); 7 — холодильник остатка (или нижнего продукта); 8, 9 сборники; 10 — насосы.
Ректификационная колонна 1 имеет цилиндрический корпус, внутри которого установлены контактные устройства в виде тарелок или насадки. Снизу вверх по колонне движутся пары, поступающие в нижнюю часть аппарата из кипятильника 2, который находится вне колонны, т. е. является выносным (как показано на рисунке 1.7.), либо размещается непосредственно под колонной. Следовательно, с помощью кипятильника создается восходящий поток пара. Пары проходят через слой жидкости на нижней тарелке, которую будем считать первой, ведя нумерацию тарелок условно снизу вверх.
Пусть концентрация жидкости на первой тарелке равна х1 (по низкокипящему компоненту), а ее температура t1. В результате взаимодействия между жидкостью и паром, имеющим более высокую температуру, жидкость частично испаряется, причем в пар переходит преимущественно НК. Поэтому на следующую (вторую) тарелку поступает пар с содержанием НК у1> х1.
Испарение жидкости на тарелке происходит за счет тепла конденсации пара. Из пара конденсируется и переходит в жидкость преимущественно ВК, содержание которого в поступающем на тарелку паре выше равновесного с составом жидкости на тарелке. При равенстве теплот испарения компонентов бинарной смеси для испарения 1 моль НК необходимо сконденсировать 1 моль ВК, т. е. фазы на тарелке обмениваются эквимолекулярными количествами компонентов.
На второй тарелке жидкость имеет состав x2, содержит больше НК, чем на первой (х2 > x1), и соответственно кипит при более низкой температуре (t2
Таким образом пар, представляющий собой на выходе из кипятильника почти чистый ВК, по мере движения вверх все более обогащается низкокипящим компонентом и покидает верхнюю тарелку колонны в виде почти чистого НК, который практически полностью переходит в паровую фазу на пути пара от кипятильника до верха колонны.
Пары конденсируются в дефлегматоре 3, охлаждаемом водой, и получаемая жидкость разделяется в делителе 4 на дистиллят и флегму, которая направляется на верхнюю тарелку колонны. Следовательно, с помощью - дефлегматора в колонне создается нисходящий поток жидкости.
Жидкость, поступающая на орошение колонны (флегма), представляет собой почти чистый НК. Однако, стекая по колонне и взаимодействуя с паром, жидкость все более обогащается ВК, конденсирующимся из пара. Когда жидкость достигает нижней тарелки, она становится практически чистым ВК и поступает в кипятильник, обогреваемый глухим паром, или другим теплоносителем.
На некотором расстоянии от верха колонны к жидкости из дефлегматора присоединяется исходная смесь, которая поступает на так называемую питающую тарелку колонны. Для того чтобы уменьшить тепловую нагрузку кипятильника, исходную смесь обычно предварительно нагревают в подогревателе 5 до температуры кипения жидкости на питающей тарелке.
Питающая тарелка как бы делит колонну на две части, имеющие различное назначение. В верхней части 1а (от питающей до верхней тарелки) должно быть обеспечено возможно большее укрепление паров, т. е. обогащение их НК с тем, чтобы в дефлегматор направлялись пары, близкие по составу к чистому НК. Поэтому данная часть колонны называется укрепляющей. В нижней части 1б (от питающей до нижней тарелки) необходимо в максимальной степени удалить из жидкости НК, т. е. исчерпать жидкость для того, чтобы в кипятильник стекала жидкость, близкая по составу к чистому ВК. Соответственно эта часть колонны называется исчерпывающей.
В дефлегматоре 3 могут быть сконденсированы либо все пары, поступающие из колонны, либо только часть их соответствующая количеству возвращаемой в колонну флегмы. В первом случае часть конденсата, остающаяся после отделения флегмы, представляет собой дистиллят (ректификат), или верхний продукт, который после охлаждения в холодильнике 6 направляется в сборник дистиллята 9. Во втором случае несконденсированные в дефлегматоре пары одновременно конденсируются и охлаждаются в холодильнике 6, который при таком варианте работы служит конденсатором-холодильником дистиллята.
Жидкость, выходящая из низа колонны (близкая по составу ВК) также делится на две части. Одна часть, как указывалось, направляется в кипятильник, а другая — остаток (нижний продукт) после охлаждения водой в холодильнике 7 направляется в сборник 8.
На рис. (1.7.) приведена лишь принципиальная схема непрерывно-действующей ректификационной установки. Такие установки оснащаются необходимыми контрольно-измерительными и регулирующими приборами, позволяющими автоматизировать их работу и проводить процесс с помощью программного управления в оптимальных условиях.
1.2.2. Периодическая ректификация
Периодически действующие ректификационные установки применяют, как правило, для разделения жидких смесей в тех случаях, когда использование непрерывнодействующих установок нецелесообразно. Обычно это характерно для технологических процессов, в которых количества подлежащих разделению смесей невелики и требуется определенное время для накопления этих продуктов перед разделением или в условиях часто меняющегося состава исходной смеси. Последний случай специфичен для гибких технологических процессов, в которых спектр получаемых продуктов весьма разнообразен.
Периодическую ректификацию проводят на установках с практически идентичной принципиальной схемой. Один из возможных вариантов такой установки показан на рис. (1.8.).
Рис. 1.8. Схема установки для проведения периодической ректификации:
1-куб-кипятильник; 2-подогреватель; 3-ректификационная колонна; 4-дефлегматор; 5-делитель потока; 6-холодильник; 7-сборники.
Исходную смесь периодически загружают в куб-кипятильник 1, снабженный подогревателем 2, в который подается теплоноситель, например насыщенный водяной пар. Исходную смесь доводят до кипения. Образующиеся пары поднимаются по колонне 3, в которой происходит противоточное взаимодействие этих паров с жидкостью (флегмой), поступающей из дефлегматора 4. Часть конденсата после делителя потока возвращается в колонну в виде флегмы, другая часть - дистиллят Р - через холодильник 6 собирается в сборниках 7 в виде отдельных фракций. Процесс ректификации заканчивают обычно после того, как будет достигнут заданный средний состав дистиллята. Таким образом, колонна 3 является аналогом укрепляющей части колонны непрерывного действия, а куб выполняет роль исчерпывающей части.
Периодическая ректификация может осуществляться двумя способами: 1) при постоянном составе дистиллята (хр = const) и 2) при постоянном флегмовом числе (RP = const).
В первом случае количество флегмы по мере уменьшения содержания легколетучего компонента в кубе должно постепенно возрастать. В промышленных условиях установки для проведения такого процесса необходимо оснащать управляющими автоматизированными системами, способными осуществлять непрерывное и строго программированное изменение питания колонны флегмой и подачи теплоносителя в испаритель (куб колонны). Изменение основных расходных параметров можно проводить, например, по данным о качественном составе легколетучего компонента либо в кубовой жидкости, либо в дистилляте.
1.2.3. Экстрактивная и азеотропная ректификация
Уровень трудности разделения смесей с близкими температурами кипения может быть оценен с помощью коэффициента относительной летучести = РА/РВ. Если значение невелико, то такую смесь можно разделять под вакуумом. Вместе с тем часто экономически целесообразнее в этом случае оказывается использование метода, основанного на введении в разделяемую смесь дополнительного-разделяющего-компонента избирательного действия.
В разделяющем компоненте, который является высококипящим по отношению к одному из двух компонентов исходной смеси, этот последний хорошо растворим, а второй компонент либо нерастворим, либо труднорастворим. Присутствие третьего - разделяющего, или экстрагирующего, - компонента приводит к снижению сил притяжения нерастворимого компонента в растворе к остальным частицам и в результате этого - к увеличению его относительной летучести в системе (рис. 1.9.).
Таким образом, разделяющий агент обладает избирательным действием - повышает давление пара НК в большей степени, чем давление пара ВК. Резкое увеличение облегчает разделение исходных компонентов, но влечет за собой последующий процесс разделения смеси хорошо растворимого и экстрагирующего компонентов, которые удаляются с остатком. Описанный метод разделения называют экстрактивной ректификацией.
Рис. 1.9. Положение кривой равновесия без добавки (1) и с добавкой (2) разделяющего агента
















