FiberOpt (728927), страница 3
Текст из файла (страница 3)
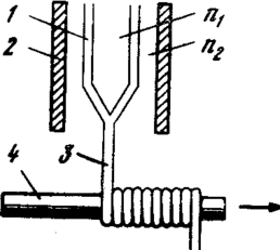
Во внутрь полой кварцевой трубки с показателем преломления длиной 0,5...2 м и диаметром 16...18 мм подается струя хлорированного кварца и кислорода . В результате химической реакции при высокой температуре (1500...1700° С) на внутренней поверхности трубки слоями осаждается чистый кварц . Таким образом, заполняется вся внутренняя полость трубки, кроме самого центра. Чтобы ликвидировать этот воздушный канал, подается еще более высокая температура (1900° С), за счет которой происходит схлопывание и трубчатая заготовка превращается в сплошную цилиндрическую заготовку. Чистый осажденный кварц затем становится сердечником ОВ с показателем преломления , а сама трубка выполняет роль оболочки с показателем преломления . Вытяжка волокна из заготовки и намотка его на приемный барабан производятся при температуре размягчения стекла (1800...2200° С). Из заготовки длиной в 1 м получается свыше 1 км оптического волокна (рис. 4).
Рис. 4. Вытягивание волокна из заготовки:
1 — заготовка; 2 — печь; 3 — волокно; 4 — приемный барабан
Достоинством данного способа является не только получение ОВ с сердечником из химически чистого кварца, но и возможность создания градиентных волокон с заданным профилем показателя преломления. Это осуществляется: за счет применения легированного кварца с присадкой титана, германия, бора, фосфора или других реагентов. В зависимости от применяемой присадки показатель преломления волокна может изменяться. Так, германий увеличивает, а бор уменьшает показатель преломления. Подбирая рецептуру легированного кварца и соблюдая определенный объем присадки в осаждаемых на внутренней поверхности трубки слоях, можно обеспечить требуемый характер изменения по сечению сердечника волокна.
Конструкции оптических кабелей
К
онструкции ОК в основном определяются назначением и областью их применения. В связи с этим имеется много конструктивных вариантов. В настоящее время в различных странах разрабатывается и изготавливается большое число типов кабелей.
Рис. 5. Типовые конструкции оптических кабелей:
а—повивная концентрическая скрутка; б—скрутка вокруг профилированного сердечника; в—плоская конструкция; 1— волокно; 2— силовой элемент; 3— демпфирующая оболочка; 4—защитная оболочка; 5—профилированный сердечник; 6— ленты с волокнами
Однако все многообразие существующих типов кабелей можно подразделять на три группы (рис.5):
-
кабели повивной концентрической скрутки
-
кабели с фигурным сердечником
-
плоские кабели ленточного типа.
Кабели первой группы имеют традиционную повивную концентрическую скрутку сердечника по аналогии с электрическими кабелями. Каждый последующий повив сердечника по сравнению с предыдущим имеет на шесть волокон больше. Известны такие кабели преимущественно с числом волокон 7, 12, 19. Чаще всего волокна располагаются в отдельных пластмассовых трубках, образуя модули.
Кабели второй группы имеют в центре фигурный пластмассовый сердечник с пазами, в которых размещаются ОВ. Пазы и соответственно волокна располагаются по геликоиде, и поэтому они не испытывают продольного воздействия на разрыв. Такие кабели могут содержать 4, 6, 8 и 10 волокон. Если необходимо иметь кабель большой емкости, то применяется несколько первичных модулей.
Кабель ленточного типа состоит из стопки плоских пластмассовых лент, в которые вмонтировано определенное число ОВ. Чаще всего в ленте располагается 12 волокон, а число лент составляет 6, 8 и 12. При 12 лентах такой кабель может содержать 144 волокна.
В оптических кабелях кроме ОВ, как правило, имеются следующие элементы:
-
силовые (упрочняющие) стержни, воспринимающие на себя продольную нагрузку, на разрыв;
-
заполнители в виде сплошных пластмассовых нитей;
-
армирующие элементы, повышающие стойкость кабеля при механических воздействиях;
-
наружные защитные оболочки, предохраняющие кабель от проникновения влаги, паров вредных веществ и внешних механических воздействий.
В России изготавливаются различные типы и конструкций ОК. Для организации многоканальной связи применяются в основном четырех- и восьмиволоконные кабели.
П
редставляют интерес ОК французского производства (рис.6). Они, как правило, комплектуются из унифицированных модулей, состоящих из пластмассового стержня диаметром 4 мм с ребрами по периметру и десяти ОВ, расположенных по периферии этого стержня. Кабели содержат 1, 4, 7 таких модулей. Снаружи кабели имеют алюминиевую и затем полиэтиленовую оболочку.
Рис. 6. Конструкции оптических кабелей французского производства:
а — 10-волоконный модуль; б — 70-волоконный кабель; 1 — оптические волокна; 2 — фигурный сердечник;
3 — силовой элемент; 4 — пластмассовая лента; 5—модуль на десять волокон; 6 — алюминиевая оболочка; 7—полиэтиленовая оболочка
А
мериканский кабель, широко используемый на ГТС, представляет собой стопку плоских пластмассовых лент, содержащих по 12 ОВ. Кабель может иметь от 4 до 12 лент, содержащих 48— 144 волокна (рис.7).
Рис. 7. Американский кабель плоской конструкции:
а—лента с 12 волокнами; б—сечение кабеля; в—общий вид кабеля; 1—оптическое волокно; 2—полиэтиленовая лента; 3—стопка лент из 144 волокон; 4— защитное покрытие; 5 — внутренняя полиэтиленовая оболочка; 6 — пластмассовые ленты; 7 — силовые элементы; в — полиэтиленовые оболочки
На (рис.8) показан японский ОК с алюминиевой оболочкой и наружным полиэтиленовым шлангом.
Рис. 8. Японский оптический кабель:
1 — оптические волокна; 2—медный силовой элемент; 3 — демпфирующее покрытие; 4—наружная оболочка
В Англии построена опытная линия электропередачи с фазными проводами, содержащими ОВ для, технологической связи вдоль ЛЭП. Как видно из (рис.9), в центре провода ЛЭП располагаются четыре ОВ.
Рис. 9. Оптический кабель, встроенный в фазный провод ЛЭП:
1 — оптические волокна; 2 — защитное покрытие; 3 — проводники ЛЭП
Применяются также подвесные ОК (рис.10). Они имеют металлический трос, встроенный в кабельную оболочку. Кабели предназначаются для подвески по опорам воздушных линий и стенам зданий.
Рис. 10. Подвесной оптический кабель с встроенным тросом:
1—оптические волокна; 2—стальной трос; 3 — полиэтиленовая оболочка
Для подводной связи проектируются ОК, как правило, с наружным броневым покровом из стальных проволок (рис.11). В центре располагается модуль с шестью ОВ. Кабель имеет медную или алюминиевую трубку. По цепи “трубка—вода” подается ток дистанционного питания на подводные необслуживаемые усилительные пункты.
Рис.11. Подводный оптический кабель:
а — шестиволоконный модуль (3 варианта); б—подводный кабель; 1—оптический модуль; 2—шесть оптических волокон; 3—силовой элемент из стальной проволоки; 4 — полиэтиленовая оболочка модуля; 5 —пластмассовые трубки; 6—заполнение компаундом; 7—стальная броня; 8 — медная или алюминиевая трубка; 9—полиэтиленовый шланг
Оптические кабели российского производства
Первое поколение ОК, созданных в 1986—1988 гг., включает кабели городской (ОК-50), зоновой (ОЗКГ) и магистральной (ОМЗКГ) связи. Современные требования развития связи потребовали создания новых усовершенствованных типов ОК (второе поколение). Такими кабелями, разработанными в период 1990—1992 гг., являются: ОКК—для городской связи (прокладка в канализации), ОКЗ—для зоновой и ОКЛ—для линейной магистральной связи.
Отличительные особенности ОК второго поколения:
-
переход на волны 1,3 и 1,55 мкм;
-
применение одномодовых волокон;
-
модульные конструкции кабелей (каждый модуль на 1, 2, 4 волокна);
-
наличие медных жил для дистанционного электропитания;
-
разнообразие типов наружных оболочек (стальные ленты, проволоки, стеклопластик, полиэтилен, оплетка);
-
широкополосность и большие длины регенерационных участков.
Кабель ОКК по сравнению с ОК-50 имеет меньшее затухание, большие дальность связи и широкополосность. Кабель ОКК состоит из градиентных и одномодовых волокон.
Новый зоновый кабель ОКЗ имеет различные типы оболочек, позволяющих использовать его в различных условиях эксплуатации (земля, вода, подвеска).
Кабель междугородной связи ОК.Л по сравнению с предшествующим (ОМЗКГ) обладает большей длиной трансляционного участка и позволяет применять наиболее мощную систему передачи на 7680 каналов (“Сопка-5”).
Рассмотрим конструкции отечественных ОК.
Кабель городской связи типа ОК-50 содержит четыре или восемь волокон (рис.12). Волокна свободно расположены в полимерных трубках. Скрутка — повивная, концентрическая. В центре размещен силовой элемент из высокопрочных полимерных нитей. Снаружи имеется, полиэтиленовая оболочка.
Рис. 12. Оптический кабель городской связи ОК-50:
1 — силовой элемент; 2 — пластмассовая трубка; 3 — волокно; 4 — пластмассовая лента; 5—полиэтиленовая оболочка
Четырехволоконный кабель ОК-4 имеет принципиально ту же конструкцию и размеры, что и восьмиволоконный, но только четыре волокна в нем заменены пластмассовыми стержнями. Изготавливаются также кабели, содержащие больше число волокон. Городские кабели прокладываются в телефонные канализации.
Кабель городской связи типа ОКК, прокладываемый в канализации, содержит 4, 8 или 16 волокон (рис.13). Кабель имеет градиентные волокна с диаметром сердцевины 50 мкм (ОКК-50-01) или одномодовые волокна с диаметром сердцевины 10 мкм (ОКК-10-02).
Рис. 13. Оптический кабель городской связи марки ОККС:
1 — силовой элемент (стеклопластик); 2 — оптическое волокно; 3 — пластмассовая лента; 4 — стеклопластиковые стержни; 5—полиэтиленовый шланг
Силовой центральный элемент выполнен из стеклопластиковых стержней или стального троса, изолированного полиэтиленом. Поверх наложена скрутка из восьми оптических модулей или корделей. В каждом модуле может содержаться 1, 2 или 4 ОВ. Затем наложены фторопластная лента и полиэтиленовый шланг.
Кабели, предназначенные для прокладки в грунтах, зараженных грызунами или подверженных механическим воздействиям, имеют еще броневой покров из стеклопластиковых
стержней, а поверх него—полиэтиленовый шланг (ОККС). Известны конструкции, в которых вместо стержней применяется оплетка (ОККО).















