FiberOpt (728927), страница 2
Текст из файла (страница 2)
Волоконно-оптические линии связи представляют собой системы для передачи световых сигналов микроволнового диапазона волн от 0,8 до 1,6 мкм по оптическим кабелям. Этот вид линий связи рассматривается как наиболее перспективный. Достоинствами ВОЛС являются низкие потери, большая пропускная способность, малые масса и габаритные размеры, экономия цветных металлов, высокая степень защищенности от внешних и взаимных помех.
Основные требования к линиям связи
В общем виде требования, предъявляемые высокоразвитой современной техникой электросвязи к междугородным линиям связи, могут быть сформулированы следующим образом:
-
осуществление связи на расстояния до 12500 км в пределах страны и до 25 000 для международной связи;
-
широкополосность и пригодность для передачи различных видов современной информации (телевидение, телефонирование, передача данных, вещание, передача полос газет и т. д.);
-
защищенность цепей от взаимных и внешних помех, а также от грозы и коррозии;
-
стабильность электрических параметров линии, устойчивость и надежность связи;
-
экономичность системы связи в целом.
Кабельная линия междугородной связи представляет собой сложное техническое сооружение, состоящее из огромного числа элементов. Так как линия предназначена для длительной работы (десятки лет) и на ней должна быть обеспечена бесперебойная работа сотен и тысяч каналов связи, то ко всем элементам линейно-кабельного оборудования, и в первую очередь к кабелям и кабельной арматуре, входящим в линейный тракт передачи сигналов, предъявляются высокие требования. Выбор типа и конструкции линии связи определяется не только процессом распространения энергии вдоль линии, но и необходимостью защитить расположенные рядом ВЧ цепи от взаимных мешающих влияний. Кабельные диэлектрики выбирают исходя из требования обеспечения наибольшей дальности связи в каналах ВЧ при минимальных потерях.
В соответствии с этим кабельная техника развивается в следующих направлениях:
-
Преимущественное развитие коаксиальных систем, позволяющих организовать мощные пучки связи и передачу программ телевидения на большие расстояния по однокабельной системе связи.
-
Создание и внедрение перспективных ОК связи, обеспечивающих получение большого числа каналов и не требующих для своего производства дефицитных металлов (медь, свинец).
-
Широкое внедрение в кабельную технику пластмасс (полиэтилена, полистирола, полипропилена и др.), обладающих хорошими электрическими и механическими характеристиками и позволяющих автоматизировать производство.
-
Внедрение алюминиевых, стальных и пластмассовых оболочек вместо свинцовых. Оболочки должны обладать герметичностью и обеспечивать стабильность электрических параметров кабеля в течение всего срока службы.
-
Разработка и внедрение в производство экономичных конструкций кабелей внутризоновой связи (однокоаксиальных, одночетверочных, безбронных).
-
Создание экранированных кабелей, надежно защищающих передаваемую по ним информацию от внешних электромагнитных влияний и грозы, в частности кабелей в двухслойных оболочках типа алюминий — сталь и алюминий — свинец.
-
Повышение электрической прочности изоляции кабелей связи. Современный кабель должен обладать одновременно свойствами как высокочастотного кабеля, так и силового электрического кабеля, и обеспечивать передачу токов высокого напряжения для дистанционного электропитания необслуживаемых усилительных пунктов на большие расстояния.
Таблица №1 Достоинства и недостатки оптоволоконной связи
Достоинства
Недостатки
Открытые системы связи
-
Более высокое отношение мощности принимаемого сигнала к излучаемой мощности при меньших апертурах антенн передатчика и приемника.
-
Малая пригодность для радио вещания из-за высокой направленности лазерного пучка.
-
Лучшее пространственное разрешение при меньших апертурах антенн передатчика и премника
-
Очень малые габариты передающего и приемного модулей, используемых для связи на расстояния до 1 км
-
Хорошая скрытность связи
-
Освоение неиспользуемого участка спектра электромагнитных излучений
-
Отсутствие необходимости получения разрешение на эксплуатацию системы связи
-
Высокая требуемая точность наведения антенн передатчика и приемника
-
Низкий КПД оптических излучателей
-
Сравнительно высокий уровень шума в приемнике, частичтно обусловленный квантовой природой процесса детектирования оптического сигнала
-
Влияние характеристик атмосферы на надежность связи
-
Возможность отказов аппаратуры.
Достоинства
Недостатки
Направляющие системы связи
-
Возможность получений световодов с малыми затуханием и дисперсией, что позволяет сделать большим расстояния между ретрансляторами (10 … 50 км)
-
Малый диаметр одноволоконного кабеля
-
Допустимость изгиба световода под малыми радиусами
-
Малая масса оптического кабеля при высокой информационной пропускной способности
-
Низкая стоимость материала световода
-
Трудность соединения (сращивания) оптичеких волокон
-
Необходимость прокладки дополнительных электропроводящих жил в оптическом кабеле для обеспечения электропитания динстационно управляемой аппаратуры
-
Чувствительность оптического волокна к воздействию воды при ее попадании в кабель
-
Чувствительность оптического волокна к воздействию ионизирующего излучения
-
Низкий КПД источников оптического излучения при ограниченной мощности излучения
-
Возможность получения оптический кабелей, не обладающих электропроводностью и индуктивностью
-
Пренебрежимо малые перекрестные помехи
-
Высоко скрытость связи: ответвление сигнала возможно только при непосредственном подсоединении к отдельному волокну
-
Гибкость в реализации требуемой полосы пропускания: световоды различных типов позволяет заменить элуктрические кабели в цифровых системах связи всех уровней иерархии
-
Возможность постоянного усовершенствования системы связи
-
Трудности реализации режима многостанционного (параллельного) доступа с помощью шины с временным разделением каналов
-
Высокий уровень шума в приемнике
Конструкция и характеристика оптических кабелей связи
Классификация оптических кабелей связи
Оптический кабель состоит из скрученных по определенной системе оптических волокон из кварцевого стекла (световодов), заключенных в общую защитную оболочку. При необходимости кабель может содержать силовые (упрочняющие) и демпфирующие элементы.
Существующие ОК по своему назначению могут быть классифицированы на три группы: магистральные, зоновые и городские. В отдельные группы выделяется подводные, объектовые и монтажные ОК.
Магистральные ОК предназначаются для передачи информации на большие расстояния и значительное число каналов. Они должны обладать малыми затуханием и дисперсией и большой информационно-пропускной способностью. Используется одномодовое волокно с размерами сердцевины и оболочки 8/125 мкм. Длина волны 1,3...1,55 мкм.
Зоновые ОК служат для организации многоканальной связи между областным центром и районами с дальностью связи до 250 км. Используются градиентные волокна с размерами 50/125 мкм. Длина волны 1,3 мкм.
Городские ОК применяются в качестве соединительных между городскими АТС и узлами связи. Они рассчитаны на короткие расстояния (до |10 км) и большое число каналов. Волокна-градиентные (50/125 мкм). Длина волны 0,85 и 1,3 мкм. Эти линии, как правило, работают без промежуточных линейных регенераторов.
Подводные ОК предназначаются для осуществления связи через большие водные преграды. Они должны обладать высокой механической прочностью на разрыв и иметь надежные влагостойкие покрытия. Для подводной связи также важно иметь малое затухание и большие длины регенерационных участков.
Объектовые ОК служат для передачи информации внутри объекта. Сюда относятся учрежденческая и видеотелефонная связь, внутренняя сеть кабельного телевидения, а также бортовые информационные системы подвижных объектов (самолет, корабль и др.).
Монтажные ОК используются для внутри- и межблочного монтажа аппаратуры. Они выполняются в виде жгутов или плоских лент.
Оптические волокна и особенности их изготовления
Основным элементом ОК является оптическое волокно (световод), выполненное в виде тонкого стеклянного волокна цилиндрической формы, по которому передаются световые сигналы с длинами волны 0,85...1,6 мкм, что соответствует диапазону частот (2,3...1,2) • 1014 Гц.
Световод имеет двухслойную конструкцию и состоит из сердцевины и оболочки с разными показателями преломления . Сердцевина служит для передачи электромагнитной энергии. Назначение оболочки — создание лучших условий отражения на границе “сердцевина — оболочка” и защита от помех из окружающего пространства.
Сердцевина волокна, как правило, состоит из кварца, а оболочка может быть кварцевая или полимерная. Первое волокно называется кварц—кварц, а второе кварц—полимер (кремнеор-ганический компаунд). Исходя из физико-оптических характеристик предпочтение отдается первому. Кварцевое стекло обладает следующими свойствами: показатель преломления 1,46, коэффициент теплопроводности 1,4 Вт/мк, плотность 2203 кг/м3.
Снаружи световода располагается защитное покрытие для предохранения его от механических воздействий и нанесения расцветки. Защитное покрытие обычно изготавливается двухслойным: вначале кремнеорганический компаунд (СИЭЛ), а затем—эпоксидакрылат, фторопласт, нейлон, полиэтилен или лак. Общий диаметр волокна 500...800 мкм (рис. 1).
Рис. 1. Сечение оптического волокна:
1— сердцевина ; 2 — оболочка ; 3 — защитное покрытие
В
существующих конструкциях ОК применяются световоды трех типов: ступенчатые с диаметром сердцевины 50 мкм, градиентные со сложным (параболическим) профилем показателя преломления сердцевины и одномодовые с тонкой сердцевиной (6...8 мкм) (рис. 2).
Рис. 2. Оптические волокна:
а — профиль показателя преломления; б — прохождение луча; 1 — ступенчатые; 2 — градиентные; 3 — одномодовые
По частотно-пропускной способности и дальности передачи лучшими являются одномодовые световоды, а худшими — ступенчатые.
Важнейшая проблема оптической связи — создание оптических волокон (ОВ) с малыми потерями. В качестве исходного материала для изготовления ОВ используется кварцевое стекло , которое является хорошей средой для распространения световой энергии. Однако, как правило, стекло содержит большое количество посторонних примесей, таких как металлы (железо, кобальт, никель, медь) и гидроксильные группы (ОН). Эти примеси приводят к существенному увеличению потерь за счет поглощения и рассеяния света. Для получения ОВ с малыми потерями и затуханием необходимо избавиться от примесей, чтобы было химически чистое стекло.
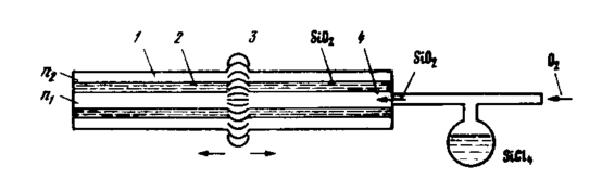
В настоящее время наиболее распространен метод создания ОВ с малыми потерями путем химического осаждения из газовой фазы.
Получение ОВ путем химического осаждения из газовой фазы выполняется в два этапа: изготовляется двухслойная кварцевая заготовка и из нее вытягивается волокно. Заготовка изготавливается следующим образом (рис. 3).
Рис. 3. Изготовление заготовки методом химического осаждения из газовой фазы:
1—опорная трубка (оболочка ); 2—осажденные продукты (сердцевина ); 3—нагревательная спираль; 4 — газообразный поток кварца















