135657 (722485), страница 4
Текст из файла (страница 4)
ВУТ выполняют предъявляемые к ним требования при отклонениях частоты от 105 до 95 % номинального значения и напряжения сети переменного тока от 112,5 до 85% номинального значения.
ВУТ работают в двух режимах:
- в режиме стабилизации напряжения;
- в режиме стабилизации тока.
РУТ обеспечивают стабилизацию выпрямленного напряжения с точностью ±1 % от установленного значения при одновременном изменении:
напряжения и частоты питающей сети в пределах тока нагрузки в пределах от номинального до минимального значений выпрямленного тока, указанных в табл. 1.
Стабилизированное напряжение на выходе ВУТ устанавливается в пределах от минимального до максимального значений, указанных в табл. 1, а для ВУТ 90/25 в пределах от 56 до 76 В.
ВУТ обеспечивают стабилизацию выпрямленного тока с точностью 20% от номинального выпрямленного тока при установке тока в пределах от 30 до 100% номинального значения. Указанная точность стабилизации сохраняется при изменениях выпрямленного напряжения в пределах от минимального до максимального значений, указанных в табл. 1, отклонениях напряжения и частоты питающей сети переменного тока в пределах.
При заряде аккумуляторной батареи вручную для устройств с номинальным напряжением 60В (кроме ВУТ 90/25) выпрямленное напряжение может быть повышено до 74 В, для устройств с номинальным напряжением 24В - до 36В, для ВУТ 152/50 - до 170-В, для ВУТ 28Е1/25- до 320В, при этом выпрямленный ток, установленный на номинальное значение, может снижаться до половины величины номинального тока.
Величина пульсации выпрямленного напряжения, измеренная на выходных клеммах ВУТ в любом режиме работы. (при работе на активную нагрузку), для ВУТ с номинальным напряжением 24В не превышает 10х10 в полосе частот от 300 Гц и выше и 0,1 В для частот до 300 Гц, а для ВУТ с номинальным напряжением 60В не превышает 2х 10 псофометрических, 0,015В для частот от 300 Гц и выше и 0,25В для частот до 300Гц, для ВУТ 152/50 не превышает 3 В, для ВУТ 280/25 не превышает 0,25 В для частот до 300Гц и 15 мВ для частот от 300 Гц и выше.
При номинальном напряжении питающей сети и максимальной выходной мощности коэффициенты полезного действия и коэффициенты мощности не менее величин, указанных в табл. 2.
Таблица 2 Таблица коэффициентов ВУТ.
| Тип устройства | Коэффициент полезного действия | Коэффициент мощности | |
| ВУТ 31/60 | 0,79 | 0,65 | |
| ВУТ 90/25 | 0,84 | 0,68 | |
| ВУТ 31/125 | 0,8 | 0,66 | |
| ВУТ 67/60 | 0,85 | 0,69 | |
| ВУТ 31/250 | 0,8 | 0,67 | |
| ВУТ 67/125 | 0,85 | 0,7 | |
| ВУТ 31/500 | 0,8 | 0,67 | |
| ВУТ 67/250 | 0,87 | 0,7 | |
| ВУТ 70/600 | 0,87 | 0,7 | |
| ВУТ 152/50 | 0,87 | 0,65 | |
| ВУТ 280/25 | 0,87 | 0,65 | |
При сбросах и набросах тока нагрузки, равных 10% от установленного значения тока ВУТ, выпрямленное напряжение должно оставаться в пределах ±6%, а для ВУТ 70/600 в пределах 4±6%, установленной величины выпрямленного напряжения.
Система автоматики ВУТ обеспечивает:
- включение в работу при появлении напряжения питающей сети, если ВУТ выключилось в результате пропадания этого напряжения;
- ограничение выходного тока в режиме стабилизации напряжения до (105+10) % номинального значения при перегрузке ВУТ током ограничения и выше;
- изменение установки выпрямленного напряжения с (2,3-2,35) В на элемент аккумуляторной батареи до 2,2 В на элемент;
- включение резервного ВУТ (в случае необходимости) для заряда аккумуляторной батареи;
- включение резервного ВУТ взамен любого рабочего, если ВУТ выключилось, в результате неисправности.
Система защиты ВУТ обеспечивает автоматическое выключение ВУТ в случаях:
- перегорания сигнальных предохранителей;
- повышения выпрямленного напряжения до (115±5) % номинального значения, а для ВУТ 90/25 до-(115±5) % от 76В; для ' ВУТ 152/50 и ВУТ 280/25 до (115±5) % максимального значения;
- короткого замыкания на выходе ВУТ иди повышения выпрямленного тока до 300 % и выше номинального значения без замедления;
- в режиме стабилизации напряжения повышения выпрямленного тока до (220±10) % номинального значения с замедлением более 10Омс;
- в режиме стабилизации тока повышения выпрямленного тока (120 ±5) % номинального значения без замедления;
- пропадания выпрямленного напряжения;
- при неравномерном распределении тока между двумя блоками тиристоров от 40 до 60 А только для ВУТ 70/600.
ВУТ рассчитаны на параллельную работу на общую нагрузку в количестве четырех устройств.
В режиме стабилизации тока допускается работа пяти устройств.
При этом выполняются следующие требования:
- стабилизация выпрямленного напряжения сохраняется с точностью ±1 %, при параллельной работе свыше двух ВУТ точность стабилизации может ухудшаться до ±2 %;
- ток нагрузки между параллельно работающими ВУТ в пределах изменения нагрузки от 100 до (30—35) % номинального значения тока одного ВУТ распределяется равномерно с точностью 20 % номинального значения тока одного ВУТ; при номинальном токе нагрузки, ток нагрузки между параллельно работающими ВУТ устанавливается с точностью 10% номинального значения;
- при повышении выпрямленного напряжения осуществляется селективное отключение только неисправного ВУТ;
- ВУТ с номинальным напряжением 60В, ВУТ 152/50 и ВУТ 280/25 , включаются и выключаются на параллельную работу автоматически в зависимости от величины станционной нагрузки;
- ВУТ с номинальным напряжением 24В включаются на параллельную работу вручную.
Допускается параллельная работа в режиме стабилизации напряжения более четырех устройств без равномерного распределения нагрузок между ними при ухудшении КПД комплекта выпрямительных устройств.
В ВУТ предусмотрена местная и дистанционная сигнализация. В зависимости от выполняемых функций ВУТ можно разделить на три основные части:
- собственно выпрямитель или силовую часть ВУТ;
- систему управления тиристорами;
- систему автоматики, защиты, сигнализации и параллельной работы.
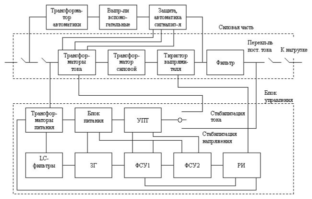
Рис.2.1. Устройство выпрямительное типа ВУТ.
Устройство выпрямительное ВУТ 70600 (и дальнейшем именуемое ВУТ) выполнено по принципиальной электрической схеме, основное отличие данного ВУТ от выпрямительных устройств с условной мощностью 2, 4, 9 и 16кВт - большая выходная мощность - 42 кВт (условная - 40 кВт). Поэтому для уменьшения искажении питающей сети, вносимых ВУТ с такой выходной мощностью, его силовая часть выполнена по 12-фазной схеме (у выпрямительных устройств меньшей мощности - схема выпрямления - 6-фазная). Кроме того, введена схема выравнивания токов нагрузки между двумя параллельно включенными 6-и фазными схемами выпрямления с точностью 10-15А предусмотрено защитное отключение ВУТ при неравномерном – 40-60 А - распределение тока между этими схемами. По спектральному составу пульсации ВУТ соответствует требованиям аппаратуры МТ 20, 25. В разделах настоящего технического описания излагаются только те особенности схемы ВУТ, которые свойственны данному ВУТ, а также приводится описание конструкции ВУТ, поскольку она имеет существенные отличия.
2.2. Силовая часть
В ВУТ для преобразования переменного тока в постоянный применена 12-фазная схема выпрямления с параллельным включением двух полностью управляемых (симметричных) трехфазных мостовых схем (6-фазных) на тиристорах через уравнительный дроссель. Регулирование и стабилизация выпрямленных напряжении и тока осуществляется изменением момента включения тиристоров, т. е. изменением его угла регулирования а. Для получения заданных выходных параметров угол регулирования а изменяется в определенных пределах: от аmin до аmax. Отпирание тиристоров двух 6-фазных схем выпрямления осуществляется от управляющих сигналов, создаваемых системой управления.
Силовая часть ВУТ (собственно выпрямитель) состоит из трансформаторов тока ТA1......ТA10, двух силовых трансформаторов ТV1 и ТVЗ, двух тиристорных .мостов VТ1......VТ6 и VТ14......VТ19, собранных по схеме Ларионова (трехфазная мостовая схема выпрямления), уравнительного дроселя L1 и L2 и фильтровых конденсаторов С4......С9 и С40 по С51. Каждая 6-фазная схема выпрямления состоит их силового трансформатора ТV1 (ТV3) и тиристорного моста V'Т1......VТ6 (VТ14......VТ19). Вторичные обмотки силовых трансформаторов VТ1 и VТЗ соединенных в треугольник и подключенных к основному трехфазному выпрямительному мосту на тиристорах. Первичные обмотки силовых трансформаторов рассчитаны на напряжения 380 В. Первичные обмотки силового трансформатора VТ1 соединены в треугольник, а первичные обмотки силового трансформатора VT3 - в звезду. Благодаря такому включению первичных обмоток осуществляется сдвиг их вторичных обмоток на 30 электрических градусов.
Две 6-фазные схемы через уравнительный дроссель соединены; параллельно. Сложение выпрямленных напряжений со сдвигом фаз питающих напряжений на 30 электрических градусов даст в результате выпрямленное напряжение с частотой пульсации 600 Гц (12-фазиая схема выпрямления). Уравнительный дроссель обеспечивает независимую работу двух схем Ларионова.
В цепь каждой фазы ВУТ между главными контактами магнитного пускателя КМ2 и первичными обмотками силовых трансформаторов включены первичные обмотки трансформаторов тока ТА1......ТА6, вторичные обмотки которых через выпрямительные мосты подключены к цепям автоматики защиты и параллельной работы.
Трансформаторы тока ТА7 и ТА9 включены в разрыв линии вторичной обмотки трансформаторов ТV1 и ТVЗ и являются датчиками тока устройства для выравнивания токов. Трансформаторы тока ТА8 н ТА10 включены в разрыв линии вторичной обмотки трансформаторов TV1 и TV3 и являются датчиками тока защиты от неравномерного распределения тока нагрузки между двумя 6-фазными схемами выпрямления.
Выпрямленное напряжение с шести катодов двух мостов плюсовым полюсом подается на выходную клемму, а минусовым полюсом с анодов трех тиристоров двух мостов через уравнительный дроссель - на двухзвенный фильтр, осуществляющий сглаживание пульсации до заданной нормы. Каждое звено фильтра состоит из дросселя фильтра к конденсаторов, которые защищены силовыми предохранителями F1……F4. Параллельно силовым предохранителям установлены сигнальные предохранители соответственно F5......F8. Ток и напряжение на выходе ВУТ измеряются амперметром и вольтметром класса точности 1,5. Для автоматического включения и выключения со стороны переменного тока в ВУТ установлен магнитный пускатель КМ2. Для отключения ВУТ со стороны переменного тока при проведении профилактических и ремонтных работ, а также в случае аварии в ВУТ установлен ремонтный разъединитель. На выходе ВУТ в минусовом полюсе установлен силовой предохранитель F20, выполняющий помимо своего основного назначения, роль однополюсового рубильника, при помощи которого ВУТ может быть отключен от минусового полюса нагрузки, для этой же цели служит перемычка между клеммами Х2: 10 и Х2: 11.
Для уменьшения уровня радиопомех на входе ВУТ установлены конденсаторы С1......СЗ, а на выходе - С38, С39, С60.....С67.
2.3. Система управления.
Конструктивно элементы системы управления размешены в двух одинаковых специальных блоках управления (АЗ и А4) и в блоке выравнивания токов и зашиты БВТ и 3).
Блок управления.















