filter (722423)
Текст из файла
0
Московский ОРДЕНА ЛЕНИНА И ОРДЕНА ОКТЯБРЬСКОЙ РЕВОЛЮЦИИ Авиационный Институт имени СЕРГО ОРДЖОНИКИДЗЕ
(технический университет)
Кафедра 405
“Радиотехнические цепи и сигналы”
Курсовая работа
на тему
| Синтез частотно-избирательного фильтра. |
| Выполнил: | студент группы ##-### Гуренков Дмитрий |
| Проверил: | преподаватель Ручьев М. К. |
Москва 2019 г.
Содержание
Задание. 3
Исходные данные. 3
Аппроксимация частотной характеристики фильтра. 4
Последовательность шагов. 4
Тип фильтра. 4
Требования к ФНЧ-прототипу. 4
Порядок, нули и полюсы ФНЧ-прототипа. 5
Нули и полюсы синтезируемого фильтра. 5
Передаточная функция и АЧХ. 6
Расчет. 6
Реализация аналогового фильтра. 9
Теория. 9
Расчет. 10
Каскадное соединение
- звеньев. 11
Теория. 11
Расчет. 12
Гираторная реализация безиндуктивного фильтра. 13
Теория. 13
Расчет. 14
-фильтр с каскадной структурой. 14
Теория. 14
Расчет. 15
Сравнительная характеристика различных реализаций синтезируемого фильтра. 17
Литература. 18
Задание
-
Представить данные на синтез частотно-избирательного фильтра в графической форме с использованием нормированной частоты
. -
Определить технические требования к нормированному ФНЧ прототипу: тип и порядок фильтра.
-
Найти координаты нулей и полюсов нормированной передаточной функции ФНЧ прототипа.
-
Найти лестничную структуру ФНЧ прототипа с нормированными элементами.
-
Определить координаты нулей и полюсов передаточной функции синтезируемого частотно-избирательного фильтра. Построить график АЧХ с использованием денормированной частоты
. -
Определить лестничную структуру синтезируемого фильтра с нормированными элементами и провести денормирование элементов.
-
Выбрать возможные варианты RLC-звеньев первого и второго порядков, предназначенных для каскадной реализации фильтра, рассчитать величины элементов и составить полную схему фильтра.
-
Уменьшив частотные параметры на два порядка:
-
Составить схему и провести расчет элементов для гираторной реализации фильтра.
-
Выбрать возможные варианты ARC-звеньев первого и второго порядков, предназначенные для безиндукционной каскадной реализации фильтра, рассчитать величины элементов и составить полную схему фильтра.
-
Сделать вывод, дав сравнительную характеристику различным вариантам реализации синтезируемого фильтра.
Исходные данные
Задача синтеза фильтра состоит в разработке электрической схемы устройства, обладающего требуемыми частотными и временными характеристиками. Курсовая работа предполагает проектирование фильтра на основе требования к форме его характеристики затухания. При синтезе полосно-пропускающего фильтра вводится требование к верхним и нижним граничным частотам полосы пропускания (
,
,
,
).
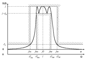
А
Рисунок 1
мплитудно-частотная характеристика (АЧХ) фильтра поэтому при рассмотрении требований к АЧХ необходимо вместо допусков
и
ввести параметры:
- допустимую неравномерность в полосе пропускания и
- максимально допустимую передачу в полосе задержания, причем
Типичная АЧХ полосно-пропускного фильтра Чебышева приведена на рисунке.
Процедура проектирования частотно-избирательного фильтра включает в себя два основных этапа:
-
Этап проектирования, в ходе которого подбирается передаточная функция, удовлетворяющая заданным требованиям (АЧХ, выделенная из аппроксимирующей передаточной функции, не должна выходить за пределы заданного коридора допусков);
-
Этап реализации, суть которого – в выборе принципа реализации передаточной функции, разработке и расчете конкретной схемы фильтра, обладающего найденной передаточной функцией.
Порядок выполнения первого этапа достаточно хорошо разработан, поставленная задача решается с использованием какого-либо из многочисленных справочников по расчету фильтров. Решение второй задачи в рамках второго этапа многовариантно. Это связано с тем, что известно довольно много принципов и схем, позволяющих реализовать найденную передаточную функцию.
Аппроксимация частотной характеристики фильтра
Последовательность шагов
На этапе аппроксимации необходимо проделать следующее:
-
Выбрать тип фильтра.
-
Пересчитать исходные данные в требования к фильтру – прототипу нижних частот (ФНЧ-прототипу).
-
Определить минимальный порядок ФНЧ-прототипа, нули и полюсы его передаточной функции (с помощью справочника).
-
Пересчитать нули и полюса ФНЧ-прототипа в нули и полюсы синтезируемого фильтра.
-
Записать передаточную функцию фильтра, найти и построить АЧХ или характеристику затухания.
Тип фильтра
Существует ряд типов фильтров, различающихся по характеру их передаточных функций. Например, фильтр Баттерворта, фильтр Чебышева, эллиптический (Золоторева - Каура) фильтр. Каждый из указанных типов в определенном смысле оптимален. Главная же особенность состоит в том, что заданную избирательность фильтр Чебышева обеспечивает при меньшем порядке, чем фильтр Баттерворта, а эллиптический фильтр в этом смысле лучше чебышевского.
Требования к ФНЧ-прототипу
Для того чтобы не было привязки начального этапа расчета к конкретным значениям частоты и, следовательно, приводимые в справочниках таблицы и графики имели большую общность, осуществляется нормировка частотной оси и ее трансформация таким образом, чтобы свести характеристики ФНЧ, ФВЧ, ППФ, ПЗФ к характеристикам эквивалентного ФНЧ-прототипа.
Амплитудно-частотная характеристика ФНЧ-прототипа определена на нормированной оси частот, причем граничная частота полосы пропускания
, а граничная частота полосы задержания
. В качестве нормирующей частоты для ФНЧ и ФВЧ выбирается граничная частота полосы пропускания
, а для ППФ и ПЗФ – центральная частота полоса пропускания (задержания)
. Формулы для вычисления нормированных частот синтезируемого фильтра и его ФНЧ-прототипа приведены в таблице 2.1.1 Обозначение частоты с тильдой (
) относится к проектируемому фильтру, а без тильды (
) – к ФНЧ-прототипу. При синтезе ППФ и ПЗФ определяется коэффициент геометрической асимметрии
, в зависимости от значения, которого по-разному вычисляют нормированные частоты. Важно проконтролировать, чтобы всегда выполнялись условия:
и
. В противном случае невозможно правильное преобразование ППФ и ПЗФ из ФНЧ-прототипа.
Итак, требования к АЧХ ФНЧ-прототипа найдены. Они выражаются тремя параметрами:
,
и
.
Порядок, нули и полюсы ФНЧ-прототипа
Минимальный порядок ФНЧ-прототипа, необходим для того, чтобы его АЧХ укладывались в коридор допусков, определяется с помощью специальных графиков, которые можно найти в справочнике. Из нужной таблицы и подходящей строки необходимо выписать нормированные координаты нулей и полюсов. Нули лежат на мнимой оси плоскости комплексной частоты
.
Нули и полюсы синтезируемого фильтра
Пересчет координат нулей и полюсов ФНЧ-прототипа в соответствующие параметры синтезируемого фильтра осуществляется по формулам, приведенным в таблице 2.4.2 При этом следует обратить внимание на следующие моменты:
-
Данные формулы получены на основе правил замены комплексных переменных
при переходе от ФНЧ-прототипа к другим видам фильтров; -
Каждый полюс или нуль при переходе от ФНЧ-прототипа к ППФ или ПЗФ порождает два полюса или два нуля, так что порядок синтезируемого фильтра по сравнению с прототипом увеличивается в два раза;
-
Помимо нулей, вычисленных по приведенным формулам, появляются дополнительные нули
, количество которых (кратность) равна разности между числом полюсов
и нулей
в ФНЧ-прототипе; сказанное справедливо для ФВЧ и ППФ и обусловлено пересчетом в начало координат
- плоскости
- кратного нуля ФНЧ-прототипа, расположенного в бесконечности; -
При переходе к ПЗФ каждый из
нулей ФНЧ-прототипа, находящихся в бесконечности, пересчитывается в пару нулей
; -
В результате пересчетов оказывается, что для ФНЧ и ПЗФ количество нулей равно количеству полюсов, а для ППФ число нулей на
меньше число полюсов; -
При вычислении полюсов ППФ и ПЗФ группируются значения
и
с разными индексами "+" и "–", в результате чего полюс, расположенный на
- плоскости ближе к мнимой оси, имеет меньшую частоту.
Передаточная функция и АЧХ.
Располагая координатами нулей и полюсов синтезируемого фильтра, можно записать передаточную функцию:
где
- количество нулей,
- количество полюсов синтезируемого фильтра,
- нормировочный коэффициент. Диаграмма нулей и полюсов определяет передаточную функцию с точностью до постоянного множителя, но на форму АЧХ это не оказывает влияния. АЧХ удобно представлять в нормированном виде. С этой целью коэффициент
выбирается таким, чтобы
. Значения коэффициента
для различных видов приведены в таблице 2.5.3 В ней
- это коэффициент, взятый из последней колонки таблицы справочника,
- параметр преобразования для ППФ и ПЗФ,
- порядок ФНЧ-прототипа. Итак, для фильтра Чебышева ППФ значение коэффициента
.
Расчет.
Заданные технические требования представлены как Таблица 1.
Характеристики
Тип файла документ
Документы такого типа открываются такими программами, как Microsoft Office Word на компьютерах Windows, Apple Pages на компьютерах Mac, Open Office - бесплатная альтернатива на различных платформах, в том числе Linux. Наиболее простым и современным решением будут Google документы, так как открываются онлайн без скачивания прямо в браузере на любой платформе. Существуют российские качественные аналоги, например от Яндекса.
Будьте внимательны на мобильных устройствах, так как там используются упрощённый функционал даже в официальном приложении от Microsoft, поэтому для просмотра скачивайте PDF-версию. А если нужно редактировать файл, то используйте оригинальный файл.
Файлы такого типа обычно разбиты на страницы, а текст может быть форматированным (жирный, курсив, выбор шрифта, таблицы и т.п.), а также в него можно добавлять изображения. Формат идеально подходит для рефератов, докладов и РПЗ курсовых проектов, которые необходимо распечатать. Кстати перед печатью также сохраняйте файл в PDF, так как принтер может начудить со шрифтами.















