SM (722402)
Текст из файла
МЕТА РОБОТИ
Виконання курсової роботи має замету;
• поглиблення теоретичних знань технічних і програмних засобів мікропроцесорних пристроїв (МПП);
• розвиток навиків самостійної розробки загальної структури МПП з аналого-цифровим і цифро-аналоговим перетворенням інформації, побудови принципових схем окремих вузлів пристрою, розробки та відлагодження програмного забезпечення на мові асемблеру мікропроцесора (МП) КР580ВМ;
• набуття навиків роботи з технічною та довідниковою літературою з питань реалізації ряду вузлів МПП, вибору аналого-цифрового і цифро-аналогового перетворювачів (АЦП і ЦАП), використання стандартних підпрограм з прикладного програмного забезпечення МП КР580ВМ80,
Курсова робота повинна сприяти закріпленню і узагальненню знань, отриманих студентом на лекційних і лабораторних заняттях, застосуванню цих знань до комплексного вирішення конкретної інженерної задачі.
Однією з основних вимог до теми курсової роботи є її комплексність, тобто розв'язання взаємно зв'язаних між собою питань. Разом з тим ряд деяких питань теми повинні бути розроблені більш детально на основі загального вирішення задачі.
ЗАВДАННЯ ДО КУРСОВОЇ РОБОТИ
Розробити компоненти технічного і програмного забезпечення мікропроцесорного пристрою, який включає аналогово-цифровий і цифро-аналоговий перетворювачі і виконує функцію лінійної системи автоматизованого регулювання. Системи описується заданим пропорційно-інтегро-диференціальним рівнянням, яке зв'язує аналогові сигнали х (t) на вході і у (t) на виході системи, МПП повинен бути побудований на МП КР580ВМ80. Курсова робота повинна включати такі етапи:
1. Для заданого рівняння систем в регулювання здійснити йoгo часткову дискретизацію і отримати відповідне рівняння цифрового фільтра (ЦФ). Побудувати аналогову схему, яка описується заданим рівнянням.
2. Скласти і детально описати структурну схему МПП з врахуванням особливостей індивідуального завдання.
3. Скласти схему алгоритму функціонування МПП. Вибрати структуру представлення даних при заданій розрядності АЦП, який здійснює дискретизацію і квантування вхідного сигналу.
4. У відповідності з індивідуальним завданням вибрати типи АЦП і ЦАП. Скласти і описати принципові схеми підключення АЦП і ЦАП до МПП. Нарисувати часову діаграму роботи АЦП.
5. Скласти на мові асемблеру мікропроцесора КР580ВМ80 програму вводу інформації через АЦП і виводу через ЦАП.
6. Скласти програму відповідної цифрової обробки інформації. Оцінити верхню
граничну частоту ЦФ. 7. Скласти і детально описати фрагмент принципової схеми реалізації
функціонального вузла, вказаного в індивідуальному завданні. Окремі пункти завдання для курсової роботи за погодженням з викладачем можуть бути уточнені або замінені в процесі виконання роботи.
ВКАЗІВКИ ДО КУРСОВОЇ РОБОТИ
Пояснювальна записка до курсової роботи повинна мати таку структуру.
1. Титульний лист.
2. Завдання до курсової роботи.
3. Зміст.
4. Вступ.
5-n. Основна частина, яка. відповідає пунктам завдання.
n+1. Заключення.
n+2. Список літератури.
Пояснювальна записка повинна бути написана на листах формату All. Рисунки можуть бути нарисовані на міліметровому папері. Принципові схеми повинні бути нарисовані з дотриманням вимог ЄСКД, й схеми алгоритмів - вимог ЄСПД.
При виконанні курсової роботи можна керуватися такими методичними вказівками та інформацією (у відповідності з нумерацією етапів).
1. В лінійних системах автоматичного регулювання вхідний х(t) та вихідний у(t) сигнали в загальному випадку зв'язані пропорційно-інтегро-диференціальним законом регулювання [1]. Прикладом такого рівняння зі всіма трьома типами членів є таке:
де x (t) - вхідний сигнал, який і відхиленням від еталонного сигналу, k - коефіцієнт передачі;
Т1 і Т2 - сталі часу; у (t) - керуючий сигнал, який подається з системи регулювання на об'єкт керування.
Дискретизація аналогового рівняння полягає в заміні безперервної величний її дискретними відліками (x(t)хn, у(t)yn) і відповідними перетвореннями похідних та
інтегралів. Очевидна дискретизація першої похідної - її заміна першою скінченною різницею:
де
t - інтервал дискретизації.
Аналогічні скінченні різниці використовуються при дискретизації похідних вищих порядків. Так, наприклад, похідна другого порядку може бути замінена виразом:
Один зі способів дискретизації інтеграла полягає в його усуненні шляхом диференціювання рівняння Інший спосіб прямої дискретизації зв'язаний з такими перетвореннями:
В результаті часової дискретизації заданого рівняння отримаємо рівняння цифрового фільтра. Це рівняння в загальній формі при обробці інформації в реальному масштабі часу має вигляд:
де m і k - кількість відліків, які обробляються цифровим фільтром в кожний момент часу (додатні цілі числа); aj, bj - коефіцієнти, які визначають характеристики фільтра.
При наявності в правій частині рівняння членів виду Yn-j фільтр називається
рекурсивним, при відсутності таких членів - нерекурсивним.
Цифровий фільтр може бути реалізований як апаратурно, так і програмно. При апаратурній реалізації необхідними схемними елементами є перемножувачі, суматори і елементи затримки. На рис. 1 зображена структурна схема апаратної реалізації цифрового фільтра, який описується рівнянням:
Yn = a0xn+a1xn-1+b1yn-1+b2yn-2
Рис. Структурна схема реалізації цифрового фільтра;
XY - елемент множення; ВД - елемент затримки; - суматор .
При побудові аналогової схеми, яка відповідає заданому пропорційно-інтегро-диференціальному рівнянню, варіанти рівнянь можна розділити на дві групи. Для варіантів 14-18 вихідний сигнал у (t) заданий явно через вхідний сигнал х (t). його похідні або інтеграл. Такий чином, аналогова схема для цих варіантів буде складатися з суматора, пропорційного елемента, диференціаторів та інтегратора. Кожний з цих елементів може бути побудований на основі операційного підсилювача [6].
На рис. 2 зображена аналогова схема, яка відповідає рівнянню варіант 14. На основі операційного підсилювача ОПІ зібрана схема диференціатора, а на ОП2 - схема додавання-віднімання. Сигнал на виході ОПІ визначається співвідношенням:
Рис. 2. Аналогова схема, яка описується заданим рівнянням.
Сигнал на виході ОП2:
y(t)= -R4/R2*z(t)+R5/RЗ*x(t)
причому повинно виконуватись співвідношення: R4 / R2 = R5 / R3 Виходячи з заданого рівняння параметри елементів, схеми повинна задовільнити такі умови:
Для варіантів 1- ІЗ аналогові схеми теж можуть бути побудовані аналогічним чином, але їм відповідають також значно простіші схеми, які являють собою RC-, LC- або RLC-ланки Вихідна напруга знімається з якого-небудь одного або двох послідовно з'єднаних елементів.
Для варіантів 1-13 аналогова схема може бути побудована таким чином. До заданого рівняння застосовується перетворення Лапласа. Отримане алгебраїчне рівняння розв'язується відносно у(р). Коефіцієнт при х(р) має вид дробово-раціонального виразу, в якому знаменник є сумою зображень за Лапласом опорів резистора, конденсатора та індуктивності ( в залежності від порядку заданого рівняння), а чисельник є частиною цієї суми. Вид цього дробово-раціонального виразу визначає аналогову схему. Наприклад, для варіанта І отримаємо:
Для спряження АЦП і ЦАП з МП доцільно використати програмований паралельний інтерфейс (ППІ) КР580ВВ55. При програмному опитуванні АЦП можна використати режим 0 ППІ, а при вводі через переривання - режим 0 або 1 [8].
На рис.4 зображено фрагмент структурної схеми підключення 8-розрядних АЦП (в режимі програмного опитування) і ЦАП до МПП через КР580ВВ55.
На аналогових вхід АЦП, подається сигнал х (t) через резистор R, який визначає масштаб перетворення. Цифрові виходи Р (1-8) АЦП підключені до каналу А ППІ. Виводи, що відповідають сигналам П (пуск) і ГТ (готовність), підключені відповідно до розрядів 0 і 4 каналу С. Цифрові входи ЦАП підключені до каналу В. На виході блоку ЦАП (з відповідними елементами) формується аналоговий сигнал у(t). Обмін між ППІ і МП здійснюється через виводи D (0-7), які підключені до шини даних. Канал А і половина каналу С (розряди 4-7) ППІ повинні бути запрограмовані на ввід інформації, канал В і друга половина каналу С (розряди 0-3) - на вивід.
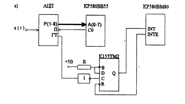
На рис.5,а зображено фрагмент схеми підключених АЦП до шин МПП в режимі вводу інформації через переривання при використанні команди RSTN (рестарт).
Запуск АЦП (сигнал П), як і в режимі програмного опитування, здійснюється через паралельний інтерфейс КР580ВВ55 (розряд 0 каналу С). ППІ використовується в режимі 0, сигнал ГТ після інвертування поступає, на вхід синхронізації тригера К155ТМ2. Коли на вході "С" відбувається перехід від рівня логічного 0 до рівня логічної 1, дані з входу D (тобто логічна 1) передаються на вихід Q, який з'єднаний з виводом запиту переривання INT мікропроцесора КР580ВМ80. Очевидно, що ця зміна стану тригера відбувається лише тоді, коли на вході "R" (виводі INТЕ) сигнал має рівень логічної 1, тобто переривання дозволено.
При виконанні машинного циклу "Підтвердження переривання" в керуючому слові, яке на початку машинного циклу записується в системний контролер (СК), розряд INTA=l, що обумовлює формування однойменного сигналу керування. Цей сигнал через інвертор (якщо він є Н - активним і без інвентора при L - активному сигналі) поступає на вхід дозволу "Е" буферного елемента (БЕ) з трьома вихідними станами (логічних 0 та 1 і високого вихідного опору). При Е =1 виходи БЕ, які підключені до шини даних, не впливають на логічні рівні на цих лініях, а при Е=0 виходи БЕ повторюють логічні рівні на входах 0-7. Як БЕ можуть бути використані, наприклад, дві мікросхеми К155ЛП11, кожна з яких мас по б входів/виходів.
Формування логічних рівнів на входах БЕ визнаначається номером N з команди RSTN. Так, наприклад, для реалізації коду команди RST 5 на вході 4 повинен бути встановлений рівень логічного 0, а на всіх інших входах - логічної 1. Цей код команди МП читає не з пам'яті, а безпосередньо з МП, в результаті виконання якої МП переходить до підпрограми обробки переривання, яка повинна бути розміщена в пам'яті з адреси 8х5. Крім того, при виконанні команди RSTN на виході INTE встановлюється рівень логічного 0, який "скидає" за допомогою тригера К155ТМ2 сигнал INT. Встановити сигнал ІNТЕ=1 можна лише програмно за допомогою команди ЕІ ( дозвіл переривання), якою повинна завершуватися.
Характеристики
Тип файла документ
Документы такого типа открываются такими программами, как Microsoft Office Word на компьютерах Windows, Apple Pages на компьютерах Mac, Open Office - бесплатная альтернатива на различных платформах, в том числе Linux. Наиболее простым и современным решением будут Google документы, так как открываются онлайн без скачивания прямо в браузере на любой платформе. Существуют российские качественные аналоги, например от Яндекса.
Будьте внимательны на мобильных устройствах, так как там используются упрощённый функционал даже в официальном приложении от Microsoft, поэтому для просмотра скачивайте PDF-версию. А если нужно редактировать файл, то используйте оригинальный файл.
Файлы такого типа обычно разбиты на страницы, а текст может быть форматированным (жирный, курсив, выбор шрифта, таблицы и т.п.), а также в него можно добавлять изображения. Формат идеально подходит для рефератов, докладов и РПЗ курсовых проектов, которые необходимо распечатать. Кстати перед печатью также сохраняйте файл в PDF, так как принтер может начудить со шрифтами.















