kurskoluk1 (722132)
Текст из файла
| Введение В настоящее время цифровые частотомеры получили широкое распространение не только у радиолюбителей, но и у профессионалов. Лаборатория современного радиолюбителя просто немыслима без частотомера, ведь прибор для измерения частоты – прибор первой необходимости. Это объясняется возрастающей потребностью измерения частоты. Современные частотомеры используются не только как устройства для измерения частоты, но и в качестве цифровой шкалы, а также в качестве составляющих многих других более сложных РЭА. | ||||||||||
| РГР-2068757-20.08-ПР7-16-00 | ||||||||||
| Изм. | Лист | № докум | Подп. | Дата | ||||||
Студент | Мелехин Т | Лит. | Лист | Листов | ||||||
| Руковод. | Колуков | Ур | 4 | |||||||
| Консульт. | Гр. ПР7УКП Стромынка | |||||||||
| Н. контр. | ||||||||||
| Зав. каф | Сахаров | |||||||||
1. РАЗРАБОТКА И АНАЛИЗ ТЕХНИЧЕСКОГО ЗАДАНИЯ
-
Заявка на разработку
1.1.1 Назначение: малогабаритный цифровой частотомер предназначен для измерения частоты электрических колебаний.
1.1.2 Выполняемые функции: измерение частоты.
1.1.3 Основные параметры функционирования:
-
чувствительность по уровню входного сигнала при измерениях частот до 600 кГц – 8мВ; от 600 кГц до 2,5 МГц – 30 мВ; свыше 2,5 МГц до 100 МГц – около 100МВ;
-
абсолютная погрешность измерения частоты в диапазоне от 0 до 20 кГц составляет 3 Гц; от 20 кГц до 2 МГц – 10 Гц; свыше 2 МГц – 100 Гц;
-
потребляемый ток от источника питания при измерениях частот до 2,5 МГц ток не превышает 5мА (при выключенной индикации) или 60 мА (при включенной индикации);
-
напряжение питания частотометра 9В.
-
Условия эксплуатации:
-
температура: Т min = -40С; T max = +60С;
-
удары: длительность ударного импульса 5 …. 10мс, максимальное ускорение 98 м/с2 , частоты ударов 40….80мин-1
-
вибрации: диапазон частот 10 …. 70 Гц, виброускорение до 37 м/с2 ;
-
пониженное атмосферное давление: 61 кПа;
-
влажность: 93% при Т = 25С;
1.1.5 Транспортировать любым видом транспорта по территории РФ.
1.1.6 Конструктивные особенности: разборный корпус, лицевая панель.
1.1.7 Критерии качества: масса, габариты, стоимость.
1.1.8. Цель разработки: создание многофункционального цифрового портативного частотомера со сниженными массо-габаритными характеристиками, уменьшение его стоимости, повышенной надёжности и эффективности, а также удовлетворяющего требованиям настоящего технического задания.
-
АНАЛИЗ АНАЛОГОВ И ПРОТОТИПА.
2.1 Анализ существующих конструкций частотомеров
Количество аналогов частотомера в мире не поддаётся исчислению.В целом все частотомеры работают по одному принципу: подсчет количества импульсов за фиксированный интервал времени. И в разных схемах этот принцип реализуется по разному. Отсюда и идёт такое разнообразие конструкций. Новое направление в развитии измерительной техники даёт использование микроконтролёров (например схема № 2). Хотя их использование повышает цену прибора во много раз, но пользовательская выгода также возрастает не в меньшее количество раз. Ведь предел измерения можно повысить до 1,2 ГГц, а используя универсальность микроконтролеров и немалое количество денег функции частотомера ограничиваются только фантазией и интеллектом разработчика! В данной работе будут рассматриваться те схемы, которые в наибольшей степени охватывают современные тенденции развития частотомеров.
Анализ аналогов и прототипа Таблица 2.1.
ЧастотомерКрит. качества | №1 | №2 | №3 | Прототип | Разрабатываемая конструкция |
| Стоимость | Высокая | Очень высокая | Средняя | Высокая | Невысокая |
| Эргономичность | - | + | - | + | + |
| Многофункциональность | - | - | + | - | - |
| Дискретность (Гц) | 10 | 10 | 25 | 1 | 1 |
| Габариты | Большие | Средние | Маленькие | Большие | Меньше всех |
| Диапазон измерений | 10Гц-100КГц | 1Гц-200МГц | 50Гц-500КГц | 600кГц-100МГц | 600кГц-100МГц |
| Вид обрабатываемого сигнала | Аналоговый | Цифровой | Цифровой | Цифровой | Цифровой |
| Масса | Большая | средняя | средняя | большая | Наименьшая |
Ниже приводятся схемы приведенных выше аналогов.
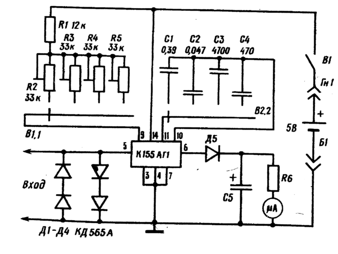
Схема №1 – простой аналоговый частотомер, собранный на одновибраторе К155АГ1
Схема №2 – частотомер с использованием микроконтролера К1816ВЕ31
Схема №3 – малоэргономичный комбинированный частотомер, позволяющий измерять ещё и индуктивность различных катушек, резонансную частоту контуров, емкость конденсаторов.
Схема прототипа:
2.2. Анализ разрабатываемой конструкции частотомера
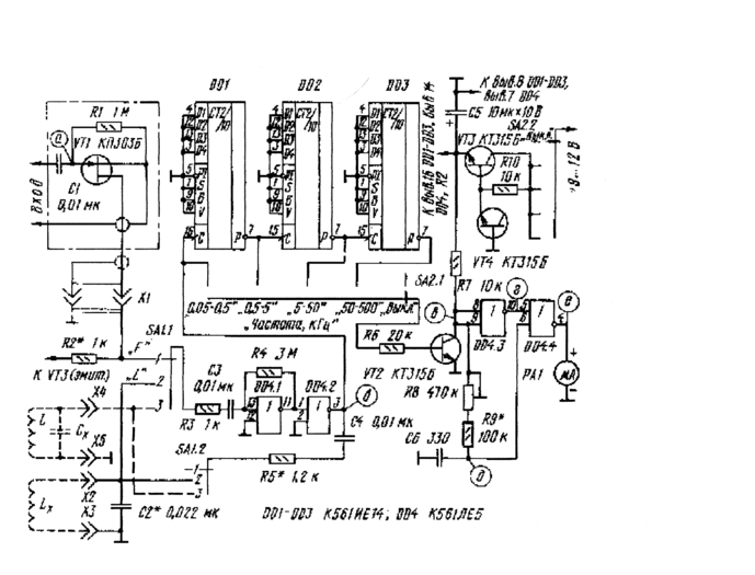
Электрическая принципиальная схема частотомера представленна в Приложении 1.
Разрабатываемый частотомер включает в себя:
-
входное формирующие устройство, предназначенного для усиления, преобразования входного сигнала.
-
задающего кварцевого генератора с делителем частоты для получения фиксированных и стабильных интервалов времени.
-
счётчик делитель частоты импульсов сигнала с цифровыми индикаторами, предназначенного для измерения и отображения измеряемой частоты.
-
устройство управления, обеспечивающего установку счётчика на нуль перед измерением и поступление на его вход последовательности импульсов для счёта в течение фиксированного интервала времени,
-
блок питания.
В отличае от обычно используемых схем цифровых частотомеров в данной схеме измерение частоты производится однократно, в течении только одного периода нормиронного интервала времени. Третий и последующие положительные перепады напряжения, поступающие на управляющее устройство не изменяют состояния триггеров и клапана. Поэтому измеренное количество импульсов сигнала высвечивается индикатором постоянно. Для повторного измерения следует снова нажать пусковую кнопку SA3, после чего процесс повторяется.
Для питания использованных микросхем требуется 2 напряжения 9 и 5 вольт. Для получения 5 В используется стабилизатор напряжения.
Несколько оригинально осуществляется индикация результатов измерения. Счётчик-индикатор собран из пяти микросхем, каждая их которых содержит счётчик импульсов по модулю 10, дешифратор и семисегментный светодиодный цифровой индикатор с запятой, которая включается по одному из входов 9 в зависимости от положения переключателя SA1.2 Показания счётчика считываться в килогерцах. С помощью тумблера SA4 в процессе между отсчётами индикацию можно выключить, чем достигается экономия энергии элемента питания. На пределе измерения 10Мгц, когда переключатель SA2 находиться в положении, показанном на схеме, показания индикатора необходимо умножать на 10.
Из всего вышесказанного следует, что большинство схем объединено общими недостатками: все они стационарные приборы, имеют сравнительно большие габариты и потребляют значительный ток от источника питания, что вынуждает питать их от сети переменного тока и не допускает использования автономного батарейного питания. Разрабатываемая схема цифрового частотомера лишена указанных недостатков и позволяет создать недорогой многофункциональный малогабаритный прибор.
3. ВЫБОР И ОБОСНОВАНИЕ ПРИНЦИПИАЛЬНОГО КОНСТРУКТОРСКОГО РЕШЕНИЯ
3.1. Внутреннее конструирование.
3.1.1. Внутренняя компоновка.
3.1.1.1. Выбор схемы расположения элементов конструкции и их расположение внутри корпуса блока.
Электрическая схема частотомера представлена в ПРИЛОЖЕНИИ 1.
Для замены неисправного или отслужившего срок своей годности элемента питания предусматривается отдельное расположение его в правом нижнем углу корпуса в отдельном отсеке, снабжённым съемной крышкой, таким образом получается доступ к батарейке без разбора корпуса. Семисегментные индикаторы вклеиваются в отверстия в корпусе, а переключатели закрепляются в отверстиях с помощью винтового соединения.
Остальные элементы блока смонтированы на печатной плате из фольгированного стеклотекстолиста толщиной 1,5 мм. Плата крепится к основанию блока паралельно, с помощью уголковых скобок и 4-х винтов.
3.1.1.2. Выбор и обоснование компоновочных характеристик ячейки.
В данном случае под ячейкой понимается печатная плата с установленными на ней элементами. Способ установки ЭРЭ – односторонний. Конструкция ячеек - бескорпусная. Форму печатных плат выбираем прямоугольную, что облегчает определение их компоновочных характеристик. Компоновочные характеристики печатных плат – ориентировочное определение массогабаритных характеристик.
При размещении ЭРЭ-тов на печатных платах, ЭРЭ-ты заменяют установочными моделями. При определении площади печатных плат посадочное место ЭРЭ представляет собой проекцию установочной площади на плату. В сумме установочные площади определяют размеры печатных плат. При этом произведение сторон печатной платы должно соответствовать площади печатной платы.
3.1.1.3. Определение массо-габаритных размеров ячейки.
-
Определение установочной площади Sуст элементов. Установочная площадь каждого отдельно взятого элемента выбирается из приложения 1, из таблицы «Перечень элементов схемы и их характеристики».
-
Определение суммарной установочной площади элементов, расположенных на каждой плате:
Sуст = 1,3
4725,6 = 5624 мм2;
-
Определение площадей печатных плат:
где Ks – коэффициент заполнения площади печатной платы, Ks = 0,8
Характеристики
Тип файла документ
Документы такого типа открываются такими программами, как Microsoft Office Word на компьютерах Windows, Apple Pages на компьютерах Mac, Open Office - бесплатная альтернатива на различных платформах, в том числе Linux. Наиболее простым и современным решением будут Google документы, так как открываются онлайн без скачивания прямо в браузере на любой платформе. Существуют российские качественные аналоги, например от Яндекса.
Будьте внимательны на мобильных устройствах, так как там используются упрощённый функционал даже в официальном приложении от Microsoft, поэтому для просмотра скачивайте PDF-версию. А если нужно редактировать файл, то используйте оригинальный файл.
Файлы такого типа обычно разбиты на страницы, а текст может быть форматированным (жирный, курсив, выбор шрифта, таблицы и т.п.), а также в него можно добавлять изображения. Формат идеально подходит для рефератов, докладов и РПЗ курсовых проектов, которые необходимо распечатать. Кстати перед печатью также сохраняйте файл в PDF, так как принтер может начудить со шрифтами.















