ref-14803 (721958), страница 2
Текст из файла (страница 2)
Преобразование электрических величин в код. Преобразование с промежуточным. параметром [5]. В этих устройствах измеряемая электрическая величина (обычно напряжение, хотя могут преобразовываться также ток и сопротивление) преобразуется во вспомогательный параметр (временной интервал, частоту или фазу), преобразуемый, в свою очередь, в число импульсов, которое далее кодируется. Кодирование происходит по следующим схемам.
Напряжение — временной интервал — число—код. Кодирование по такой схеме показано на рис. 13.11, а. Для преобразования измеряемой величины Ux сначала в длительность импульса (временной интервал) может быть использован любой из рассмотренных время-импульсных преобразователей (ВИП). Элемент И открывается на время длительности импульса, снимаемого с ВИП. За это время с генератора стабильной частоты ГИ пройдет на счетчик тем больше импульсов, чем больше длительность импульса с ВИП. Сосчитанное число импульсов в виде двоичного кода снимается с выхода счетчика СГ2.
Точность преобразования зависит от совпадения фронтов импульса с ВИП длительностью Т с импульсами, поступающими от ГИ. На рис. 13.11,6 показано, что передний фронт импульса Т совпал с передним фронтом импульсов с ГИ. На счетчик с Г И прошло пять импульсов. Однако если импульс Г поступает на элемент И, как показано на рис. 13.11, в, то на счетчик с ГИ поступят только четыре импульса вместо пяти, т. е. возникнет отрицательная погрешность.
Совпадение передних фронтов импульсов Гит можно синхронизировать, но сделать так, чтобы длительность Т всегда была равна определенному числу периодов <, невозможно. Поэтому ошибка преобразования, обусловленная округлением измеряемой аналоговой величины, будет всегда. Ее можно уменьшить, увеличив частоту следования импульсов с ГИ.
В этом преобразователе возникают также дополнительные ошибки за счет нестабильности ГИ и ВИП и нелинейности характеристик преобразования ВИП. Последняя ошибка наиболее существенная; ее значение лежит в пределах погрешности преобразования.
Напряжение —фаза — временной интервал—число — код. Кодирование по данной схеме представлено на рис. 13.12, а. Измеряемое напряжение поступает на фазосдвигающее устройство ФСУ, питаемое от источника переменного тока с частотой /. В зависимости от значе- • ния Ua изменяется фазовый угол между напряжениями е\ и еч на выходе ФСУ. Этот угол соответствует временному интервалу t=^/(2nf) измерителя фазового угла ИФ (рис. 13.12,6). Последний представляет собой /?5-триг-гер с инверсными входами, меняющий
состояние 0 на 1 в момент перехода напряжения е\ через нуль и 1 на 0 при переходе через нуль напряжения еч, как показано на рис. 13.12, б. Таким образом, на выходе возникает импульс длительностью /, который затем подается на ключ, и дальше все происходит, как и в предыдущем преобразователе (см. рис. 13.11).
К погрешностям, имеющимся в схеме рис. 13.11, в преобразователе по схеме рис. 13.12 добавляется погрешность от нестабильности характеристики фазосдвигающего устройства и точности измерителяфазового угла, фиксирующего момент прохождения напряжения через нуль.
Рис. 13.12. Преобразователь измеряемого напряжения в код с промежуточным преобразованием входной величины в фазу переменного напряжения:
а — функциональная схема; б — временные диаграммы
Напряжение — частота — число — код. Кодирование по такой схеме показано на рис. 13.13. Измеряемая величина и, в частотно-импульсном преобразователе ЧИП, представляющем собой генератор импульсов, модулируемых по частоте, преобразуется в последовательность импульсов с частотой f=p(u). Хронизирующее устройство Т на ранее заданный интервал времени t открывает элемент И, и импульсы с ЧИП поступают на счетчик СТ2. Больше или меньше пройдет импульсов на счетчик, зависит от их частоты. Погрешность преобразования зависит от нестабильности и нелинейности характеристики f=(u) частотно-импульсного преобразователя.
Непосредственное преобразование напряжения в код. В этих преобразователях образуемый в кодирующем устройстве код преобразуется в напряжение, которое сравнивается с измеряемым напряжением. При равенстве напряжений образование кода прекращается и он подается на выход.
Преобразователь последовательного счета (рис. 13.14). Перед началом работы счетчик СТ2 сбрасывается на нуль (рис. 13.14, а). Показания счетчика преобразуются с помощью цифро-аналого-вого преобразователя ЦАП в напряжение, поступающее на схему сравнения СС. В начале преобразования, пока напряжение щ: с ЦАП меньше преобразуемого напряжения Чх, элемент Ио открыт и счетчик считает импульсы с генератора импульсов ГИ. Когда м»>й.с, схема сравнения СС закрывает элемент Ио и подает сигнал на элементы И\—Ип для считывания двоичного кода со счетчика. Количество импульсов, поступивших на счетчик, пропорционально преобразуемому напряжению Ux.
На рис. 13.14,6 показано, как от каждого импульса, поступающего с ГИ, увеличивается преобразованное в ЦАП (этот преобразователь будет рассмотрен позже) напряжение:
Uk=UoN (13.5)
Чем больше число импульсов в данном интервале счетчика, тем меньше значение Uo=Uk-Ux (рис. 13.14, б). Нестабильность частоты генератора импульсов не влияет на точность преобразования напряжения в код.
Преобразователь по методу поразрядного кодирования (взвешивания). Он имеет более широкое применение
Рис. 13.14. Компенсационный кодирующий Преобразователь последовательного счета:
б — временная диаграмма
Рис. 13.15. Преобразователь по методу поразрядного кодирования:
а—функциональная схема; б—пример преобразования измеряемой величины в код;
в — код, снимаемый с триггеров
вследствие большей по сравнению с другими преобразователями точности и высокого быстродействия.
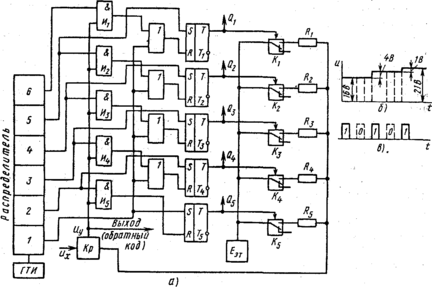
В состав преобразователя, функциональная схема которого представлена на рис. 13.15а, входят следующие узлы: распределитель, преобразователь кода в напряжение ЦАП (он состоит из цифрового регистра на триггерах T1-T5, ключей K1—K5, декодирующей сети сопротивлений и источника эталонного напряжения) и компаратор Кр, предназначенный для сравнения двух напряжений (входного сигнала их и сигнала Еэт с выхода ЦАП) и выработки выходного сигнала управления.
Импульсом первой ячейки распределителя триггеры устанавливаются в состояние, при котором с выходов триггеров Т1-T4 снимается 0, а с выхода триггера Ts—l. Этим сигналом переключается ключ Ks, через который подается эталонное напряжение Еэт на резистор Rs, вследствие чего на компаратор поступает наибольшее напряжение £„, составляющее в нашем случае 16 В. Эталонное Е'эт и преобразуемое и, напряжения сравниваются в компараторе: при y,>£'„ на выходе компаратора сигнал отсутствует, при ^<£„— возникает уравновешивающее напряжение С/у в виде импульса, который подается на выход и на элементы И1—И5. Такая логика работы преобразователя объясняется тем, что образуемый код может сниматься непосредственно с тех 'же выходов триггеров, с которых снимается и напряжение, подаваемое на ключи. Поэтому если, например, преобразуется код в напряжение Ux = 15 В, то, очевидно, поскольку 15< 16, триггер Ts должен быть переключен, чтобы с его выходов был снят 0, а не 1, соответствующая числу 16. Для этого на вход триггера с компаратора должна быть подана логическая 1.
Импульс с компаратора поступает на элементы И с некоторой задержкой, так что он совпадает с импульсом распределителя. Поэтому второй импульс с распределителя, совпадая по времени с сигналом управления с компаратора, пройдет через элемент И, перебросит триггер Та с 1 на 0 и одновременно переключит триггер Т4 отчего на выходе Q4 возникает сигнал 1. При этом эталонное напряжение подается через ключ К.4 и преобразуемое напряжение Us будет сравниваться с напряжением, поступающим через резистор R4 и равным 8 В.
Если Ux>Eэт, то сигнал компаратора отсутствует, триггер T5 не переключается, а распределитель в следующем такте изменяет состояние триггера T4 и на входе компаратора окажется напряжение, равное 16+ +8=24 В.
Такая последовательность операций будет повторяться до тех пор, пока преобразуемое напряжение и, не будет скомпенсировано эталонным напряжением с выхода ЦАП с точностью до младшего разряда. В конце цикла на триггерах будет зафиксирован двоичный код, цифровое значение которого пропорционально и,. :
Таким образом, выходной код можно снимать или последовательно во времени в виде обратного двоичного кода с компаратора начиная со старшего разряда, либо параллельно в виде прямого двоичного кода с триггеров. На рис. 13.15, б представлен пример преобразования измеряемого напряжения и,=21 В. Преобразование начинают со старшего разряда (как и взвешивание на весах, когда на чашу весов ставят гири начиная с наибольшей).
Сначала через резистор R5, к компаратору подключается напряжение 16 В и с выхода Qs снимается сигнал /, так как с компаратора сигнал не поступает (16<21) и триггер Fs не переключается. Импульс со второй ячейки распределителя переключает триггер Г<, в результате логическая 1 с выхода Q4 открывает ключ /<4 и подсоединяет к компаратору добавочное напряжение, равное 8 В. Поскольку требуется уравновесить оставшееся напряжение 21 — 16 ==5 В, а 8>5, с компаратора будет снят импульс, открывающий элемент И4 с приходом импульса с третьей ячейки распределителя. Поэтому импульс с элемента И^ через сборку ИЛИ переключит триггер та и Q4=0. На рис. 13.15, в показано, что сначала снимается 1, затем 0, потом опять 1, так как после выключения ключа Кз эталонное напряжение 4 В оказывается меньше оставшегося нескомпенсированным напряжения 5 В. Далее снова следует сигнал 0 (2>1) и, наконец, сигнал 1. С выходов Qs—Qi будет снят код 10101.
Основными источниками погрешностей преобразования являются декодирующая сетка сопротивлений, источник эталонного напряжения и ключи. Кроме того, точность работы преобразователя определяется чувствительностью и стабильностью компаратора.
Преобразование кодов в напряжение или ток
В качестве преобразующих устройств используются цифро-аналоговые преобразователи (ЦАП), выполненные в виде декодирующих сеток из резисторов. Для преобразования кодовой посылки в ток или напряжение необходим параллельный код. Поэтому перед преобразованием последовательный код записывается в регистр и в нужный момент со всех его ячеек снимается параллельный код. Сопротивления резисторов в декодирующей сетке выбирают так, чтобы выходное напряжение сетки было пропорционально декодируемому числу. По способу построения декодирующие' сетки подразделяют на последовательные и параллельные, а по режиму работы — с суммированием напряжений и токов.
Недостаток декодирующих сеток с последовательным соединением разрядных .резисторов заключается в том, что при включении разного числа резисторов получаются различные значения выходного сопротивления схемы, что уменьшает точность преобразования, если преобразователь работает не в режиме холостого кода, а нагружен на входное сопротивление последующего устройства. Этого недостатка лишены декодирующие сетки с параллельным включением разрядных резисторов типа R — 2R и со взвешенными резисторами.
Масштабирование
Предположим, что необходимо передать и измерить два переменных напряжения, изменяющихся в пределах Ux1=0220B и Ux2=0 110 В. Оба эти напряжения поступают на датчики Д1 и Д2 (рис. 13.19), имеющие одинаковый выходной ток 0—5 мА. Это значит, что при поступлении напряжений на датчик Д1 220 В, а на датчик Д2 — 110 В на выходах обоих датчиков будет один и тот же ток 5 мА. Далее с помощью ключей К1 и К2 токи с датчиков поочередно поступают на аналого-цифровой преобразователь АЦП, где они преобразуются, например, в двоичный код, который
может передать 27=128 дискретных значений. Если на приемной стороне полученные коды требуется представить в виде цифрового отсчета (методы такого отсчета рассмотрены в гл. 14), то окажется, что и приемник Пр будет преобразовывать в цифры один и тот же код (от 0 до 127) и получит одни и те же абсолютные значения измеряемых величин, что не соответствует разным значениям передаваемых напряжений. Во избежание такой ошибки на приеме каждый из кодов при преобразовании его в цифры нужно умножить на масштабный коэффициент. Так, в нашем примере код, соответствующий напряжению их1, следует умножить на коэффициент 2, а код, соответствующий напряжению иx2,— на коэффициент 1. Это умножение осуществляют специальным масштабирующим устройством, обозначенным на рис. 13.19 через X М.
Таким образом, масштабирование — это умножение кодовой комбинации, выражающей измеряемую величину, на коэффициент при воспроизведении абсолютных значений измеряемой величины в цифрах.
Для цифрового воспроизведения в простейшем случае требуется получить код do. Например, для воспроизведения показаний от 0 до 100 нужны 20 ламп: 10— для отображения единиц и 10 — для отображения десятков (есть, конечно, и более совершенные методы отображения, о чем будет сказано в гл. 14). Лампа каждого разряда должна зажигаться подачей на нее соответствующего потенциала. Выбор лампы осуществляется дешифратором Дш, к которому ключом К1 или K2 поочередно подключаются измеряемые величины (рис. 13.19). Так же просто производится цифровое воспроизведение при передаче двоично-десятичным кодом.
'Для простоты реализации умножения на масштабный коэффициент стремятся применять возможно меньшее число коэффициентов. Так, умножение двоично-десятичного и единично-десятичного кодов на коэффициенты 2 и 5 осуществляют с помощью сравнительно простых декадных дешифраторов параллельного типа. Умножение на 10 или на число, кратное 10, производят простым переносом запятой.
Заметим, что масштабирование не требуется, если на приеме коды преобразуются ЦАП в аналоговые величины (ток или напряжение). Действительно, если придут два одинаковых кода, то, хотя они и будут преобразованы в одинаковые токи и затем отклонят стрелки своих приборов на одинаковые углы, показания с приборов будут сняты разные, так как шкалы каждого из них градуируют в разных значениях измеряемой величины.
Структура кодоимпульсных систем
На рис. 13.20 приведена структурная схема многоканальной кодо-импульсной системы телеизмерения. Измеряемые аналоговые величины через управляемый распределителем коммутатор поочередно поступают на АЦП, в котором преобразуются в последовательный двоичный код (если АЦП выдает параллельный код, то до кодера нужна установка схемы, преобразующей параллельный код в последовательный). В кодере двоичный код преобразуется в один из помехозащищенных кодов, который поступает в линейный блок ЛБ, где происходит формирование и усиление импульсов. В случае необходимости передача импульсов по линии связи может происходить с частотным наполнением, для чего после Л Б устанавливают модулятор и генератор частоты, а на К.П—демодулятор.
Приходящие на ПУ из линии связи, несколько искаженные из-за помех импульсы, восстанавливаются в ЛБ и поступают на декодер. Одновременно происходят синхронизация распределителей и синфазирование генераторов. После декодирования информационные символы могут поступать на блоки цифрового или аналогового воспроизведения информации или на оба сразу, а также в ЭВМ. Каждая кодовая комбинация (КК), соответствующая определенной измеряемой величине, записывается в индивидуальный регистр. При цифровом воспроизведении КК предварительно проходит через блок масштабирования. Очередность записи КК в регистры исходит от распределителя.
Перед поступлением на стрелочные приборы КК предварительно преобразуется в среднее значение тока в ЦАП. При цифровом воспроизведении измеряемой величины КК поступает сначала в дешифратор Дш, в котором возбуждается выход, соответствующий ее значению, и далее воспроизводится на индикаторе в виде цифры. Величины, поступающие на приборы и индикаторы, могут одновременно регистрироваться методами, указанными в гл. 14.
Рис. 13.20. Структурная схема кодоимпульсной системы телеизмерения:
ГТИ — генератор тактовых импульсов; ПК. — преобразователь параллельного кода в последовательный и обратно (в приемнике); ЛБ — линейный блок; ФСС— формирователь синхронизирующего сигнала; БМ — блок масштабирования; Р — регистр; Дш — дешифратор; ВСС — выделитель синхронизирующего сигнала.
Литература
1. В. Н. Тутевич «Телемеханика» Учебное пособие для вузов ВШ 1985год.
10
21>
















