ALMAZ (721882)
Текст из файла
СОДЕРЖАНИЕ
Введение 3
Синтез углеродных алмазоподобных пленок ионным
методом 3
Метод ионно-лучевого осаждения 3
Описание установки 6
Характеристики ионного источника 8
Синтез алмазных пленок при взаимодействии низкотемпературной плазмы с поверхностью молибдена 10
Экспериментальная установка 11
Литература 13
ВВЕДЕНИЕ
Алмаз - самый твердый материал из всех ныне известных, и в наименьшей степени, чем какой-либо другой материал, поддается сжатию. Алмаз обладает также большой теплопроводностью при комнатной температуре, и если в нем нет дефектов и посторонних включений, это один из самых прозрачных для видимого света материал.
Свойства алмаза обусловлены его необычной кристаллической структурой. Помимо чисто научного интереса необычные свойства алмаза делают его весьма полезным для технических целей. Этот драгоценный камень широко используется как абразив в промышленности, в промышленности, как режущий инструмент в хирургии и как теплоотвод в электронных приборах. Установлено, что алмазы, содержащие различные примеси, ведут себя как полупроводники. Но природные кристаллы слишком малы и дороги для практического применения. Сейчас положение в этой области исследования меняется. В течении последних лет специалисты разработали немало технологических приемов осаждения алмазных пленок толщина которых лежит от сотен ангстрем до нескольких миллиметров. Синтез алмазных и алмазоподобных пленок является актуальной задачей на сегодняшний день.
Тонкие алмазные пленки привлекают к себе все большее внимание благодаря таким уникальным свойствам, как чрезвычайно высокая твердость, высокая теплопроводность, прозрачность в широком оптическом диапазоне, большое удельное сопротивление. Кроме того, алмазные пленки со специально введенными примесями могут использоваться в качестве полупроводниковых материалов. В большинстве случаев специфические свойства пленок обусловливаются различными типами дефектов, многие из которых могут быть обнаружены с помощью ЭПР. Однако их идентификация сталкивается с огромными трудностями, поскольку микрокристаллиты в этих пленках, как правило, частично ориентированы. Более определенными в этом отношении оказываются полностью неупорядоченные поликристаллические алмазы, карбонадо.
ССМ изображение алмазоподобной пленки на поверхности стекла. Размер скана 286x280 нм.
Синтез углеродных алмазоподобных пленок ионным методом.
Метод ионно-лучевого осаждения
Одним из основных достоинств метода осаждения из ионных пучков является возможность получения веществ, не существующих в природе или находящихся при нормальных условиях в метастабильном состоянии (например, алмаз, карбид кремния).
Ранее такие материалы получали только при высоких давлениях и температуре или в сильных ударных волнах. Рост пленки при ионно-лучевом осаждении позволяет получать плотные кристаллические модификации, не прибегая к традиционным методам.
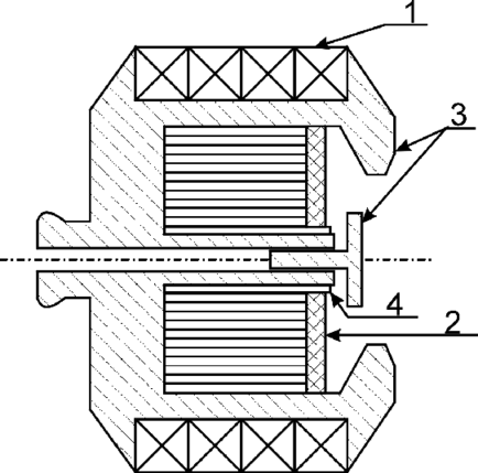
Существует большое количество веществ имеющих ряд устойчивых кристаллических модификаций. В каждом состоянии решетка будет обладать своим минимумом свободной энергии. Так для углерода существует несколько устойчивых модификаций соответствующих графиту, алмазу, металлическому углероду и другим плотным алмазоподобным структурам. В таком случае обеспечить ионам энергию, необходимого для преодоления потенциального барьера, отделяющего одну кристаллическую фазу от другой, можно простым регулированием потенциала подложки. Причем разброс ионов по энергии не должен превышать разность в высоте потенциальных барьеров, разделяющих две близких кристаллических модификации. Максимальная энергия падающих ионов определяется энергетическим порогом дефектообразования (для алмаза 60-80 эВ). С учетом возможной потери энергии падающих ионов и диапазон их энергетического распределения является важнейшим, но не единственным условием, т.к. механизм взаимодействия при синтезе материалов из энергетических ионных пучков сложен. Осаждение иона на поверхность сопровождается релаксационными колебаниями, разогревом поверхности за счет выделения энергии. Перечисленные эффекты, безусловно, не охватывают весь комплекс явлений сопровождающих процесс конденсации. Действие некоторых из них будет отрицательным для синтеза. Воздействовать на степень того или иного эффекта можно различными путями, например, изменять температуру подложки или условия подлета ионов к поверхности или одновременно с осаждением ионов облучать поверхность электронными или ионными пучками. В исследовании источником ионов является прототип космического электрореактивного двигателя (ЭРД), который в литературе называют ускорителем с анодным слоем и азимутальным дрейфом (УАД). В УАД разгон ионов происходит в квазинейтральной плазме, а потому могут быть получены более высокие, чем обычно, значения плотностей ионного тока. УАД обладает также рядом других достоинств: универсальностью к рабочему веществу, возможностью управления потока и т.д. Принципиальная схема источника показана на рис.1.
Со стороны анода в ускоритель поступает поток ионов, которые создаются вблизи анода путем ионизации нейтральных атомов. Металлические стенки ускорительного канала находятся под катодным потенциалом. Магнитная система создает в кольцевом зазоре ускорителя радиальное магнитное поле, постепенно спадающее в области анода и у среза ускорителя. Магнитное поле в основном имеет поперечную компоненту, а электрическое - продольную, поэтому такие системы называют еще ускорителями в скрещенных электрических и магнитных полях или ВЕ разрядом. В скрещенных В и Е полях на электроны действует сила Лоренца, вызывая их дрейф в азимутальном направлении. В результате, в кольцевом зазоре формируется двойной азимутально-однородный электрический слой. В этих условиях подвижность электронов поперек магнитного поля резко ограничена и внешнее электрическое поле совершает работу главным образом над ионами, ускоряя их вдоль оси системы.
Ток и энергия пучка ускоренных частиц - это основные характеристики ускорителя любого типа, позволяющие определить производительность установки и возможность ее использования в том или ином производственном процессе или эксперименте. Цилиндр Фарадея - это наиболее распространенный прибор, используемый в качестве первичного эталонного прибора для измерения токов пучков заряженных частиц. При измерении тока, пучок частиц попадает на изолированный от окружающих предметов электрод, который задерживает частицы пучка и почти все вторичные частицы, образующиеся при столкновении частиц пучка с материалом электрода.
Основные достоинства рассматриваемого метода - высокая точность и возможность измерения весьма малых токов. К недостаткам цилиндра Фарадея относятся большие размеры и невозможность получить информацию о токе пучка, не нарушив его. Принципиальная схема цилиндра Фарадея показана на рис.2.
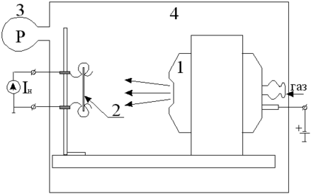
Описание установки.
Схема используемой установки для напыления пленок показана на рис.3. В рабочий откачиваемый объем помещен источник ионов (1), формирующий поток ионизированного газа. Перед соплом источника крепится подложка (2) - пластина монокристалла кремния, нагреваемая пропусканием постоянного тока.
Температура подложки определялась по температурной зависимости сопротивления кремня, измеренной в ходе предварительной работы.
Характеристики ионного источника
При работе с ионным источником необходимо знать его характеристики. На рис.4,5 представлены зависимости плотности ионного тока в зависимости от расстояния до источника и угла в плоскости оси источника соответственно.
Скорость роста пленок в подобных экспериментах малы. Помещая подложку в область с максимальной плотностью падающих частиц, увеличивается скорость осаждения. Зная геометрическое распределение потока можно оценить неоднородность толщины напыленной пленки или принять специальные меры для ликвидации этой неоднородности.
СИНТЕЗ АЛМАЗНЫХ ПЛЁНОК
ПРИ ВЗАИМОДЕЙСТВИИ НИЗКОТЕМПЕРАТУРНОЙ ПЛАЗМЫ
С ПОВЕРХНОСТЬЮ МОЛИБДЕНА
Особый интерес для синтеза алмазных плёнок представляют плазменные "тонкоплёночные" технологии, которые позволяют получать плёнки высокого качества [2,3]. Как правило, это вакуумные способы. В работах [4,5] описан плазменный метод синтеза алмазных поликристаллических плёнок при горении ацетилена в кислороде при атмосферном давлении.
Одна из важных проблем при получении покрытий данным способом связана со стабильностью свойств плёнки при нормальных условиях после её охлаждения (адгезия, например). Необходимо оптимизировать теплофизические условия синтеза, среди которых - понижение температуры подложки - одна из основных проблем.
Установлено, что для синтеза плёнок оптимальная температура подложки (Мо, Si ): Тп = 1070-1300К [6 -14]. Тем не менее возникают вопросы, связанные с точностью измерения температуры поверхности. При использовании пирометрического двух-лучевого способа измерения необходимы поправки с учетом свойств пламени и оптических свойств изменяющейся растущей углеродной плёнки. Термопарный метод так же нуждается в поправках, связанными с теплофизическими свойствами подложки и способами крепления термопары. Известно, что пламенный метод характеризуется значительными тепловыми потоками ( > 2 Mвт/м2) и температура поверхности роста может существенно отличаться от измеряемой температуры подложки. Важно определить температуру поверхности на начальной стадии роста, когда монокристаллы растут свободно: перед тем, как вырастет сплошная плёнка. Такой подход позволит лучше понять механизм зарождения алмазной плёнки.
ЭКСПЕРИМЕНТАЛЬНАЯ УСТАНОВКА
Характеристики
Тип файла документ
Документы такого типа открываются такими программами, как Microsoft Office Word на компьютерах Windows, Apple Pages на компьютерах Mac, Open Office - бесплатная альтернатива на различных платформах, в том числе Linux. Наиболее простым и современным решением будут Google документы, так как открываются онлайн без скачивания прямо в браузере на любой платформе. Существуют российские качественные аналоги, например от Яндекса.
Будьте внимательны на мобильных устройствах, так как там используются упрощённый функционал даже в официальном приложении от Microsoft, поэтому для просмотра скачивайте PDF-версию. А если нужно редактировать файл, то используйте оригинальный файл.
Файлы такого типа обычно разбиты на страницы, а текст может быть форматированным (жирный, курсив, выбор шрифта, таблицы и т.п.), а также в него можно добавлять изображения. Формат идеально подходит для рефератов, докладов и РПЗ курсовых проектов, которые необходимо распечатать. Кстати перед печатью также сохраняйте файл в PDF, так как принтер может начудить со шрифтами.















