125748 (717643)
Текст из файла
ВВЕДЕНИЕ
Ремонтные службы играют важную роль в работе предприятия. На предприятии имеются различные машины, при их работе износ деталей неизбежен. Ремонтные службы не только восстанавливают машины, но и проводят их механизацию, проводят необходимые наладочные работы.
На предприятиях ПСМ ремонты в основном организуются по смешанной системе. При такой системе в основных цехах завода имеются ремонтные мастерские, в них находится необходимое оборудование и нужный штат ремонтников, которые выполняют ПТО и ремонты Т1, Т2, а при выполнении К ремонта к ним подключаются ремонтники РМЦ, имеющие необходимый штат ремонтников.
Главный механик завода возглавляет всю ремонтную службу завода и отвечает за оборудование перед техническим директором. В подчинении у главного механика находится инженер главного механика, механики цехов и начальник РМЦ.
Инженер главного механика, как и главный механик, отвечает за правильную эксплуатацию оборудования всего завода, ремонт машин, снабжение ремонтной службы необходимыми ремонтными запанными частями, материалами, ремонтной документацией. В частности главный механик и инженер главного механика отвечают за планирование ПТО и ремонтов.
Механики основных цехов предприятия организуют уход и ремонты машин своего цеха и несут ответственность за оборудование перед главным механиком завода и инженером главного механика.
Цеховым механикам подчинены ремонтные бригады. Бригадир ремонтников отвечает за работу своей бригады перед механиком цеха. Работу по техническому обслуживанию и ремонту машин цеха выполняют рабочие-ремонтники. Они подчинены своему бригадиру, а через него механику цеха.
Структура ремонтных служб будет выглядеть следующим образом
1 ОБЩАЯ ЧАСТЬ
1.1 Назначение, устройство и работа машины. Правила технической эксплуатации
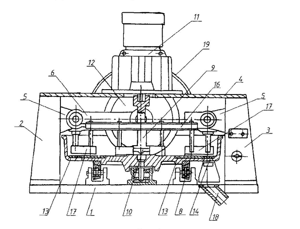
Бегуны размалывающие модели 1А18М непрерывного действия предназначены для размалывания (измельчения) сухой глины, угля полевого шпата и других сухих материалов, применяемых для приготовления формовочных и стержневых смесей.
Бегуны состоят из следующих основных сборочных единиц: нижней плиты основания (1), двух стоек левой (2) и правой (3), скреплённых сварной траверсой (4), образуя собой замкнутый жесткий остов на котором монтируются все узлы и механизмы бегунов.
В правую стойку вмонтировано электрооборудование для чего имеется соответствующая ниша. На приливах (5) левой и правой стоек монтируются рычаги (6) катков (12) и перемычка (16) для крепления отвалов (17).
На основной плите смонтирована центральная опора чаши (7) и её боковые ролики (8). Чаши жестко соединена с вертикальным валом (9) посредством крестовой муфты (10). Вращение чаши осуществляется от мотор-редуктора (11), прикреплённого к сварной траверсе, он предназначен для передачи вращения и изменения крутящего момента от вала электродвигателя к крестовой муфте.
Беговая дорожка днища чаши, по которой катятся катки и на которой происходит размалывание измельченного материала, оснащена стальными плитами (13) (секторами). На периферии днища чаши имеются окна (14) куда вмонтированы просеивающие решетки (15) с помощью которых происходит регулировка необходимой величины фракции. Материал, не прошедший через просеивающую решетку подаётся отвалом под каток. Установка нижней рабочей кромки отвалов относительно рабочей поверхности днища должна создавать зазор в пределах 3-5мм. Для очистки сеток предусмотрены щетки.
Материал, просеянный через решетки проваливается на днище ограждения, откуда далее увлекается скребками и высыпается через разгрузочный патрубок (18) в приёмный люк, из которого измельченная продукция может быть извлечена как вручную, так и при помощи транспортных средств.
Бегуны ограждены кожухом(19), который изолирует процесс размывания от окружающей среды и прикрывает вращающиеся части машины.
1.2 Виды и характер износа деталей машины
Бегуны работают в сильно запылённых условиях, так как размалывают сильно пылящие материалы. В этих условиях наиболее быстроизнашиваемыми деталями будут катки, сектора чаши, у которых будет происходить ускоренное абразивное истирание, так как между ними осуществляется сам процесс измельчения. При этих условиях ускорено будут изнашиваться и подшипники катков. У них будет наблюдаться общий износ. Абразивное истирание будет наблюдаться и у отвалов, так как они находятся в непрерывном соприкосновении с материалом, так же будут изнашиваться скребки.
Бегуны работают при нормальной температуре летом и при более низкой зимой, поэтому у деталей может возникать химическая коррозия.
С учётом всего вышеуказанного условия работы деталей бегунов следует считать тяжелым, что неблагоприятно сказывается на ресурсе данной машины.
1.3 Экономическая целесообразность восстановления деталей
Восстановление- производство восстановительных работ, в результате которых детали, узлу или агрегату возвращают первоначальные размеры, форму, свойства, мощность и точность либо номинальные.
Износ деталей часто приводит к нарушению посадки в сопряжении- увеличиваются зазоры и уменьшаются первоначальные натяги, нарушается форма поверхностей, возникают другие неисправности и дефекты. Такие детали при ремонте заменяют или восстанавливают (стоимость восстановления составляет от 15% до 40% стоимости новых деталей).
Для восстановления изношенных деталей широкое применение получили следующие способы восстановления деталей:
- механический способ( способ ремонтных размеров).
- сварка, наплавка с последующей механической обработкой.
- восстановление полимерными материалами.
- гальваническое покрытие.
- химическая обработка.
Чтобы выбрать способ восстановления деталей и сборочных единиц за основу принимают экономическую целесообразность восстановления деталей.
Восстановленная деталь должна быть достаточно долговечной и надежной в эксплуатации, а также обладать качествами новой.
Применяя современные методы ремонта, можно восстанавливать некоторые детали так, что их эксплуатационные свойства будут превышать соответствующие показатели новых деталей.
При выборе способа восстановления деталей и сборочных единиц, за основу принимают экономическую целесообразность восстановления, наличие на предприятии необходимого оборудования и материалов, технологические и конструктивные особенности деталей, величину и характер износа.
Целесообразность способа восстановления и упрочнения детали в каждом случае зависит от многих факторов: условий их работы;
Характеристики сопряжения ( подвижная и неподвижная посадка); величины и характеристики действующих нагрузок; скорости взаимного перемещения деталей с подвижной посадкой. Основным показанием экономической эффективности восстановления изношенных деталей и целесообразность того или иного способа восстановления и упрочнения служит относительная себестоимость, т.е. себестоимость восстановления детали, отнесенная к сроку ее службы после ремонта.
Для данной машины изношенные детали экономически целесообразно восстановить, так как их износ не велик и стоимость их восстановления составит около 30% от стоимости новых деталей.
2 ОРГАНИЗАЦИОННАЯ ЧАСТЬ
2.1 Выбор и обоснование метода ремонта. Схема технологического процесса ремонта по выборному методу
На заводах ПСМ ремонты оборудования могут организовываться по одной из трех систем: централизованная и смешанная.
При централизованной системе организации ремонтов все работы по техническому обслуживанию и всем видам ремонтов выполняют ремонтники РМЦ или специализированные организации. При данной системе цеховых мастерских нет.
При децентрализованной системе организации ремонтов механического цеха (РМЦ) может и не быть, а если будет небольшой РМЦ, то он будет обслуживать второстепенные цеха (котельные, компрессорные). А в каждом цеху имеются свои хорошо оснащенные мастерские с нужным штатом ремонтников, которые будут выполнять техническое обслуживание и ремонты.
При смешанной системе, в основных цехах завода имеются ремонтные мастерские, в которых находится необходимое количество оборудования и штат ремонтников, которые выполняют ТО и ремонты Т1, Т2,а при выполнении капитального ремонта, к ним подключается РМЦ. Эта система наиболее распространена на предприятиях ПСМ.
Методов проведения капремонтов существует три:
-
Подетальный метод
Этот метод устаревший, но и на данном этапе он используется из-за плохого финансового состояния предприятия.
Сущность этого метода заключается в следующем: при предельном износе узлов агрегатов и деталей машины снимают , ремонтируют и ставят на место. Остальные, менее изношенные не меняют, ждут, пока они износятся.
-
Индивидуальный метод.
При этом методе ремонта с машины снимают все изношенные до предела и близко к этому узлы, агрегаты и детали. После этого они ремонтируются и лишь отдельные, и лишь отдельные детали стандартные детали ставятся новыми. Отремонтированные изношенные узлы, агрегаты и детали ставятся обратно на машину, при этом простой машины в ремонте получается длительным.
-
Агрегатно-узловой метод
Сущность этого метода в следующем: с машины снимаются все изношенные узлы, агрегаты и детали, а на их место быстро устанавливаются узлы, агрегаты и детали из обменного фонда - «оборотный фонд». При этом, ремонт проходит быстро и количественно. Высокое качество ремонта получается вследствие того, что снятые с машины узлы, агрегаты и детали ремонтируются не спеша, тщательно собираются с учётом требуемых посадок, регулируются. Смазываются и сдаются в обменный фонд для следующих ремонтов. Если сданные в обменный фонд агрегаты, узлы и детали при последующих ремонтах ставятся на ту же машину , в которой были сняты, то такой ремонт называется не обезличенным. Если при ремонте ставятся на другую одностопную машину, называется обезличенным.
Разновидностью агрегатно-узлового метода является:
а) узловой
б) последовательно-узловой
Узловой – это тот же агрегатно-узловой метод, но только у тех машин, которые агрегатов не имеют (АПП-12).
Последовательно-узловой отличается от агрегатно-узлового и узлового тем, что за короткое время остановки машины с неё снимают один-два наиболее изношенных узла или агрегата на их место быстро ставятся готовые отремонтированные узлы или агрегаты и машину выпускают в работу. В ближайшие дни заменяют остальные узлы и агрегаты.
Таким образом, получается, что машина как бы в ремонте не стояла. Этот метод удобен для тех машин, которые работают в составе механизированной линии, так как линия не останавливается.
Наиболее подходящим методом проведения ремонта будет являться индивидуальный метод. Он будет приемлем из-за своей относительно небольшой стоимости, по сравнению с агрегатно-узловым методом, а это является основополагающим фактором, так как финансовое положение завода не высокое.
Из трёх методов проведения капремонтов, я выбираю индивидуальный метод.
Схема технологического процесса капремонта бегунов
Приемка бегунов в ремонт
Разборка узлов и агрегатов на детали
Склад утиля
Цех ремонта и изготовления деталей
Наружная очистка
Очистка или мойка деталей
Заказ на изготовление деталей
Разборка на узлы и агрегаты
Характеристики
Тип файла документ
Документы такого типа открываются такими программами, как Microsoft Office Word на компьютерах Windows, Apple Pages на компьютерах Mac, Open Office - бесплатная альтернатива на различных платформах, в том числе Linux. Наиболее простым и современным решением будут Google документы, так как открываются онлайн без скачивания прямо в браузере на любой платформе. Существуют российские качественные аналоги, например от Яндекса.
Будьте внимательны на мобильных устройствах, так как там используются упрощённый функционал даже в официальном приложении от Microsoft, поэтому для просмотра скачивайте PDF-версию. А если нужно редактировать файл, то используйте оригинальный файл.
Файлы такого типа обычно разбиты на страницы, а текст может быть форматированным (жирный, курсив, выбор шрифта, таблицы и т.п.), а также в него можно добавлять изображения. Формат идеально подходит для рефератов, докладов и РПЗ курсовых проектов, которые необходимо распечатать. Кстати перед печатью также сохраняйте файл в PDF, так как принтер может начудить со шрифтами.















