125503 (717588), страница 2
Текст из файла (страница 2)
2. Системи та схеми водопостачання
Системою водопостачання називають комплекс інженерних споруд, і апаратів, які призначені для добування води з природних ресурсів, поліпшення її якості, зберігання, транспортування і подачі води споживачам. Вона складається із водоприймальних, підйомних, очисних, водонапірних і регулювальних споруд, напірних водоводів і розподільних мереж, засобів автоматизації. Від місцевих умов деякі із споруд можуть не користуватись чи бути об'єднаними одна з одною.
Системи водопостачання поділяють за такими ознаками: за Функціональним призначенням (господарсько-питні, виробничі та протипожежні); сферою обслуговування (об'єднані та роздільні); за видом об'єктів (міські, селищні, промислові); за територіальним націленням водоспоживачів (місцеві, централізовані, групові); іриналістю дії (тимчасові та постійні); типом природного джерела (з використанням підземних або поверхневих вод); способом підйому води (гравітаційні та з механічною подачею води); характером використання води (прямоточні, зворотні і з повторним використанням); надійністю забезпечення водою.
Господарсько-питні системи водопостачання подають воду для пиття, приготування їжі і проведення санітарно-гігієнічних процедур. Вода і із цій системі повинна бути питної якості. Виробничі водопроводи подають воду на технологічні цілі, якість води визначається технологами. Протипожежні системи водопостачання призначені для подачі води під час гасіння пожежі. Вода в протипожежних водопроводах може бути і непитної якості.
Об’єднані водопроводи задовольняють потреби всіх водоспоживачів, роздільні - окремо подають воду на різні потреби. Місцеві (локальні) системи обслуговують водою окремих водоспоживачів (наприклад, тваринницька ферма, промислове підприємство чи окрема група будинків), централізовані - всіх споживачів даного населеного пункту. Групові або районні системи водопроводів призначені для забезпечення водою кількох населених пунктів, ферм чи підприємств, віддалених одне від одного (проектуються, як правило, за відсутності прісних вод і характеризуються великою довжиною водоводів).
Згідно з СНиП 2.04.02-84 централізовані системи водопостачання її надійністю забезпечення водою поділяються на три категорії. Системи господарсько-питного водопроводу населених пунктів з
кількістю жителів до 5 тис. чоловік належать до ПІ категорії. Для них допустиме зменшення подачі води на 30% впродовж 15 діб, а також припинення водопостачання на час ремонту не більше ніж на 24 години. При кількості жителів від 5 до 50 тис. чол. передбачається II категорія, для якої перерва в подачі води може бути до 6 годин, а зменшення водопостачання до 10 діб. Населені пункти з кількістю жителів більше 50 тис. чоловік належать до І категорії, для яких зменшення подачі води - не більше 3 діб, перерва - не більше 10 хв. Категорію окремих елементів системи водопостачання встановлюють залежно від їх функціонального значення в загальній системі.
Взаємне розташування окремих елементів і споруд в кожній конкретній системі водопостачання називають схемою водопостачання. Вибір складу споруд залежить в основному від: виду природного джерела водопостачання і якості води в ньому; категорії водоспоживачів, кількості та якості води, що споживається; надійності подачі води; рельєфу місцевості.
Схема водопостачання з відкритих джерел (мал.2) має найбільшу будівельну вартість і досить складна в експлуатації, оскільки вимагає наявності водоочисних та інших споруд. За цією схемою вода з відкритої водойми надходить до водозабірних споруд, з яких насосами станції першого підняття подається на очисні споруди.
Мал.2. Схема водопостачання з поверхневих водних джерел:
I - річковий водозабір; 2 - насосна станція І підняття; 3 - водоочисна станція; 4 - резервуар чистої води; 5 - насосна станція II підняття; 6 - водовід; 7 - водонапірна башта; 8 - водопровідна мережа; 9 - об'єкт водопостачання; 10-п'єзометрична лінія в мережі в годину максимального водоспоживання; II - те ж саме в годину максимального транзиту води в башту
На водоочисній станції поліпшується якість води, після чого вона надходить в резервуар чистої води (РЧВ), звідки насосами станції другого підняття водоводами подається у водопровідну мережу споживачам. На території населеного пункту споруджують водонапірну, яка, як і РЧВ, призначена для зберігання води, регулювання роботи насосів та підтримання у мережі необхідного напору, і накопичення в башті відбувається в той час, коли насоси подають води більше, ніж її витрачають споживачі; витрачається - коли споживання перевищує подачу.
Для водопостачання частіше використовують підземні води, які мають порівняно з поверхневими менший вміст різних домішок, у тому числі і радіоактивних, а також простіший склад водопровідних споруд. Якщо якість підземних вод не задовольняє вимоги споживачів, застосовують схему з очищенням води (мал.3), а якщо підземні води за своїми фізико-хімічними та санітарними показниками задовольняють вимоги щодо питної води, то застосовують найпростішу схему водопостачання (мал.3).
Мал.3. Схема водопостачання з очищенням підземних вод:
1 - водоносний пласт; 2 - свердловина; 3 - водоочисна станція; 4 - резервуар чистої води; 5 - насосна станція II підняття; 6 - водовід; 7 - водонапірна башта; 8 - водопровідна мережа; 9 - об'єкт водопостачання; 10 - п'єзометрична лінія з мережі в годину максимального водоспоживання; 11 - те ж саме у водоводі
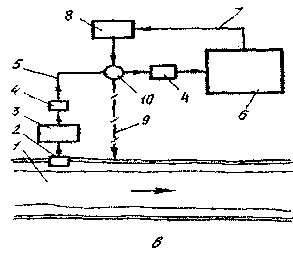
Промислові підприємства характеризуються різноманітністю технологічних процесів, споживають воду різної якості та вимагають різних напорів в мережах окремих цехів. Специфічністю технічних систем водопостачання є можливість обороту води для різних потреб. Тому системи водопостачання промислових підприємств досить складні. Якщо споживається значна кількість води непитної якості, то доцільно влаштовувати окремі системи технічного водопостачання: прямоточні (мал.5), в яких воду після одноразового використання скидають в каналізацію; з повторним використанням води (мал.5), де вода використовується послідовно в кількох технологічних операціях; оборотні (мал.5), в яких воду після використання для технічних потреб очищають або охолоджують, потім використовують на тому ж об'єкті в тих же технологічних операціях. Вибір схеми технічного водопостачання слід вирішувати за техніко-економічними розрахунками.
Мал.4. Схема водопостачання зі свердловини:
1 - водозабірна свердловина; 2 - занурений електронасос; 3 - оголовок над свердловиною; 4 - водовід; 5 - водонапірна башта; 6 - п'єзометрична лінія у водоводів годину максимального водоспоживання; 7 - те ж саме у мережі; 8 - об'єкт водопостачання; 9 - водопровідна мережа
3. Питоме водоспоживання
Для проектування систем водопостачання необхідно знати кількість води, яка має бути подана водопроводом, види і кількість водоспоживачів з урахуванням перспективного плану розвитку об'єкта, розрахункові норми споживання води та режим використання її протягом доби.
Нормою водоспоживання називають кількість води, що витрачається на певні потреби за одиницю часу або на одиницю продукції, що виробляється. В населених пунктах норми господарсько-питного водоспоживання призначають на підставі вивчення фактичного об'єму та режиму водоспоживання в аналогічних умовах або, якщо це неможливо, за рекомендаціями СНиП 2.04.02-84 (табл.2). Потреби місцевої промисловості та непередбачені витрати приховують збільшенням питомих витрат води на 5-10 %.
Таблиця 2 Норми водопостачання для житлової забудови
| Ступінь благоустрою районів житлової забудови | Норма водопостачання на одного жителя, середньодобова (за рік), qw, л/добу |
| Забудова будинками, обладнаними внутрішнім водопроводом і каналізацією, без ванн | 125-160 |
| Забудова будинками, обладнаними внутрішнім водопроводом, каналізацією і ваннами з місцевими водонагрівачами | 160-230 |
| Забудова будинками, обладнаними внутрішнім водопроводом, каналізацією та системою центрального гарячого водопостачання | 230-350 |
| Забудова будинками, які не обладнані внутрішнім водопроводом, а водокористування здійснюється за допомогою вуличних водорозбірних колонок | 30-50 |
Мал. 5. Схеми технічного водопостачання:
1 - річка; 2 - водозабір; 3 - очисні споруди; 4 - насосна станція; 5 - технічна вода; 6 - підприємство; 7 - стічна вода; 8 - станція очищення або охолодження; 9-скидання води в річку; 10-розподільча камера
Питомі витрати води на промислові потреби підприємств залежать під типу продукції, що випускається, прийнятої технології, встановленого обладнання. Ці дані визначають за технологічним паспортом підприємства. Для орієнтовних підрахунків витрат води на підприємствах користуються нормами споживання води на одиницю продукції [31]. Так, наприклад, на молочних заводах на переробку 1 т молока необхідно 7,5 -12 м води, на хлібозаводах - 1,8 - 4,8 м3 води на 1т хліба, на м'ясокомбінатах - 10 - 40 м3 води на 1т продукції, на цукрозаводах - 18 - 25 м3 води на 1 т цукру, на плодоовочевих консервних заводах - 8-28 м3 води на 1 тис. банок, на цегельних заводах -1,3-1,8 м3 води на 1 тис. штук цеглин.
Крім виробничих, на промислових підприємствах потрібно враховувати господарсько-питні потреби води та витрати води на душ. Господарсько-питні потреби визначають за нормою: 45 л за зміну на одну людину в цехах з тепловиділенням більше 23,2 Вт/м3; 25 л - в інших цехах.
Витрати води на душ після закінчення робочої зміни приймають за розрахунковими витратами води на душ на одного працівника (табл.3) або із розрахунку 0,2 л/с (500 л/год) на одну душову сітку [21]. Число душових і умивальників слід визначати за чисельністю працюючих в зміні (або частині цієї зміни) із найбільшою кількістю працівників, що одночасно закінчують роботу (табл.4).
Питомі витрати води на поливання залежать від природних та місцевих умов і становлять: для механізованого миття проїздів та майданів з поліпшеним покриттям - 1,2-1,5 л/м2 на 1 поливання; механізованого поливання перелічених проїздів та майданів - 0,3-0,4 л/м2 на 1 поливання; поливання з шлангів тих же проїздів - 0,4-0,5 л/м2; поливання газонів, квітників - 4-6 л/м2 на 1 поливання; поливання зелених насаджень і присадибних ділянок - 3-4 л/м2 на добу.
При відсутності даних про площі проїздів та зелених насаджень питомі витрати на поливання визначають з розрахунку 50-90 л/добу на одного мешканця залежно від кліматичних умов (на півдні більше), забезпечення водою джерела (менше з малозабезпеченого джерела), ступеня благоустрою будинків та інших місцевих умов. Кількість поливань для північних районів - одне, для південних - два.
Крім регулярного забезпечення господарсько-питних і виробничих потреб, система водопостачання за потреби повинна подавати воду на гасіння пожеж. Ця витрата тимчасова, а тому враховується лише у перевірочних розрахунках водопровідної мережі і для визначення об'єму запасних ємностей (РЧВ, водонапірної башти, протипожежних резервуарів).
Витрати води на зовнішнє гасіння пожежі в населеному пункті та розрахункова кількість пожеж приймаються за даними табл.5.
До розрахункової кількості одночасних пожеж включені пожежі на промислових підприємствах, які розташовані в межах населеного пункту. Додатково до витрат води на зовнішнє гасіння пожеж слід враховувати витрати на внутрішнє гасіння пожежі в житлових, громадських та виробничих будинках, які обладнані внутрішніми пожежними кранами. Перелік таких будинків і нормативні витрати води на внутрішнє гасіння пожежі наведені в СНиП 2.04.01-85.
Таблиця 3 Розрахункові витрати води на душ на одного працівника за добу
| Група виробничого процесу за санітарною характеристикою* | Витрати води на душ, л | |
| чоловік | жінок | |
| 1б! | 25 | 31,25 |
| Ів, ІІа, IVa, | 53,6 | 62,5 |
| ІІв, ІІд, ІІІб, IV6 | 75 | 93,75 |
| ІІб, ІІг, ІІІв, ІІІа, ІІІг | 125 | 125 |
Таблиця 4 Розрахункова кількість душових та умивальників СН2.09.04-871
| Група Нироб- ничих процесів | Санітарна характеристика виробничих процесів | Розрахункова кіль- кість працівників | |
| на одну душову сітку | на один кран | ||
| І | Процеси, що викликають забруднення речовинами 3-го та 4-го класів небезпечності: | ||
| Іа | тільки рук | 25 | 7 |
| Іб | тіла та спецодягу | 15 | 10 |
| Ів | тіла та спецодягу, що видаляються із зас- тосуванням спеціальних миючих речовин | 5 | 20 |
| II | Процеси, які здійснюються при значних надлишках явного тепла або при несприятливих метеорологічних умовах: | ||
| ІІа | при значних надлишках явного конвекційного тепла; | 7 | 20 |
| ІІб | при значних надлишках явного променевого тепла | 3 | 20 |
| ІІВ | пов'язане з виділенням вологи, що викликає намокання спецодягу | 5 | 20 |
| ІІг | при температурі повітря до 10 °С, включаючи роботи на відкритому повітрі | 5 | 20 |
| ІІІ | Процеси, що викликають забруднення речовинами 1- та 2-го класів небезпечності, а також речовинами, що мають стійкий запах: | ||
| ІІІa | тільки рук | 7 | 10 |
| ІІІб | тіла та спецодягу | 3 | 10 |
| IV | Процеси, що вимагають особливих умов до утримання чистоти або стерильності при виготовленні продукції | Відповідно вимогам відомчих нормативних документів | |
Розрахункову тривалість гасіння пожежі приймають 3 год. Подача води на гасіння пожежі повинна бути забезпечена в години найбільших витратах води для інших потреб. При цьому об'єми води на поливання, душові, миття підлоги і технологічного обладнання підприємств не враховуються.















