125183 (717549), страница 2
Текст из файла (страница 2)
Радиально-упорные подшипники (рис. 3, б) воспринимают радиальную и осевую нагрузку (косозубые, конические и червячные передачи), действующую на вал. Одинарный подшипник может воспринимать чисто осевую нагрузку, действующую в одном направлении. Подшипники, смонтированные попарно, воспринимают осевые усилия, действующие в обоих направлениях.
Рис. 3
Шариковые радиальные 2-рядные сферические подшипники могут работать при значительном перекосе до 3 осей внутреннего и наружного колец, обладают способностью самоустанавливания оси вала относительно корпуса. Величина осевой нагрузки, действующей одновременно с радиальной, не должна превышать 20% от неиспользованной допустимой радиальной нагрузки.
Тела качения и кольца подшипников качения изготавливают из высокоуглеродистых шарикоподшипниковых хромистых сталей ШХ9, ШХ15 с термообработкой до твердости 60 … 65 HRCэ и последующим шлифованием и полированием, в некоторых случаях используют стали других марок (нержавеющие, жаропрочные и др.); сепараторы делают из низкоуглеродистой мягкой листовой стали, массивные сепараторы – из бронзы, латуни, алюминиевых и магниевых сплавов, пластмасс. При антикоррозионных и антимагнитных требованиях детали подшипников выполняются из беррилиевой бронзы БрБ-2, нержавеющих немагнитных сталей.
Уменьшение радиальных размеров подшипников возможно как за счет минимизации размеров тел качения (игольчатые подшипники), так и за счет исключения из классической конструкции подшипника внутреннего и наружного колец. Применяются стандартные игольчатые подшипники, состоящие только из тел качения, расположенных в массивном сепараторе; нестандартные насыпные шарикоподшипники, в которых отсутствует сепаратор, роль внутреннего и наружного колец таких подшипников выполняют цапфа вала и неподвижная крышка корпуса, параметры твердости и точности которых должны соответствовать таким же параметрам колец стандартных подшипников.
В подшипниках качения смазка уменьшает трение, шум, отводит тепло, защищает подшипник от коррозии, заполняет зазоры в уплотнениях, обеспечивая герметизацию подшипникового узла. Применяют жидкие, консистентные и твердые смазки.
Жидкие смазки используют при окружной скорости вала выше 10 м/с. Чаще всего применяют минеральные масла: приборное МВП, индустриальное 12 (веретенное), индустриальное 20 и масла с антифрикционными присадками (дисульфит молибдена, графита).
Консистентные смазки (густые мази) применяют при окружной скорости вала до 10 м/с. Корпус подшипникового узла заполняют смазкой в объеме 1/3 его свободного пространства. Наилучшими признаны литиевые смазки: Литол-24, Циатим-221, Циатим-201 и др. Они хорошо удерживаются в узлах трения и не требуют сложных уплотнений, их не рекомендуют применять при большом тепловыделении
Твердые смазки используются в вакууме и специальных средах (графит, дисульфит молибдена, нитрат бора). При повышенных температурах (140 … 275 С) возможно применение массивных сепараторов из самосмазывающихся пластмасс (Вилан, Тесам-4, фторопласты). Ресурс подшипника определяется временем до повреждения перемычек сепаратора.
Выбор подшипников качения
Типоразмеры подшипников качения ограничены стандартами. Тип подшипника выбирается с учетом величины и направления нагрузки, действующей на вал (радиальная, осевая, радиальная и осевая); характера нагрузки (постоянная, переменная, ударная); частоты вращения; требуемого срока службы механизма в часах (h); конструктивных особенностей и условий работы механизма. Так, для прямозубых цилиндрических, цилиндрических фрикционных передач можно использовать радиальные шарикоподшипники; для косозубых цилиндрических, червячных, конических, винтовых передач – радиально-упорные подшипники.
Внутренний диаметр d подшипника подбирают по диаметру вала, рассчитанному или принятому. Основным критерием для выбора серии подшипника при частоте вращения n > 1 об/мин служит динамическая грузоподъемность. Расчет заключается в определении расчетной динамической грузоподъемности Ср и сравнении этой величины с допустимым значением Сadm, приведенным в таблицах для данного подшипника:
СрСadm . (4)
Допустимая динамическая грузоподъемность представляет собой постоянную радиальную нагрузку, которую подшипник с не вращающимся наружным кольцом может выдержать в течение одного миллиона оборотов внутреннего кольца без появления с вероятностью равной 0,9 признаков усталостного контактного разрушения. Значения Сadm приведены в таблицах технических характеристик подшипников качения.
Расчетная динамическая грузоподъемность определяется для шариковых подшипников по формуле
Cp = Fred
, (5)
где Fred – эквивалентная нагрузка, Н; L – долговечность, выраженная в количестве миллионов оборотов, ее можно выражать через долговечность Lh в часах как
L = 60n∙Lh∙10–6 , (6)
где n – частота вращения вала, об/мин. Под эквивалентной понимают постоянную радиальную нагрузку, одинаково воздействующую на долговечность подшипников, как и реальная нагрузка, действующая при эксплуатации подшипникового узла. Эквивалентная нагрузка Fred для радиальных и радиально-упорных шарикоподшипников равна
Fred = (VXFr+YFa)K∙Kt , (7)
где Fr и Fa – радиальная и осевая нагрузки на подшипнике, Н; Х и Y – безразмерные коэффициенты радиальной и осевой нагрузок (приведены в таблицах каталогов подшипников); V – кинематический коэффициент, равный 1,0, если в подшипнике вращается внутреннее кольцо, и 1,2 – наружное; К – коэффициент динамичности нагрузки (при постоянной нагрузке К = 1, при переменной К = 1,3 … 1,8, при ударной К = 2 … 3); Кt – температурный коэффициент (при t 125 C Кt = 1, при t = 125 … 150 C Кt = 1,05 … 1,1).
Выбор подшипника осуществляется в следующей последовательности: принимают тип и внутренний диаметр (по валу) подшипника; вычисляют по (7) эквивалентную нагрузку; по заданной долговечности и рассчитанной эквивалентной нагрузке определяют по (5) расчетную динамическую грузоподъемность. Далее по каталогам подбирают размеры (серию, ширину) подшипника намеченного типа с учетом того, чтобы при выбранном диаметре d выполнялось условие (4).
При намеченном типе и внутреннем диаметре подшипника условие Сp Cadm обеспечивается переходом от легких серий подшипника к более тяжелым. Иногда условие (4) обеспечивают изменением типа или внутреннего диаметра подшипника.
Посадки подшипников. Конструкции подшипниковых узлов
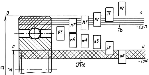
Подшипник качения является стандартным узлом, характер посадки его на вал и в корпус обеспечивают путем подгонки соприкасающихся с подшипником поверхностей. Поэтому посадка наружного кольца подшипника в корпус осуществляется всегда в системе вала, а внутреннего кольца на вал – в системе отверстия. Но поле допуска на диаметр d внутреннего кольца расположено не в сторону увеличения номинального размера, как у основного отверстия (поле допуска Н), а наоборот (рис. 4). Это позволяет получить посадки с небольшим натягом, используя для валов поля допусков переходных посадок (js, k, m, n).
При посадке подшипника на вал с большим зазором не обеспечивается требуемая точность центрирования, а в случае посадки с большим натягом уменьшается или полностью исчезает радиальный зазор в подшипнике, что влияет на точность и плавность вращения, вызывает шум и вибрации во время работы и может привести из-за перенагружения к быстрому выходу подшипника из строя.
Для внутреннего кольца подшипника при вращающемся вале и значительных нагрузках применяют посадку с полем допуска на вал n6, при малых нагрузках – js6, k6.
Рис. 4
Сопряжение наружного кольца подшипника со стальным или чугунным корпусом выполняется по посадке с полем допуска на отверстие Н7, а при высокой частоте вращения вала и при изготовлении корпуса из алюминиевых или магниевых сплавов – по посадке с полем допуска Js7.
При конструировании подшипниковых узлов необходимо обеспечить центрирование подшипников в опорах, осевую фиксацию вала, возможность изменения длины вала без нарушения работы подшипника, удобство монтажа и демонтажа, защиту подшипников от попадания пыли, сохранение смазки, регулировку осевого натяга, соосность отверстий в корпусе, которую проще всего достичь их обработкой (расточкой, шлифовкой) с одного установа. При этом надо учитывать конструктивные особенности подшипников и их размеры, совместимость применяемых материалов, условия эксплуатации и режимы работы.
Защемление тел качения могут вызвать не только радиальные, но и осевые смещения, например, температурные изменения длины вала. Различают два способа фиксации валов в осевом направлении. Так, способ фиксации вала подшипниками в корпусе с двух сторон «враспор» (рис. 5, а) применяют при коротких валах, когда тепловые деформации вала и корпуса в осевом направлении примерно одинаковы. При этом предусматривается небольшой зазор = 0,05 … 0,2 мм, величина которого может регулироваться толщиной набора регулировочных прокладок 1. На сборочных чертежах величина этого зазора может не показываться.
При длинных валах и значительных колебаниях температуры, а также в тех случаях, когда температурные удлинения вала больше деформаций корпуса, одна опора вала жестко фиксируется в корпусе (рис. 5, б), а вторая опора делается плавающей.
Рис. 5
Работоспособность подшипниковых узлов зависит не только от правильного расчета и выбора подшипников, но также и от целого ряда сопутствующих факторов, основными из которых являются: тип выбора смазки и метод ее подвода; конструкция уплотнения и надежность защиты подшипника от попадания грязи и влаги, от вытекания смазки из корпуса; правильный выбор посадки подшипника и крепления его на валу и в корпусе; точность посадочных мест по размерам, взаимным биениям, шероховатости; монтаж и регулировка зазоров. Соосность отверстий в корпусе под подшипники достигается их обработкой (расточка, шлифование) с одной установки.
К дефектам, наиболее часто встречающимся в эксплуатации, следует отнести высокую температуру (свыше 80 С) подшипникового узла; повышенный шум или удары при работе; выбрасывание смазки из корпуса.
Специальные опоры
К специальным опорам относят опоры с трением упругости, магнитные и др.
Основным элементом опор с трением упругости является упругая проволока или лента, один конец которой прикреплен к неподвижному основанию, другой – к подвижной рамке прибора. Опоры выполнены в виде подвеса (рис. 6, а) или растяжки (рис. 6, б) из материалов, обладающих хорошими упругими свойствами (бронза, легированные стали). Такие опоры применяют при небольших углах поворота рамки. В них практически отсутствует трение, они не нуждаются в смазке, нечувствительны к загрязнением. К недостаткам опор помимо небольших углов поворота подвижных элементов следует отнести пониженную виброустойчивость, чувствительность к ударам и вибрациям.
Рис. 6
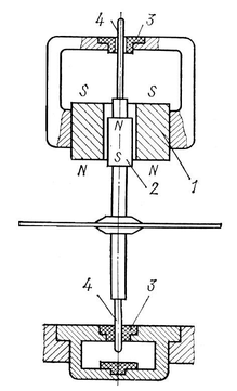
В магнитных опорах в зазоре между трущимися поверхностями действуют силы притяжения между магнитами 1 и 2 (рис. 7), которые уравновешивают вес подвижных звеньев. Центрирование вращающегося звена осуществляют с помощью тонких полированных нержавеющих штифтов 4, расположенных с зазором в графитовых втулках 3. В качестве цапф и втулок подшипников используются постоянные магниты из специальных сплавов или электромагниты. Магнитные опоры помимо малых потерь на трение могут работать при любых скоростях вращения. В силовых механизмах их не применяют из-за громоздкости магнитов, создающих усилия для подъема нагруженных валов. Используют магнитные опоры в электросчетчиках, приборах времени и других приборах.
Рис. 7
ЛИТЕРАТУРА
-
Красковский Е.Я., Дружинин Ю.А., Филатова Е.М. Расчет и конструирование механизмов приборов и вычислительных систем: Учебное пособие. М.: – Высш. шк., 2001. – 480 с.
-
Сурин В.М. Техническая механика: Учебное пособие. – Мн.: БГУИР, 2004. – 292 с.
-
Ванторин В.Д. Механизмы приборных и вычислительных систем: Учебное пособие. – М.: Высш. шк., 1999. – 415 с.
















