125057 (717526)
Текст из файла
План
-
Загальні відомості
-
Водонапірні башти
-
Резервуари
-
Гідропневматичні установки
-
Регулюючі та запасні споруди в системі водопостачання
Список використаної літератури
1. Загальні відомості
У системах водопостачання широко використовують ємкісні споруди, які за призначенням виконують функції запасних, регулювальних, запасно-регулювальних об'ємів води. За матеріалом ємкісні споруди можуть бути залізобетонні, бутові, цегляні, сталеві, дерев'яні, скляні. За способом подавання з них води споживачам їх поділяють на такі види:
-
напірні;
-
безнапірні.
Із напірних вода потрапляє споживачеві під потрібним напором, а із безнапірних воду забирають насосами. До напірних ємностей належать такі споруди:
водонапірні башти;
напірні резервуари;
водонапірні колони;
гідропневматичні установки. Водонапірні башти потрібний напір перед споживачем забезпечують встановленням на певній висоті бака на спеціальних підтримуючих конструкціях. Напірні резервуари розміщуються на природних, домінуючих, підвищених місцях із необхідними позначками для забезпечення потрібного напору. Водонапірні колони займають проміжне положення між напірними резервуарами й баштами. Проте при малих рівнях води в них потрібний напір перед споживачем не завжди забезпечується. Гідропневматичні установки забезпечують потрібний напір тиском повітря на поверхню води в герметично закритих резервуарах.
2. Водонапірні башти
Водонапірні башти використовують найчастіше для зберігання регулювальних і пожежних запасів води. їх розташовують у місці з найвищою позначкою, якнайближче до мережі та найбільших водоспоживачів, а також до районів мережі, які потребують більших вільних напорів. Доцільно розміщувати їх у центрі територій, які обслуговуються у годину максимального водоспоживання з мережі. Розташування башти має бути таким, щоб можна було організувати зону санітарної охорони радіусом 15 м. У складних випадках місце розташування башти встановлюють на основі техніко-економічних розрахунків, пов'язаних із розрахунком мережі, башти, напору насосів другого підняття. При великих об'ємах баків башт можна встановлювати декілька башт, купно в одному місці або розкиданими по території населеного пункту чи підприємства.
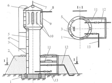
Основні елементи водонапірної башти (будівельні й монтажні) показано на рис. 1. До будівельних елементів належать фундамент і підвальне приміщення, підтримуюча конструкція (стовбур), бак або резервуар, шатро, драбини. Монтажні елементи – це система трубопроводів, арматура, допоміжні монтажні деталі. Воду подають у бак трубопроводом 1, а забирають із нього трубами 4 і 7. Верхній зріз труби 7 встановлюють на рівні верху 10-хвилинного пожежного запасу (позначка Z). Отже, у звичайних умовах рівень води в баці то піднімається до максимальної позначки Z1 з наповненням бака, то знижується знову до позначки Z2 при відбиранні води з башти. Об'єм води між позначками Z1 Z2 є регулювальним запасом. Об'єм води між позначками Z2 і Z3 – це пожежний запас. Його можна забрати лише у разі пожежі відкриттям засувки на трубопроводі 6 (у звичайних умовах ця засувка завжди закрита). Якщо бак переповнюється, то залишки води стікають трубами 11 і 13 у каналізацію, у знижене місце поблизу башти або, у крайньому випадку, на вимощення біля башти. Періодично бак башти треба звільняти від води. Для цього закривають засувки на трубопроводі 1, відкривають засувку на трубопроводі 12 і скидають воду з башти, після чого бак миють і дезінфікують. Описана система подачі і відбору води із башти одним стояком називається однотрубною. Існує також двотрубна система, при якій подача і відбір води виконується самостійними стояками. Щоб бак і труби не руйнувалися через температурні деформації, на трубах 4 і 13 встановлюють компенсатори.
Рис. 1. Схема водонапірної башти: 1-трубопроводи підключення башти до мережі; 2 – фундамент і підвальне приміщення; 3 – стовбур; 4 – подавально – відвідний стояк; 5 сальникові компенсатори; 6 – трубопрвід для відбирання води на пожежні потреби; 7 трубопрвід для відбирання води на господарсько-питні потреби; 8 – бак; 9 – шатро; 10 – блискавковідвід: 11 – переливна труба; 12 – грязевідвідний трубопровід; 13 – скидний стояк
Шатро використовують для того, щоб уберегти бак від дії температури зовнішнього повітря. Прохід між баком і шатром має бути не меншим за 0,7 м. Нині використовують безшатрові башти меншої вартості, в яких бак зверху закритий конічною кришкою. Безшатрові башти можуть бути з теплоізоляцією і без неї. Баки без теплоізоляції використовують при подаванні підземних вод, при температурі повітря до –25 °С і обміні води не менше одного разу на добу. При температурі зовнішнього повітря не нижче за –15 °С і двох обмінах води на добу їх можна застосовувати у разі подавання поверхневих вод.
Рис. 2. Типи баків водонапірних башт: а – з плоским днищем; б – з вгнутим днищем; в-з вгнутим днищем і шахтою в центрі; г – з випуклим днищем; д – конструкції
Баки башт виготовляють металевими або залізобетонними, круглими в плані та з плоским, сферичним, конічним і іншими днищами (рис. 2). Більш складна форма днища робиться в баках більшого об'єму з метою економії матеріалів та підвищення конструктивної міцності бака.
Співвідношення висоти бака до діаметра повинно бути 0,5… 1,2.
Загальний об'єм бака башти, м3,
W=Wpe,+ Wm3
де Wpez – регулювальний об'єм бака башти, м, WHn3 – непорушний десятихвилиннии пожежний запас, м.
Визначення регулювального запасу розглядалось в сьомій главі. Пожежний запас, м3, встановлюють за формулою
Wm3 = 0,6 (Цс.тах + Цпож),
де Цс.тах – розрахункові витрати води на господарсько-питні й виробничі потреби в години максимального споживання води, л/с; Цпож – витрати води на гасіння однієї зовнішньої та однієї внутрішньої пожежі, л/с.
Висоту водонапірної башти обчислюють після гідравлічного розрахунку водопровідної мережі та визначення п'єзометричних позначок в усіх вузлах мережі. У загальному випадку висота башти (рис. 3)
Н6 = гйж + НАт + Ihw – z (9.3)
де гйж – позначка землі в диктуючій точці; НАт – вільний напір в диктуючій точці; Ihw – втрати напору на шляху потоку води від башти до цієї точки; z – позначка землі в місці розташування башти.
Рис. 3. Схема для визначення висоти башти 1 – башта; 2 п'єзометрична лінія при максимально-господарському водоспоживанні; З – водопровідна мережа; 4 – вільні напори
Непорушність пожежного запасу в баці башти забезпечується тим, що засувка на трубопроводі для відбирання води на пожежні потреби відкривається за командою з диспетчерського пункту. Башту можуть обладнювати автоматичним пристроєм для відключення її під час пуску пожежних насосів на насосній станції її підняття.
Рис. 4. Металева башта-колона:
1 – фундамент; 2 – земляний насип: З – стовбур; 4 – зовнішня драбина; 5 – внутрішня драбина; 6 – лаз; 7 – блискавковідвід: 8 – переливна труба; 9 – бак; 10 – льодоутримувачі; 11 – камера переключення; 12 – подавально-відвідний трубопровід; 13 – грязьова труба
Типові башти мають висоту від 10 до. 40 м, місткість бака-15…800м3. За кордоном використовуються башти з баками на 2000…3000 м3. У сільській місцевості дуже рідко об'єми баків башти перевищують 100м3, але можна встановлювати 3…10 типових башт із загальною місткістю до 100 м.
Стовбур башти виконують суцільним з цегли, залізобетону або решітчастим із металевої решітки чи у вигляді залізобетонних колон.
Суцільні стовбури можна опалювати електронагрівальними елементами. Стовбур із цегли більш трудомісткий, але у цьому разі використовується місцевий матеріал, що більше відповідає конкретним умовам. Для зовсім малих водоспоживачів та для тимчасового споживання можна використовувати дерев'яні башти, в яких металевий або дерев'яний клепаний бак установлюють на дерев'яний решітчастий стовбур. Висота таких башт дорівнює 9…12 м. Нині в багатьох селах широко використовують металеві башти-колони заводського виготовлення конструкції Рожновського (рис. 4). Таку башту-колону встановлюють автокраном на фундамент. Воду в башту подають і забирають з неї трубопроводом із нижньої частини стовбура. Рівень води може коливатися від поверхні землі до максимальної позначки води в баці. При заповненні башти надлишки води по переливній трубі витікають безпосередньо на землю біля башти. Така башта є відносно дешевою, простою за конструкцією, швидко монтується, об'єм бака – 15… 50 м, а висота стовбура 12…18 м.
3. Резервуари
Резервуари застосовують для зберігання великих запасів води на господарські, пожежні, технологічні, аварійні потреби. їхня місткість може становити 50…20 000 м», а розмір у плані від 3 х 6 м до 66 х 66 м, висота – 1,8…4,8 м. Вони можуть бути круглими в горизонтальній або вертикальній площинах та прямокутними. Найчастіше використовуються закриті зверху, але можуть бути і відкритими. Резервуари роблять заглибленими в землю, напівзаглибленими або наземними. Для того щоб запобігти прогріванню води влітку, промерзанню взимку, резервуари обваловують місцевим грунтом. У цьому разі найменшу будівельну вартість мають напівзаглиблені резервуари. При високих рівнях ґрунтових вод та забруднених радіонуклідами підземних водах (Чорнобильська зона) резервуари роблять наземними. Резервуари роблять із залізобетону, буту, металу тощо. Найчастіше використовують залізобетонні, при чому вони можуть бути як із монолітного, так і зі збірного залізобетону. Останні більш індустріальні, їх швидше будувати.
При очисних станціях будують резервуари чистої води. Принципову схему обладнання такого резервуара зображено на рис. 5. Корпус резервуара напівзаглиблений у землю і обвалований ґрунтом 5. Для того щоб можна було спускатися в резервуар, для обслуговуючого персоналу роблять кілька лазів. Вентиляційні труби забезпечують вентиляцію простору над поверхнею води. Нині такі труби обладнують ще спеціальними всмоктувальними фільтрами для очищення повітря від радіоактивного та інших забруднень. В резервуарі між позначками z3 і z2 зберігається непорушний пожежний запас, а між z) і z2 – регулювальний і об'єм на власні потреби. Максимальний рівень води в резервуарі zh як правило, перевищує позначку землі на 0,5.– 1,0 м, що забезпечує можливу фільтрацію з резервуара в ґрунт (а не навпаки) і сприяє збереженню високої якості води. Щоб вода в резервуарі не застоювалась, слід передбачити перемішування її. Для цього воду подають (трубопровід 2) з одного боку, а відбирають (трубопроводи 8, 9) з іншого.
На трубопроводі відбирання води на господарські потреби обов'язково треба передбачити пристрій для збереження непорушності пожежного запасу. Для цього використовують колодязь 7. Колодязь відкритий зверху, а позначка його верху перебуває на рівні пожежного запасу z2. Тому коли при відбиранні води рівень зменшується до позначки z2 вода не потраплятиме до колодязя 7 і не надходитиме в трубопровід 8. Для забирання пожежного запасу на рівні дна резервуара передбачається трубопровід 9, до якого підключають пожежні насоси. З переповненням резервуара залишки води перетікають трубопроводом 6 у каналізацію. Періодично резервуари миють і дезінфікують. Брудну від миття і дезінфікуючого розчину воду відводять трубопроводом 10. Для того щоб брудна вода повністю видалялася з резервуара, дно його має нахил у бік приямка. На всіх трубопроводах установлюють засувки, виведені або в окремі колодязі, або в загальну камеру керування роботою резервуара.
Рис. 5. Резервуар чистої води:
1 – корпус резервуара; 2 – подавальний трубопровід; 3 – оглядові колодязі (лази); 4 – вентиляційна труба; 5 – обвалування; 6 – переливна труба; 7 – колодязь для забезпечення непорушності пожежного запасу; 8 – трубопровід для відбирання води для господарських потреб; 9 – трубопровід для відбирання води на пожежні потреби; 10 – грязевідвідна труба; 11 – приямок; 12 – камера переключень
Непорушність пожежного запасу забезпечують (крім уже вказаного методу) установленням на трубопроводі 8 замість колодязя сифона, нижній зріз якого розміщують трохи вище дна, а перегин на рівні z2.Y вищій точці сифона роблять отвір діаметром 20…30 мм. Вода сифоном забирається з дна і подається трубопроводом 8. Це забезпечує обмін усього об'єму води, навіть пожежного. Коли рівень води доходить до отвору, повітря всмоктується в сифон, порушує вакуум, і вода не потрапляє в трубопровід 8. Непорушності пожежного запасу можна досягти автоматизацією насосної станції. З цією метою в резервуарі встановлюють датчики, і коли рівень води знижується до позначки z2, господарські насоси відключаються і не всмоктують воду трубопроводом 8.
Щоб запобігти переповненню резервуара, на подавальному трубопроводі на рівні максимальної позначки встановлюють поплавковий клапан. Скидний трубопровід обов'язково підключають до каналізації через гідравлічний затвор, зворотний клапан і решітки. Його можна підключати до відкритої канави з розривом струменя.
Характеристики
Тип файла документ
Документы такого типа открываются такими программами, как Microsoft Office Word на компьютерах Windows, Apple Pages на компьютерах Mac, Open Office - бесплатная альтернатива на различных платформах, в том числе Linux. Наиболее простым и современным решением будут Google документы, так как открываются онлайн без скачивания прямо в браузере на любой платформе. Существуют российские качественные аналоги, например от Яндекса.
Будьте внимательны на мобильных устройствах, так как там используются упрощённый функционал даже в официальном приложении от Microsoft, поэтому для просмотра скачивайте PDF-версию. А если нужно редактировать файл, то используйте оригинальный файл.
Файлы такого типа обычно разбиты на страницы, а текст может быть форматированным (жирный, курсив, выбор шрифта, таблицы и т.п.), а также в него можно добавлять изображения. Формат идеально подходит для рефератов, докладов и РПЗ курсовых проектов, которые необходимо распечатать. Кстати перед печатью также сохраняйте файл в PDF, так как принтер может начудить со шрифтами.













