125028 (717521), страница 2
Текст из файла (страница 2)
Пластинчато-статорный насос составляют следующие основные элементы: корпус ), эксцентричный ротор 2, выпускной патрубок 3, пластина 4, пружина 5, входной патрубок 6". Рабочее пространство насоса образуется между эксцентрично установленным ротором и корпусом насоса. При вращении по часовой стрелке за первый оборот ротора газ всасывается из откачиваемого объекта, а за второй оборот производится сжатие и выхлоп газа. Пластина под воздействием пружины герметично разделяет области всасывания и сжатия откачиваемого газа.
Золотниковый насос состоит из корпуса 1, эксцентрично установленного ротора 2, золотника 3, выпускного патрубка 4, обратного клапана 5, шарнира 6 и входного патрубка 7. Газ из откачиваемого объекта через входной патрубок и отверстия в золотнике поступает в камеру всасывания А, увеличивающуюся при вращении ротора по часовой стрелке. В это же время объем камеры В уменьшается и находящийся в ней газ сжимается и выталкивается через выхлопной патрубок.
Пластинчато-статорный и золотниковый насосы работают в масляной ванне, так же как и пластинчато-роторный насос. Характеристики этих насосов примерно одинаковы, но золотниковые насосы изготовляются на большие быстроты откачки - до 100 л/с.
В качестве рабочей жидкости насосов обычно применяются вакуумные масла, полученные из обычных смазочных материалов отгонкой самых легких и самых тяжелых фракций. Температура вспышки масел должна быть не ниже 200°С, что характеризует отсутствие в масле легкоокисляющихся фракций.
Рис. 6. Ротационные насосы с катящимся ротором.
Для работы с большой быстротой действия при малых степенях сжатия удобны ротационные вакуумные насосы с обкатываемыми профилями. Профили роторов в этих насосах таковы, что при внешнем зацеплении и взаимной обкатке они соприкасаются теоретически без зазора. Вращение роторов обеспечивается синхронизирующей передачей, В некоторых конструкциях маслонаполненных насосов синхронизирующая передача отсутствует и роторы соприкасаются. Наибольшее распространение получили двухроторные конструкции, хотя возможны насосы с тремя и более роторами.
По способу сжатия газа ротационные вакуумные насосы с обкатываемыми профилями можно разделить на насосы с внешним частичным внутренним и внутренним сжатием. В насосах с внешним сжатием газ сжимается только в процессе нагнетания. К таким насосам относятся двухроторные насосы (насосы Рутса), имеющими роторы с леминискатными профилями (рис. 7). За один оборот каждый из роторов дважды перебрасывает заштрихованный объем газа из области высокого вакуума в область предварительного разрежения. Роторы вращаются в разные стороны. Синхронность их вращения обеспечивается зубчатой передачей с передаточным числом, равным 1 (обозначена на рисунке пунктиром).
Рис. 7. Насос Рутса.
Двухроторные насосы имеют при тех же габаритах значительно большие быстроты действия, чем пластинчатые насосы и насосы с катящимся ротором, так как из-за отсутствия трения между ротором и статором можно значительно увеличить их частоту вращения. Быстрота действия современных двухроторных насосов лежит в пределах от 5 до 5000 л/с. Удельные характеристики насоса: (0.5-3) кг/(л/с) и (6-30) Вт/(л/с), причем меньшие значения удельной мощности для насосов с большой быстротой действия.
Работа объемных вакуумных насосов может сопровождаться рядом нежелательных явлений; проникновением паров рабочих жидкостей из насоса в откачиваемый объект; загрязнением насоса откачиваемыми веществами с высоким давлением насыщенных паров; потерей рабочей жидкости через выхлопной патрубок; утечкой откачиваемого газа и т. д.
Для ограничения этих явлений служит специальное сервисное оборудование, которым в случае необходимости снабжаются объёмные насосы. К таким устройствам относятся ловушки, влагопоглотители, натекатели, конденсаторы, фильтры, уплотнители и т. д.
При высоких давлениях (более 102 Па) обратный поток паров рабочей жидкости задерживается встречным потоком откачиваемого газа и в применении защитных устройств не возникает необходимости. При более низких давлениях, когда длина свободного пути молекул газа становится больше диаметра входного патрубка насоса, пары рабочей жидкости могут двигаться навстречу основному потоку и проникать в откачиваемый объект. Если температура насоса выше, чем температура откачиваемого объекта, то обратный поток будет существовать до тех пор, пока вся рабочая жидкость насоса не переместится в откачиваемый объект. Для защиты откачиваемого объекта от паров рабочей жидкости используются ловушки - устройства для парциальной откачки паров рабочих жидкостей.
К ловушкам предъявляются следующие основные требования: максимальное защитное действие на заданном сроке службы и минимальное сопротивление основному потоку - откачиваемого газа. В качестве дополнительных требований можно назвать возможность регенерации, надежность, простота и технологичность, конструкции, удобство эксплуатации.
Механические ловушки для объемных насосов представляют собой устройства, работающие при температуре откачиваемого объекта. Для получения заметного защитного действия в момент остановки насоса в ловушке должны выполняться условия молекулярного режима течения газа вплоть до атмосферного давления, что соответствует наибольшему расстоянию между элементами ловушки 0.1 мкм. Такие размеры могут быть обеспечены только в пористых элементах , поэтому габариты ловушек зависят от удельной проводимости пористых материалов. Наиболее эффективно применение элементов из пористого стекла, стекловолокнистых материалов, пористых меди и нержавеющей стали.
Поглощение паров масла в ловушках осуществляется адсорбцией на стенках капиллярных каналов. Период непрерывной работы ловушки - составляет несколько сотен часов, по истечении которых элемент должен быть заменен, очищен продувкой атмосферным воздухом или прогрет до высоких температур (~500° С).
Термостатирование ловушек во время их работы осуществляется проточной водой. Снижение температуры ловушек дополнительно повышает их защитное действие, но несколько снижает удельную проводимость.
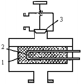
Увеличения срока службы ловушек можно достигнуть, добавляя в пористые фильтры адсорбционные материалы: активные угли, цеолиты с размерами пор ~9
, активную окись алюминия. Ловушки с адсорбентом (рис. 8) нельзя подвергать воздействию атмосферного воздуха, так как они могут поглотить большое количество воды, которая затем будет выделяться во время работы насоса. Для удаления поглощенных в адсорбционном элементе 1 масла и воды ловушку следует прогревать нагревателем 2 до 300 - 500° С. Клапан 3 изготовляется в одном корпусе с ловушкой и закрывается во время обезгаживания адсорбента.
Рис. 8. Ловушка с адсорбентом.
В ионных ловушках (рис. 9) корпус, имеющий форму цилиндра служит заземленным катодом для холодного разряда. Анодом является стержень 1, расположенный вдоль оси цилиндра. Разряд горит, при напряжении на аноде ~3 кВ и наличии осевого магнитного поля, создаваемого внешними магнитами. Электроны, эмитируемые катодом, двигаются по удлиненной траектории к аноду, ионизируя остаточный газ. Положительные ионы, бомбардирующие поверхность корпуса разрушают поверхностную пленку масла. Это приводит к выделению водорода и полимеризации углеводородов в твердые вещества. Охлаждение корпуса и защитного экрана 2 осуществляется водой. Такая ловушка может уменьшить парциальное давление паров масла в 10 - 100 раз.
Рис. 9. Ионная ловушка.
3. Молекулярные насосы
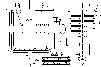
Молекулярные насосы с одинаковым направлением движения газа и стенки канала имеют много конструктивных разновидностей. Насос (рис. 10) имеет в статоре 3 набор цилиндрических канавок 4, входные и выходные отверстия в которых разделены перегородкой 1. Ротор 2 вращается с большой частотой так, что его линейная скорость близка к тепловой скорости молекул.
Спиральный паз на поверхности статора 2 и цилиндрическая поверхность ротора 3 образуют рабочий канал (схема на рис. 10б). Спиральные канавки на торцевых поверхностях статора 1, отстоящие на минимальном расстоянии от вращающегося диска 2, используются для молекулярной откачки в схеме рис. 10в. Через зазор между статором и ротором происходит возврат газа из камеры сжатия в камеру всасывания, что ухудшает реальные характеристики насосов. Нормальная работа таких насосов возможна при зазоре между ротором и статором не превышающем 0.1 мм.
Практическое применение такие насосы нашли в качестве ступеней высокого давления при совместной работе с насосами, имеющими взаимно перпендикулярное перемещение газа и рабочих поверхностей, а также при откачке газов с большой молекулярной массой.
Проникновение паров масел, применяемых для смазки подшипниковых узлов, в откачиваемый объект во время работы насоса очень мало, но сильно возрастает при остановке насоса.
Быстрота действия насосов прямо пропорциональна частоте вращения ротора, которая в современных насосах может достигать 10 - 40 тыс. оборотов в минуту. Максимальная быстрота действия обычно не превышает 100 л/с из-за малого поперечного сечения каналов. Предельное давление 10-5 Па при коэффициентах компрессии 105 - 106.
Молекулярные насосы с взаимно перпендикулярным движением рабочих поверхностей и потока откачиваемого газа получили широкое распространение. Конструкция турбомолекулярного насоса, использующая этот принцип, во многом определяется расположением вала ротора: горизонтальным или вертикальным, устройством и формой рабочих органов: цилиндровые, конусные, дисковые с радиальным потоком, дисковые с осевым потоком, барабанные.
Большое влияние на характеристики насоса оказывает конструкция опорных узлов: на смазываемых подшипниках качения, на магнитных опорах или газовой подушке.
Рис. 10. Молекулярный насос.
Схемы насосов с горизонтальным и вертикальным расположением вала ротора показаны на рис. 11. В корпусе 2 установлены неподвижные статорные колеса 4, между которыми вращаются колеса 3, закрепленные на роторе. Роторные колеса выполняются в виде дисков с прорезями. В статорных колесах имеются зеркально расположенные прорези такой же формы. Для удобства монтажа статорные колеса разрезаются по диаметру.
При горизонтальном положении ротора движение газа в насосе после входа во всасывающий патрубок разветвляется на два потока, которые соединяются в выхлопном патрубке.
В связи с малыми коэффициентами компрессии каждой ступени в турбомолекулярном насосе можно увеличить рабочие зазоры. При диаметре рабочих колес 200 мм осевой (между колесами) в радиальный (между корпусом и роторным колесом или ротором и статорным колесом) зазоры могут составлять 1 - 1.2 мм, что позволяет значительно повысить надежность их работы. Увеличение зазоров, снижая коэффициент компрессии насоса, слабо влияет на его быстроту действия.
Быстрота откачки турбомолекулярных насосов согласно слабо зависит от рода газа. Предельное давление насосов 10-7-10-8 Па. С увеличением молекулярной массы коэффициент компрессии растет за счет уменьшения перетечек через зазоры и увеличения отношения линейной скорости ротора к тепловой скорости молекул vp/vap. Наибольшее выпускное давление таких, насосов для воздуха 1 - 10 Па.
К достоинствам турбомолекулярного насоса относятся: высокая площади входного сечения; достаточно широкий диапазон рабочих давлений 10-6-10 Па; быстрый запуск насоса в течение 5-10 мин; практически безмасляный спектр остаточных газов при напуске во время запуска и остановки насоса сухого азота. Недостатком насоса является наличие высокоскоростного ротора со смазываемыми быстро изнашивающимися подшипниками или сложными системами подвеса.
Рис. 11. Молекулярный насос.
4. Пароструйные насосы
При пароструйной откачке (рис.12) молекулы откачиваемого газа, поступающие в насос через входной патрубок 1, взаимодействуют со струёй пара, имеющего звуковую и сверхзвуковую скорость, и приобретают дополнительную скорость в направлении насоса предварительного разряжения, присоединяемого к выходному патрубки 6. В камере 3 происходит смешение паровой струи, выходящей из сопла 2, и откачиваемого газа. Запирающий канал 4 создаёт сопротивление обратному потоку газа, обеспечивая коэффициент компрессии насоса. Разделение откачиваемого газа и рабочего пара осуществляется в камере 5 в процессе конденсации рабочего пара на охлажденных поверхностях, после чего откачиваемый газ выходит из насоса через выходной патрубок, а сконденсировавшийся пар поступает по трубопроводу 7 в кипятильник 8, где вновь испаряется и по паропроводу 9 попадает в рабочее сопло 2, обеспечивая непрерывность процесса откачки
Взаимодействие откачиваемого газа с паровой струей зависит от степени вакуума. При низком вакууме молекулы, находящиеся в пограничном с паровой струей слое, за счет внутреннего трения увлекают другие слои газа. Такие насосы называют эжекторными.
В области высокого вакуума все молекулы откачиваемого газа, перемещаясь за счет самодиффузии, непосредственно взаимодействуют с движущейся струей пара, а насосы, работающие в таких условиях, называют диффузионными.
















