124837 (717470), страница 2
Текст из файла (страница 2)
Переключающие клапаны применяются в автоматических титраторах как прерывистого, так и непрерывного действия.
При анализах растворов с большим содержанием солей возникает опасность их выпадения из раствора и кристаллизации в каналах запорных устройств.
Это приводит к засорению каналов и вынуждает эксплуатационный персонал производить частые профилактические ремонты прибора.
Особенно опасны перерывы при работе автоматического титратора. В этом случае кристаллизация солей происходит более интенсивно из-за охлаждения раствора в каналах запорных устройств неработающего прибора. Чтобы избежать этого явления при кратковременных или длительных остановках прибора, применяют принудительный нагрев запорных устройств.
Седло клапана, подводящий и выводной каналы подогреваются с помощью нихромовой спирали, включенной в цепь электропитания последовательно с регулировочным реостатом. Необходимая степень нагрева устанавливается положением движка регулировочного реостата.
Дозирующие устройства
Дозирование как анализируемых растворов, так и реактивов в автоматических титраторах осуществляется с помощью дозирующих устройств различных конструкций. Все дозирующие устройства образуют два крупных класса — прерывистого и непрерывного действия. В свою очередь каждый класс имеет три группы дозирующих устройств.
Первая группа предназначена для дозирования тех растворов и реактивов, от правильности и точности дозирования которых непосредственно зависит правильность и точность работы автоматического титратора. Это дозирование анализируемых растворов, вспомогательных растворов, индикатора и т. п.
Вторая группа предназначена для дозирования фона. Дозирование этого вида реактивов может осуществляться с меньшей точностью и дозирующие устройства этой группы могут быть значительно упрощены.
Третья группа дозирующих устройств предназначена для подачи в титровальную ячейку растворителя. Точность дозирования этих реактивов практически не влияет на точность работы прибора.
Дозирующие устройства прерывистого действия
Наибольшее распространение, нашли следующие дозирующие устройства: поршневые, переливные, контактные, отсечные, мембранные и дроссельные.
Поршневые дозирующие устройства, примененные в автоматическом титраторе Analmatic, были показаны на рис. 9.
Сходное устройство, примененное в автоматическом титраторе типа 707, представлено на рис. 14. Устройство имеет мерный сосуд выполненный в виде цилиндра, в котэррм находится пустотелый поршень-поплавок 2 со штоком 3, электромагнитные мембранные клапаны 4 и конечный выключатель 5. Весь узел скомпонован на корпусе 6. Устройство работает следующим образом. При открытии одного из клапанов реактив поступает в мерный сосуд, поднимая поршень-поплавок до тех пор, пока его шток не разомкнет контакты конечного выключателя. При этом клапан закрывается. После того как открылся другой клапан, жидкость вытекает из мерного сосуда, а поршень-поплавок опускается на дно сосуда. Для настройки прибора конечный выключатель 5 может в небольших пределах перемещаться по вертикали. При этом соответственно увеличивается или уменьшается дозируемый объем анализируемого раствора. Вариация дозируемого объема Жидкости составляет порядка 0,01 мл при объеме мерного сосуда Д) мл.
Дозирующие устройства с переливом примененные в серии автоматических титраторов фирмы Bran und Lubhe, имеет моторный привод. Принцип действия устройства пояснен на рис. 17. Между двумя неподвижными дисками 2 помещен подвижный диск 1. Торцевые соприкасающиеся между собой поверхности дисков прошлифованы и прижаты друг к другу. Диск / жестко связан с осью 3, приводимой во вращение электрическим двигателем. В неподвижных дисках имеются по два вертикальных канала, а в подвижном диске мерный канал 4.
При вращении диска 1, когда мерный канал 4 проходит мимо соответствующих каналов неподвижных дисков, жидкость поступает через входной канал в мерный канал, заполняя последний. Излишек жидкости сливается через отверстие в верхнем диске. Когда мерный канал при вращении диска / попадает между сливными каналами неподвижных дисков, жидкость из мерного канала сливается в титровальную ячейку. Данных о величине вариации объемов у подобных устройств нет.
Мембранные дозирующие устройства, примененные в автоматическом титраторе прерывистого действия фирмы Bran und Liibbe под названием Titrometer, используют следующий принцип работы. Вялая мембрана /. расположенная посередине чечевицеобразной полости, делит доследнюю на две симметричные половины. В корпусе устройства расположены два одинаковых поворотных распределительных хлапана 2 и 3, приводимых в действие синхронными электродвигателями.
Левый и правый клапаны соединены системами каналов соответствено с левой и правой половинами чечевицеобразной погости, а также со входным 4 и 5 и сливными б и 7 штуцерами. Дозирующее устройство работает следующим образом, о том положении распределительных клапанов, которое показано на рис. 18, жидкость под напором поступает через штуцер 4 в левую половину чечевицеобразной полости, при этом мембрана выталкивает Жидкость из правой половины полости через штуцер 7. После одновременного поворота распределительных Клапанов на 180° жидкость поступает через штуцер 5 в правую половину чечевицеобразной полости, а мембрана выдавливает жидкость из левой полости через штуцер 6.
В приборе Titrometer с помощью двух мембранных дозирующих устройств подаются в титровальную ячейку анализируемый раствор и титрант. При подаче анализируемого раствора входные штуцера 4 и 5 объединены. Таким образом, дозирующее устройство подает в титровальную ячейку анализируемый раствор при каждом повороте па 180° распределительных клапанов. При подаче титранта в левую полость мембраны поступает инертная жидкость через штуцер 4, а штуцер 5 подключен к сосуду с титрантом. Таким образом, титраит подается в титровальную ячейку прибора при каждом полном обороте распределительного клапана. Данные по вариации мембранных дозирующих устройств отсутствуют. Однако точность прибора Titrometer, где используются эти устройства, доставляет ±1%.
Рассмотренные выше дозирующие устройства могут применяться как для дозирования основных растворов, правильное дозирование которых непосредственно влияет на величину погрешности при титровании, так и для дозирования вспомогательных растворов.
Дроссельные дозирующие устройства применяются в основном для дозирования вспомогательных растворов. Среди дроссельных дозирующих устройств нашли наибольшее распространение устройства со стабилизируемым напором столба жидкости. Стабилизация напора столба жидкости осуществляется либо с помощью поплавкового регулятора уровня либо с помощью сосуда Мариотта. Существенной частью устройств является капилляр Л создающий дросселирование потока жидкости. При постоянстве напора столба жидкости Н, поддерживаемого поплавковым регулятором 2 или сосудом Мариотта 3, и неизменной вязкости жидкости ее расход за время, определяемое временем открытия электромагнитного клапана 4, будет постоянным. Так как вязкость жидкости, протекающей через капилляр, меняется с температурой, точность подобных устройств невелика, около 4—5%, однако точность может быть значительно улучшена при термостатированни жидкости, протекающей через капилляр.
Дозирующие устройства, используемые в непрерывных автоматических титраторах, бывают двух видов: с постоянной и переменной производительностью.
С постоянной производительностью дозируют обычно исследуемый раствор фои, растворитель и индикатор. Дозаторы переменной производительности чаще всего используются для дозирования титраита.
Требования, предъявляемые к точности дозирующих непрерывных устройств, аналогичны требованиям, предъявляемым к прерывистым дозирующим устройствам.
Наибольшей точностью и стабильностью должны обладать устройства, дозирующие исследуемый раствор, титрант и индикатор.
Менее жесткие требования предъявляются к устройствам, до-аирУющим растворитель и фои.
В качестве дозирующих устройств применяют поршневые, мембранные, плунжерные, перистальтические и некоторые другие насосы с постоянной или переменной производительностью, а также различного вида дроссельные устройства. Ра усмотренное в предыдущем разделе мембранное дозирующее устройство можно рассматривать как дозирующее устройство для непрерывных титраторов. В этом случае вращение распределительных клапанов производится непрерывно, а входные и сливные штуцера попарно объединены между собой. Дозируемая жидкость попеременно подается то в правую, то в левую полость мембраны и также поочередно выдавливается из этих полостей.
Ряд мембранных, а также поршневых и плунжерных дозирующих устройств имеют всасывающие и нагнетательные клапаны. ИХ действие, основанное на создании в рабочей полости попеременно разряжения и давления, ничем не отличается от действия одноименных насосов. Производительность этих устройств зависит от частоты движений поршня, плунжера, мембраны и от объема рабочей полости. При малой производительности эти устройства имеют малую надежность из-за наличия всасывающих и нагнетательных клапанов. В связи с этим за последние годы появилось значительное количество бесклапанных дозаторов малых расходов, два вида которых будут рассмотрены ниже.
Перистальтический дозатор малых расходов состоит из пластмассовой упругой трубки /, по которой катается каретка 2 с роликами 3. Вращение каретки производится через ось 4 от электродвигателя. Ролики прижимают трубку* к корпусу 5 и при своем передвижении вдоль трубки создают в ней перемещающуюся камеру. Жидкость в этой камере перегоняется от входного конца трубки к сливиому.
Недостатком подобных насосов является то обстоятельство, что со временем трубка теряет свои упругие свойства и может быть приведена в негодность под действием некоторых реактивов.
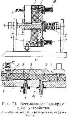
На рис. 21 показан бесклапанный дозатор малых расходов, разработанный в СКВ «Цветметавтоматика». Дозатор имеет неподвижный диск / из нержавеющей стали или титана с концентрическим незамкнутым пазом 2. Паз ограничен скосами с отверстиями 5 и 9, направленными во входной 6 и сливной 7 штуцера. К неподвижному диску / прижат пружиной 12 вращающийся диск 5 из фторопласта. На диске 5 укреплены подвижные фторопластовые пальцы 3 и 4, входящие и паз 2 под действием пружин 10 и П. При вращении диска 5 пальцы, в плотно входящие и паз, перегоняют жидкость вдоль паза, засасывая ее через штуцер 6 и выдавливая через штуцер 7. На отрезке своего пути между штуцерами палец покидает полость нагнетания, поднимается по скосу, выходя из паза, а затем по второму скосу вновь опускается в паз, попадая в полость всасывания, Этот дозатор выполнен в двух исполнениях, как дозатор постоянного расхода и как дозатор переменного расхода. В последнем случае диапазон дозирования составляет от О до 15 мл/мин.
Все рассмотренные выше виды дозаторов в зависимости от примененного привода могут быть отнесены либо к дозаторам постоянной, либо к дозаторам переменной производительности.
Дозирующие дроссельные устройства с постоянной производительностью отличаются от описанных ранее, лишь тем, что в них отсутствует запорный электромагнитный клапан на сливной трубке.















