124754 (717449)
Текст из файла
Центробежные насосы
В результате воздействия рабочего колеса жидкость выходит из него с более высоким давлением и большей скоростью, чем при входе. Выходная скорость преобразуется в корпус насоса в давление перед выходом жидкости из насоса. Преобразование скоростного напора в пьезометрический частично осуществляется в спиральном отводе 1 (см. рисунок 1) или направляющем аппарате 3. Несмотря на то что жидкость поступает из колеса 2 в канал спирального отвода с постепенно возрастающими сечениями, преобразование скоростного напора в пьезометрический осуществляется главным образом в коническом напорном патрубке 4. Если жидкость из колеса попадает в каналы направляющего аппарата 3, то большая часть указанного преобразования происходит в этих каналах.
рис. 1. Схема насоса со спиральным отводом
a — без направляющего аппарата; б —с направляющим аппаратом
Направляющий аппарат был введен в конструкцию насосов на основании опыта работы гидравлических турбин, где наличие направляющего аппарата является обязательным. Насосы ранних конструкций с направляющим аппаратом назывались турбонасосами.
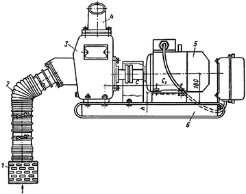
Наиболее распространенным типом центробежных насосов являются одноступенчатые насосы с горизонтальным расположением вала и рабочим колесом одностороннего входа. На рисунке 2 показана насосная установка, состоящая из центробежного насоса 3 типа НЦС, электродвигателя 5, служащего приводом для насоса и смонтированного вместе с ним на раме 6.
ис. 2. Схема центробежного самовсасывающего насоса НЦС-1
Этот насос применяется в основном для откачивания чистой воды при разработке котлованов под фундаменты и траншеи, также для других подобных работ в различных отраслях промышленности и строительства. Насос оборудован всасывающим рукавом 2, снабженным фильтром 1 и напорным патрубком 4. Привод насосов этого типа, помимо электродвигателя, может осуществляться бензиновыми двигателями внутреннего сгорания.
Характеристика насоса НСЦ-1 приведена на рисунке 3.
Рис. 3. Характеристика насоса НЦС-1
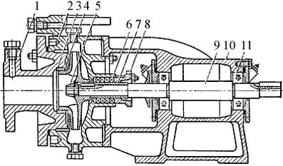
Одноступенчатые насосные установки могут быть оборудованы насосами консольного типа — типа К (см. рисунок 4) с приводом от электродвигателя через соединительную муфту, предназначенными для подачи чистой воды и других малоагрессивных жидкостей.
Насос типа К состоит из корпуса 2, крышки 1 корпуса, рабочего колеса 4, узла уплотнения вала и опорной стойки. Крышка корпуса отлита за одно целое со всасывающим патрубком насоса. Рабочее колесо закрытого типа закреплено на валу 9 насоса с помощью шпонки и гайки 5. У насосов мощностью до 10 кВт рабочие колеса неразгруженные, а у насосов мощностью 10 кВт и выше разгруженные от осевых усилий. Разгрузка осуществляется через разгрузочные отверстия в заднем диске рабочего колеса и уплотнительный поясок на рабочем колесе со стороны узла уплотнения. Благодаря разгрузке снижается давление перед узлом уплотнения вала насоса.
Рис. 4. Схема консольного насоса одностороннего всасывания типа К
Для увеличения ресурса работы насоса корпус (только у насосов мощностью 10 кВт и выше) и сменные корпуса (у всех насосов) защищены сменными уплотняющими кольцами 3. Небольшой зазор (0,3— 0,5 мм) между уплотняющим кольцом и уплотнительным пояском рабочего колеса препятствует перетоку перекачиваемой насосом жидкости из области высокого давления в область низкого давления, благодаря чему обеспечивается высокий КПД насоса.
Для уплотнения вала насоса применяют мягкий набивной сальник. Для повышения ресурса работы насоса и предотвращения износа вала в зоне узла уплотнения на вал надета сменная защитная втулка 7. Набивка сальника 6 поджимается крышкой сальника 8. Опорная стойка представляет собой опорный кронштейн 10, в котором в шарикоподшипниках 11 установлен вал насоса. Шарикоподшипники закрыты крышками. Смазка шарикоподшипников консистентная.
Рабочие колеса одностороннего всасывания подвержены воздействию осевой силы, которая направлена в сторону входа жидкости в рабочее колесо. Осевая сила возникает из-за того, что расположенная против входного сечения колеса площадь A1 = π D12 / 4 передней стороны заднего диска находится под действием давления всасывания р1, а также по величине площадь задней стороны этого диска — под давлением нагнетания р2.
Осевая сила Т может быть вычислена из уравнения
T = π / 4 (D12 - Ds2)(p2 - p1).
где D1 — диаметр входа в рабочее колесо; Ds — диаметр вала.
В действительности осевая сила несколько меньше, чем вычисленная по этой формуле. Это объясняется тем, что, во-первых, разность давлений p2 p1 меньше, чем полный напор насоса, так как жидкость за колесом находится во вращении, и, во-вторых, в связи с изменением направления движения жидкости в рабочем колесе от осевого к радиальному возникает противоположно направленное осевое усилие. Однако разгружающая осевая сила существенно мала по сравнению с той, которая возникает под действием разности давления на задний диск рабочего колеса.
Если в одноступенчатых насосах одностороннего всасывания осевая сила может быть надежно воспринята упорным подшипником, то это будет самым экономичным решением. В противном случае необходимо принять меры для уменьшения осевой силы, действующей на упорный подшипник. Это уменьшение может быть достигнуто только при понижении КПД насоса.
Обычно применяют один из двух методов устранения или уменьшения осевой силы. По первому методу за рабочим колесом располагают камеру 4 (см. рисунок 5), отделенную от напорной полости уплотнительными кольцами с малым радиальным зазором. Камера сообщается с входной полостью 1 рабочего колеса 2 через отверстия 5, просверленные в заднем диске 3. В некоторых случаях разгрузочную камеру 4 с помощью канала 6 сообщают с входным патрубком. Устройство специального канала, соединяющего разгрузочную камеру с входным патрубком, является лучшим решением, чем сверление отверстий в диске колеса, так как струя жидкости, выходящая через эти отверстия, направлена против потока на входе в рабочее колесо и нарушает его.
Рис. 5. Схема возможной разгрузки рабочего колеса от осевого усилия
При втором методе уравновешивания осевой силы применяют ребра, расположенные с наружной стороны заднего диска. При вращении рабочего колеса вследствие наличия ребер снижается давление в полости между колесом и корпусом. На рисунке 6 изображены характерные кривые осевой силы для неуравновешенного колеса (кривая 1), для колеса с разгрузочной камерой у заднего диска и девятью отверстиями диаметром 10 мм в ступице (кривая 2) и ребрами на заднем диске (кривая 3).
Как видно из графиков, изображенных на рисунке, второй метод является более дешевым и эффективным по сравнению с первым; при этом увеличение мощности соответствует мощности, теряемой в обычных условиях из-за утечек.
Рис. 6. График изменения осевой силы
Однако самым эффективным способом разгрузки ротора одноступенчатого насоса от осевого усилия является применение насосов с колесами двустороннего всасывания — типа Д (см. рисунок 7), у которых благодаря симметрии не возникает осевого усилия. У этих насосов имеется раздваивающийся полуспиральный подвод 3. В рабочем колесе 1 эти потоки соединяются и выходят в общий спиральный отвод. Разъем корпуса насоса горизонтальный, благодаря чему обеспечивается возможность вскрытия, осмотра, ремонта, замены отдельных деталей и всего ротора без демонтажа трубопроводов (напорный и всасывающий патрубки подсоединены к нижней части корпуса). Вал насоса защищен от износа закрепленными на валу сменными втулками. Эти же втулки крепят рабочее колесо в осевом направлении. Сальники, уплотняющие подвод насоса, имеют кольца гидравлического затвора 2. Жидкость подводится к ним под давлением из отвода насоса по трубам. Радиальная нагрузка ротора воспринимается подшипниками скольжения. Для фиксации вала в осевом направлении и восприятия осевого усилия, которое может возникнуть при неодинаковом изготовлении или износе одного из уплотнения рабочего колеса, в левом подшипнике имеются радиально-упорные шарикоподшипники 4. Насосы двухстороннего всасывания имеют большую высоту всасывания, чем насосы одностороннего всасывания при тех же подаче и частоте вращения вала.
Рис. 7. Одноступенчатый насос двустороннего всасывания
Одноступенчатые насосы имеют ограниченный напор. Поэтому когда необходимый напор насоса не может быть создан достаточно экономично одним рабочим колесом, в конструкции многоступенчатого насоса применяют ряд последовательно расположенных колес. Схема многоступенчатого секционного центробежного насоса показана на рисунке 8. Каждая ступень такого насоса состоит из рабочего колеса 1 и направляющего аппарата 2, который направляет поток к следующему рабочему колесу. В таком насосе напор повышается пропорционально числу колес.
Рис. 8. Схема многоступенчатого секционного центробежного насоса
На рисунке 9 изображен разрез многоступенчатого питательного турбонасоса секционного типа. Поток жидкости из всасывающей секции 1, проходя через четыре промежуточные секции 2, попадает в напорную секцию 3. Осевое усилие воспринимается гидравлическим разгрузочным устройством.
Рис. 9. Питательный турбонасос
Задача уравновешивания осевых сил для многоступенчатых насосов является особенно важной из-за более высоких напоров этих насосов и суммирования осевых сил, действующих на отдельные ступени. Одним из способов уравновешивания осевых сил многоступенчатых насосов (см. рисунок 10) является применение самоустанавливающейся гидравлической пяты. Принцип работы этой пяты состоит в следующем. Все рабочие колеса расположены так, что поток при входе в них направлен в одну и ту же сторону. За колесом последней ступени находится разгрузочная камера, сообщаемая через патрубок с полостью всасывания, находящейся перед первым колесом. Осевая сила стремится переместить ротор, а следовательно, и гидравлическую пяту в сторону всасывающего патрубка. При этом осевой зазор между гидравлической пятой и торцом втулки уменьшится, вследствие чего уменьшится давление в разгрузочной камере. Тогда под действием полного давления пята начнет перемещаться в обратную сторону до тех пор, пока не наступит равновесие сил, действующих на гидравлическую пяту.
Рис. 10. Секционный насос с разгрузочной пятой
1 — всасывающая секция; 2 — стягивающий болт; 3 — промежуточные секции; 4 — напорная секция; 5 — соединительный патрубок; 6 — гидравлическая пята; 7 — втулка; 8 — сверление для подачи воды из первой ступени
В ряде случаев для разгрузки насосов от осевого усилия используются многоступенчатые насосы со встречным расположением колес. На рисунке 11 изображен двухступенчатый спиральный насос. Жидкость поступает из первой ступени во вторую по внутреннему каналу. Разъем корпуса продольный. Напорный и всасывающий трубопроводы присоединены к нижней части корпуса, что облегчает осмотр и ремонт насоса. Уплотняющие зазоры рабочих колес выполнены между сменными уплотняющими кольцами, защищающими корпус и рабочие колеса от износа. Фиксация ротора в осевом направлении осуществляется радиально-упорными шарикоподшипниками, расположенными в правом подшипнике. Расположенный со стороны всасывания сальник имеет кольцо гидравлического затвора, к которому жидкость подводится по трубке, идущей из отвода первой ступени. Сальник, расположенный справа, уплотняет подвод второй ступени. Жидкость подводится под напором, создаваемым отводом первой ступени.
Рис. 11. Двухступенчатый насос с встречным расположением рабочих колес
В теплоэнергетике для обеспечения энергетического цикла используют более 20 различных видов насосов. Насосное оборудование теплоэлектростанций среди вспомогательного оборудования занимает первое место.
Если в качестве основного признака принять назначение насоса, то насосы можно разделить на две группы:
Характеристики
Тип файла документ
Документы такого типа открываются такими программами, как Microsoft Office Word на компьютерах Windows, Apple Pages на компьютерах Mac, Open Office - бесплатная альтернатива на различных платформах, в том числе Linux. Наиболее простым и современным решением будут Google документы, так как открываются онлайн без скачивания прямо в браузере на любой платформе. Существуют российские качественные аналоги, например от Яндекса.
Будьте внимательны на мобильных устройствах, так как там используются упрощённый функционал даже в официальном приложении от Microsoft, поэтому для просмотра скачивайте PDF-версию. А если нужно редактировать файл, то используйте оригинальный файл.
Файлы такого типа обычно разбиты на страницы, а текст может быть форматированным (жирный, курсив, выбор шрифта, таблицы и т.п.), а также в него можно добавлять изображения. Формат идеально подходит для рефератов, докладов и РПЗ курсовых проектов, которые необходимо распечатать. Кстати перед печатью также сохраняйте файл в PDF, так как принтер может начудить со шрифтами.















