124692 (717426)
Текст из файла
Реферат
На тему:
"УСТРОЙСТВА АВТОМАТИЧЕСКОГО РЕГУЛИРОВАНИЯ ВОЗБУЖДЕНИЯ СИНХРОННЫХ МАШИН"
По дисциплине:
"Автоматика в электрических системах"
2008
Содержание
1. Общие сведения об устройствах автоматического регулирования возбуждения синхронных машин 3
2. Устройство токового компаундирования 5
3. Электромагнитный корректор напряжения 7
Список использованной литературы 10
1. Общие сведения об устройствах автоматического регулирования возбуждения синхронных машин
Напряжение является показателем качества электроэнергии. Отклонение напряжения в ту или иную сторону от номинального значения ухудшает условия работы энергоприемников потребителей: снижается производительность механизмов и КПД установок, сокращается срок службы электрооборудования, появляется брак выпускаемой продукции и прочее. Поэтому в нормальном режиме работы системы электроснабжения допускается отклонение напряжения у потребителей не более чем на ±5% номинального значения. В ненормальном (послеаварийном) режиме работы допускается снижение напряжения не более чем на 10% номинального.
Напряжение зависит от различных факторов, воздействуя на которые, можно поддерживать заданное его значение.
Напряжение на шинах низшего напряжения приемной подстанции (рис.1.1), т.е. на шинах, от которых получают питание потребители:
, (1.1)
где UЭС - напряжение на шинах высшего напряжения электростанции; Р, Q - активная и реактивная мощности, поступающие к подстанции; R, х - активное и реактивное сопротивления линии и трансформатора приемной подстанции; nт - коэффициент трансформации понижающего трансформатора.
Из (1.1) видно, что напряжение UП зависит от напряжения на шинах электрической станции, перетока мощности по ВЛ и коэффициента трансформации трансформатора понижающей подстанции. Следовательно, воздействовать на напряжения у потребителей можно, изменяя: напряжение на шинах электростанции UЭС; реактивную мощность Q, передаваемую по линии; коэффициент трансформации nт трансформатора понижающей подстанции.
Р
исунок 1.1 – Схема электроснабжения
Регулировать значение UЭС и изменять значение Q можно путем изменения тока возбуждения генераторов станции, а также синхронных компенсаторов и двигателей системы электроснабжения. Эту задачу выполняют устройства автоматического регулирования возбуждения (АРВ) синхронных машин.
Устройства АРВ могут быть выполнены на основе двух различных принципов автоматического управления. Первый принцип предусматривает создание разомкнутой автоматической системы управления, т.е. системы управления по возмущающему воздействию. Применительно к АРВ синхронных машин это означает, что возбуждение машины автоматически изменяется в зависимости от значения параметра возмущающего воздействия, влияющего на напряжение на зажимах машины. Если, например, в качестве возмущающего воздействия на вход АРВ подается значение тока статора Iст, то АРВ носит название токового компаундирования. Если в качестве возмущающих воздействий учитываются ток статора и фазовый сдвиг тока статора по отношению к напряжению статора, то имеет место фазовое компаундирование синхронной машины.
В соответствии со вторым принципом АРВ выполняется в виде замкнутой автоматической системы управления и представляет собой регулятор по отклонению напряжения, который реагирует на разность фактического и заданного значений напряжения статора синхронной машины и, воздействуя на систему возбуждения машины, стремится свести эту разность к нулю.
АРВ синхронной машины представляет собой, как правило, совокупность устройства компаундирования и регулятора (или корректора) напряжения.
2. Устройство токового компаундирования
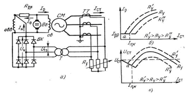
Рисунок 2.1 – Принципиальная схема токового компаундирования (а); характеристика компаундирования (б) и внешняя характеристика (в) компаундированной машины.
Напряжение на шинах синхронной машины Uст, работающей с перевозбуждением, т.е. в режиме выдачи реактивной мощности, снижается по мере увеличения тока статора Iст.
Поскольку значение ЭДС Eq пропорционально току возбуждения, то, изменяя в соответствии с изменением тока статора ток ротора машины, можно поддерживать значение Uст приблизительно постоянным независимо от значения тока Iст. Эту задачу и выполняет устройство токового компаундирования (УТК) (рис.2.1), которое состоит из выпрямителя ВК, подключенного через трансформатор Т ко вторичным цепям трансформаторов тока ТТ, установленных в статорной цени регулируемой синхронной машины. Напряжение на выходе Т может изменяться путем изменения установочного сопротивления Ry. Выпрямленное напряжение UK на выходе устройства токового компаундирования, пропорциональное току статора, подводится к обмотке возбуждения овв возбудителя Вб.
Зависимость напряжения UK от тока Iст регулируемой машины может быть представлена следующим образом:
, (2.1)
где К1, nTB - коэффициенты трансформации соответственно ТТ и ТВ; βBK = Uk/Utb - коэффициент преобразования выпрямителя ВК.
Если
,(2.2)
где Rовв - сопротивление овв; IВ,0 - ток в овв, соответствующий холостому ходу синхронной машины, то в обмотке возбуждения возбудителя проходит ток IК от устройства токового компаундирования.
Зависимость тока Iр ротора от тока Iст статора (нагрузки) компаундированной синхронной машины (характеристика компаундирования), а также внешняя характеристика компаундированной синхронной машины, поясняющие работу УТК, представлены на рис.2.1, б, в. Точка а этих характеристик соответствует значению тока статора IП, К, при котором начинает выполняться условие (2.2). Ток IП, К называется порогом компаундирования и изменяется с изменением сопротивления установочного резистора Ry. При токе нагрузки компаундированной машины ICT
Необходимые изменения характеристики компаундирования и внешней характеристики компаундированной машины могут производиться путем изменения сопротивлений RPB (изменение IPO и Uст,o) и Ry (изменение IП, К), т. e. регулировочного и установочного сопротивлений. Однако внешняя характеристика компаундированной машины нестабильна и изменяется с изменением cosφ. Следовательно, cosφ наряду с Iст является возмущающим воздействием, которое в токовом компаундировании не учитывается.
Настройка устройства токового компаундирования, при которой напряжение компаундированной машины при Iст = 0, а также при Iст=Icт, ном и cosφ = cosφном равно номинальному напряжению Uст, ном машины, носит название нормальной настройки компаундирования.
Основным достоинством устройства токового компаундирования является его быстродействие, т.е. обеспечение быстрого возрастания тока возбуждения при глубоких посадках напряжения, вызванных КЗ. Недостаток заключается в малой точности регулирования напряжения, так как данным АРВ не учитывается ряд факторов (например, коэффициент мощности, частота вращения ротора, сопротивление обмотки ротора и др.), существенно влияющих на напряжение.
3. Электромагнитный корректор напряжения
Напряжение на шинах компаундированной синхронной машины нестабильно и зависит от тока статора и от cosφ. Поэтому устройство токового компаундирования дополняется корректором напряжения, т.е. регулятором по отклонению напряжения, задачей которого является поддержание стабильного значения напряжения на шинах компаундированной машины.
Широкое распространение получил электромагнитный корректор напряжения, выполненный на статических элементах (дроссели, трансформаторы, магнитные усилители, полупроводниковые вентили и пр), что обеспечивает его высокую надежность.
Рисунок 3.1 – Структурная схема электромагнитного корректора напряжения.
Структурная схема электромагнитного корректора (рис.3.1) содержит измерительный орган ИО, магнитный усилитель МУ и выпрямитель В, на выход которого подключается обмотка возбуждения возбудителя овв. При отклонении напряжения синхронной машины от заданного значения на выходе ИО появляется сигнал, пропорциональный значению этого отклонения, МУ усиливает этот сигнал, и выходной ток корректора Iрег изменяет возбуждение синхронной машины в сторону уменьшения отклонения напряжения. Корректор напряжения по принципу действия является статическим, т.е. он уменьшает отклонение регулируемого напряжения синхронной машины от заданного значения, но не сводит его к нулю, так как выходной ток корректора имеет место только при наличии сигнала на выходе ИО.
Статизм регулирования уменьшается с увеличением коэффициента усиления усилителя регулятора (в нашем случае МУ корректора). Однако при этом возникает опасность неустойчивой работы регулятора, что может потребовать принятия специальных мер по сохранению, устойчивости регулирования, например введения в схему регулятора звена гибкой отрицательной обратной связи.
Измерительный орган ИО рассматриваемого корректора состоит из двух элементов - линейного ЛЭ и нелинейного НЭ, подключенных к выходу установочного автотрансформатора УАТ, получающего питание от трансформатора напряжения ТН.
Выходным сигналом ИО является разность токов
Iио=Iлэ-Iнэ. (3.1)
Значение Iио=0 только при единственном значении UYAT=0. При UYAT
Ток Iио является входным сигналом МУ. Если выходной ток корректора IРЕГ увеличивает возбуждение синхронной машины, то корректор напряжения носит название согласованного. В противном случае корректор называется противовключенным. Совокупность согласованного и противовключенного корректоров образует регулятор напряжения, называемый двухсистемным корректором. При двухсистемном корректоре целесообразна нормальная настройка компаундирования синхронной машины.
АРВ, представляющие совокупность устройства токового компаундирования и электромагнитного корректора напряжения, нашли широкое применение. Ими оборудуются синхронные машины, имеющие электромашинную систему возбуждения. К ним относятся турбогенераторы и гидрогенераторы мощностью до 100 МВт, а также синхронные компенсаторы мощностью до 75 MB-А. Для турбогенераторов используется токовое компаундирование с односистемным, а для гидрогенераторов и синхронных компенсаторов, как правило, с двухсистемным корректором.
Список использованной литературы
-
Кривенков В. В, Новелла В.Н. Релейная защита и автоматика систем электроснабжения: учебн. пособие для вузов. – М.: Энергоиздат, 1981.328 с., ил.
-
Чернобровов Н.В. Релейная защита. Учебное пособие для техникумов. Изд.5-е, перераб. И доп.М., "Энергия", 1974.
Характеристики
Тип файла документ
Документы такого типа открываются такими программами, как Microsoft Office Word на компьютерах Windows, Apple Pages на компьютерах Mac, Open Office - бесплатная альтернатива на различных платформах, в том числе Linux. Наиболее простым и современным решением будут Google документы, так как открываются онлайн без скачивания прямо в браузере на любой платформе. Существуют российские качественные аналоги, например от Яндекса.
Будьте внимательны на мобильных устройствах, так как там используются упрощённый функционал даже в официальном приложении от Microsoft, поэтому для просмотра скачивайте PDF-версию. А если нужно редактировать файл, то используйте оригинальный файл.
Файлы такого типа обычно разбиты на страницы, а текст может быть форматированным (жирный, курсив, выбор шрифта, таблицы и т.п.), а также в него можно добавлять изображения. Формат идеально подходит для рефератов, докладов и РПЗ курсовых проектов, которые необходимо распечатать. Кстати перед печатью также сохраняйте файл в PDF, так как принтер может начудить со шрифтами.















