124669 (717419), страница 2
Текст из файла (страница 2)
Рис. 2.3. Схеми з'єднання фаз обмотки статора
а — зіркою; б — трикутником.
Ротор асинхронного двигуна (рис. 2.4. ) складається з таких частин: стального циліндра, складеного із штампованих, ізольованих один від одного, листів електротехнічної сталі; вала ротора, на якому закріплено стальний циліндр ротора, підшипників, вентилятора. Залежно від типу обмотки ротори поділяються на короткозамкнені та фазні. У пази короткозамкнених роторів укладено стержні із струмопровідного матеріалу, які з торців замикаються кільцями, утворюючи так зване біляче колесо. У пази фазного ротора укладено провідники секцій трифазної обмотки, які з'єднують зіркою.
Трифазний струм, що проходить через обмотку статора асинхронного двигуна, створює обертове магнітне поле, яке перетинає провідники обмотки ротора, індукує в них є. р. с. У провідниках замкненої обмотки протікають струми і2. При взаємодії цих струмів та обертового магнітного поля виникають електромагнітні сили, які за правилом лівої руки спрямовані в бік обертання поля статора. Ротор починає рухатися в бік руху магнітного поля. Швидкість обертання ротора менша за швидкість обертання магнітного поля. Це можна пояснити так: якщо б ротор обертався із швидкістю поля, то через відсутність відносного руху провідників обмотки ротора та обертового магнітного поля останнє не перетинало б провідників обмотки ротора, у них не індукувалися б е. р. с і небуло б струмів, а це означає, що електромагнітний момент дорівнював би нулю. Отже, обертове магнітне поле і ротор асинхронного двигуна принципово обертаються з різними швидкостями — асинхронно, що і визначило назву машини.
Рис. 2.4. Ротор асинхронного двигуна:
а — обмотка короткозамкненого ротора;
б — схематичне зображення обмоток фазного ротора.
2.2 Експлуатація електродвигунів
Експлуатація електродвигунів складається із слідуючих основних елементів: нагляду, своєчасного виявлення несправностей та їх усунення; профілактичних випробувань; пуску та зупинки.
Перевірка температури нагріву. Під час роботи двигунів перевіряють температуру їх нагріву. У двигунів потужністю до 100квт нагрів статора перевіряють дотиком. Нагрів електродвигунів потужністю більш ніж 100квт контролюють по термометру, встановленому на корпусі статора, або по термоопору, закладеному в обмотку двигуна.
Для контролю за пуском і навантаженням у двигунів потужністю 40квт та вище встановлюють амперметри. На шкалі амперметра червоним підкреслено величину номінального струму електродвигуна плюс 5%.
На зборках або групових щитках, до яких під’єднані електродвигуни, повинні бути вольтметри або сигнальні лампи для контролю наявності напруги.
Двигун слід завжди тримати в чистоті. Усі зайві предмети (ганчірки, куски металу та проводів) необхідно прибрати. Поруч із двигуном не повинно бути займаючихся матеріалів (бензин, олива та ін.) які можуть призвести до пожежі.
Догляд за підшипниками. для нормальної роботи двигуна його підшипники ковзання потрібно тримати у чистоті. Для цього кришки підшипників щільно закривають. Олива, що застосовується для змазування підшипників, не повинна вміщувати кислоту або смолу.
Для нормальної роботи підшипників з кільцевим змащуванням необхідно не менш двох разів за зміну перевіряти обертання кілець і чистоту оливи.
Перед заміною змазки підшипники промивають керосином, продувають повітрям, промивають тією маркою оливи що застосовується для даних підшипників, а після цього заливають свіжу оливу.
Якщо підшипники працюють нормально і не нагріваються, то огляд і заміна оливи здійснюється при чергових ремонтах, а також по мірі необхідності в залежності від стану змащування.
Після зборки підшипникових вузлів перевіряють легкість обертання ротора від руки а потім вмикають електродвигун та обертають його 15 хвилин вхолосту. Якщо стан підшипників нормальний , при прослуховуванні чутний рівномірний гул без стуків та ударів.
Однією з основних причин несправностей підшипників кочення являється їх перегрів.
Надмірний нагрів підшипників може відбуватися в результаті неправильного збирання, тугої посадки зовнішнього кільця підшипника у підшипниковому щиті, а також при відсутності осьового зазору в одному з підшипників, необхідного для компенсації температурного розширення вала при роботі машини. щоб встановити нормальний осьовий зазор, необхідно проточити бортик кришки підшипника або встановити прокладки між його кришкою та корпусом. Іноді в підшипниках виникає ненормальний шум, що супроводжується підвищенням температури. Це може бути результатом поганого відцентрування двигуна, забруднення підшипників, великого зношування окремих деталей (кульок, роликів) та нещільної посадки внутрішнього кільця на вал.
Якщо в підшипники закладено змазки більше ніж потрібно, або її марка не відповідає температурі навколишнього середовища і при цьому ущільнення недостатні, тоді з підшипників при роботі двигуна буде виходити змазка.
2.3 Розбирання електричних машин
Розбирання більшості електричних машин починається з видалення пів муфти з вала за допомогою ручного або гідравлічного знімача.
Знімач з регульованим розкриттям тяг (Рис. 2.5, а), дозволяє знімати з валу пів муфти різних діаметрів. Розкриття та фіксування тяг відбувається за допомогою регулювальної гайки 2, що навернута на різьбу гвинта 1. Тягове зусилля, що створюється за допомогою ручного знімача являється складною операцією, що потребує значних фізичних зусиль, тому для демонтажу півмуфт, які не піддаються стягуванню, застосовують гідравлічний знімач.
Гідравлічний знімач (Рис. 2.5, б), представляє собою встановлений на колесах майданчик 4 з двома стійками 5, на яких вертикально переміщується гідравлічний плунжерний насос 8. Щоб зняти півмуфту, встановлюють та закріплюють болтами на корпусі насоса траверси 6, між якими також болтами закріплюють захвати 7.
Рис. 2.5. Знімачі для стягування (розпресовування) півмуфт і підшипників кочення з валів електричних машин
а – гвинтовий знімач з регульованим розкриттям тяг, б – гідравлічний знімач, в – знімач для стягування підшипників кочення захватом за підшипник, г - знімач для стягування підшипників кочення захватом болтами за кришки або капсули підшипника; 1 – черв’ячний гвинт з головкою, 2 – регулювальна гайка, 3 – тяги, 4 – майданчик, 5 – стійка, 6 – траверси, 7 – захвати, 8 – плунжерний насос, 9 – рукоятка штока насоса, 10 – пластинка зі штифтами, 11 – шпильки, 12 – плита, 13 – диск, 14 – корпус знімача
Розділ IІІ. Будова і принцип дії апаратури управління
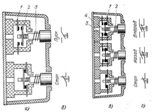
Двокнопкова станція (мал. 2.6,а) складається із кнопки ПУСК і СТОП з нерухомими контактами 1 і рухливими 2. При натисканні на кнопку ПУСК відбувається замикання контактів, СТОП — розмикання контактів. Під впливом пружини 3 при відпусканні кнопки контактна система займає вихідний стан.
Рис. 2.6.
Трьохкнопкова станція (Рис. 2.6, в) складається із трьох кнопок: ВПЕРЕД, НАЗАД, СТОП. Кнопки ВПЕРЕД та НАЗАД мають по дві пари контактів — пару замикаючих 1 і пару розмикальних 3. При натисканні кнопки контактний місток 4 спочатку розмикає ланцюг розмикальних контактів, а потім замикає замикаючі контакти. У вихідне положення контактні системи вертаються пружиною 2. На рис. 2.6,б і г наведені умовні графічні позначення кнопок на принципових схемах.
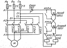
Схема керування трифазним асинхронним електродвигуном за допомогою контактора (рис. 2.7.) складається із двох частин - силового ланцюга (товсті лінії) і ланцюга керування (тонкі лінії). У силовий ланцюг послідовно в кожну фазу включені головні контакти контактора й обмотки мотора. У ланцюг керування який підключено на лінійну напругу живильної мережі, входять послідовно з'єднані кнопки SBS ПУСК і SBT СТОП і обмотка контактора КМ1. При натисканні кнопки ПУСК утворюється ланцюг керування: фаза А - Обмотка КМ1 — контакти кнопки SBS — контакти кнопки SBT — фаза С.
Головні контакти КМ1.1, КМ1.2 замикаються, і на обмотки електродвигуна подається трифазна напруга. Щоб двигун не зупинився при відпусканні кнопки ПУСК, паралельно підключені блокувальні контакти KM1.4. зупинка виконується натисканням кнопки СТОП, тобто розмиканням кола керування.
Рис. 2.7.
Реверсування електродвигунів (Рис. 2.8). Виконується двома контакторами й трьохкнопковою станцією. При одночасному спрацьовуванні двох пускачів відбувається коротке замикання між фазами А та С контактні системи пускачів виходять із ладу. Тому в реверсивних схемах запуску застосовують механічні й електричні блокування. Принцип роботи механічного блокування полягає в наступному. При спрацьовуванні одного з контакторів, що рухаються частини контактної системи другого контактора фіксуються важелем із засувкою або в зазор магнітопроводу вводиться стрижень, що обмежує переміщення контактної системи.
Рис. 2.8.
Магнітні пускачі
Магнітний пускач являється комбінованим апаратом дистанційного керування, що складається із контактора, додаткового теплового реле. Він застосовується для пуску, зупинки та зміни напрямку обертання електродвигуна. В якості апарата захисту він вимикає двигун при недопустимих навантаженнях, а також при відсутності напруги. Найбільш поширені контактори П6 і ПА (Рис. 2. 9.)
Рис. 2.10. Контактор :
1 – стальна скоба, 2 – пластмасова колодка, 3 – осердя, 4 - пружина,
5 – котушка, 6 – головка, 7 – рухомий контакт, 8 – циліндрична контактна пружина, 9 – амортизаційна пружина, 10 - траверса, 11 – плоска пружина, 12 – мостик, 13 – пластина з нерухомим контактом, 14 – гвинт для приєднання проводів(шин) зовнішньої мережі
Для автоматичного вмикання, вимикання або перемикання електричних мереж в залежності від проміжного або кінцевого положень рухомих робочих органів верстата застосовують і кінцеві вимикачі. Вимикач рис. 2.10. має корпус 7 з кришкою 8, в якому на стійці 1 з діелектрика закріплені нерухомі 2 і рухомі мостикові 4 контакти.
Рис. 2.10. Кінцевий вимикач
Список використаної літератури
-
Атабеков В. Б. Ремонт електрооборудования промышленных предприятий: Учебник для сред, проф.-техн. училищ. — 4-е изд., перераб. и доп. — М.: Высш. школа, 1979. — 256 с, ил. — (Профтехобразование. Енергетика).
-
Бондар В. М., Гаврилюк В. А., Духовний А. X. та ін. Практична електротехніка для робітничих професій: Пі-друч. для учнів проф.-навч. закладів з різноманіт. галузей пром.-сті та побут, обслуг.— К.: Веселка, 1997. — 191 с.
-
Егоров Г.П. и Коварский А.И. устройство, монтаж, експлуатация и ремонт промышленных електроустановок.
-
Кокорев А.С. Электрослесарь по ремонту злектрических машин: Учеб. для СПТУ.
-
Фещенко В. Н., Махмутов Р. X.Токарная обработка: Учеб. для ПТУ.— 2-е изд., перераб. и доп.—М.: Высш. шк., 1990.—303 с: ил















