124520 (717377)
Текст из файла
БЕЛОРУССКИЙ ГОСУДАРСТВЕННЫЙ УНИВЕРСИТЕТ ИНФОРМАТИКИ И РАДИОЭЛЕКТРОНИКИ
Кафедра ЭТТ
РЕФЕРАТ
На тему:
"Технология изготовления деталей из керамики"
МИНСК, 2008
В технологии деталей РЭС, говоря о "качестве детали", преимущественно имеют в виду качество поверхности детали.
Под качеством поверхности понимают физико-химическое и геометрическое состояние поверхностного слоя изделия (детали).
Качество поверхности определяют любые физико-химические и физико-механические свойства поверхности, а также ее микро - и макрогеометрия, т.е. отклонение истинной формы поверхности от номинальной.
Геометрические отклонения в зависимости от размеров разделяют на три группы: макронеровности, волнистость и шероховатость (микронеровности).
Макронеровности – это единичные, не повторяющиеся регулярно отклонения от номинальной формы. Например овальность, эллипсность, конусность, бочкообразность, вогнутость. Они характеризуются отношением Т1 / Н1≈1000. Причина их возникновения – погрешность обработки заготовок.
Волнистость характеризуется совокупностью периодически повторяющихся и близких по размерам чередующихся выступов и впадин. Возникает волнистость вследствие вибрации станка, приспособления, инструмента и заготовки; неравномерности процесса обработки; различного характера пластических деформаций и т.д. Для волнистости характерно отношение Т2 / Н2 ≈ 30 – 1000.
Шероховатостью называют микронеровности поверхности. Они характеризуются чередованием выступов и впадин с параметрами Т3 / Н3 ≈ 0 – 30. Шероховатость возникает из-за вибрации заготовки и инструмента, налипания частиц металла на обрабатывающий инструмент, от состояния и формы инструментов и др.
Требования к шероховатости поверхности и параметры шероховатости устанавливает ГОСТ 2789–73 "Шероховатость поверхности. Параметры и характеристики".
Шероховатость поверхности в соответствии с ГОСТ 2789–73 измеряется на участках базовой длины l и определяется следующими основными параметрами:
Ra – среднее арифметическое отклонение профиля;
Rz – высота неровностей профиля по десяти точкам;
Rmax – наибольшая высота неровностей профиля;
Sm – средний шаг неровностей профиля по средней линии;
S – средний шаг неровности профиля по вершинам.
Среднее арифметическое отклонение профиля Ra определяется как средняя арифметическая высота неровностей на базовой длине l:
(1)
С определенной степенью точности Ra можно найти делением суммы высот от точек профиля до средней линии m на число взятых высот без учета знаков:
. (2)
Высота неровности профиля по десяти точкам Rz определяется как среднее расстояние между пятью высшими точками выступов и пятью низшими точками впадин, отсчитанных от средней линии без учета знака:
. (3)
Средняя линия m профиля есть базовая линия, имеющая форму номинального профиля и проведенная так, что в пределах базовой длины среднее квадратическое отклонение профиля до этой линии минимальное.
Средняя линия имеет форму геометрического профиля: для плоскости–прямая, для шара – окружность и т.д.
Параметр Rz можно определять также от произвольной линии P, проведенной параллельно средней линии:
. (4)
Параметр Rmax представляет собой максимальную высоту неровностей профиля и равен расстоянию от линии выступов до линии впадин.
Ra, Rz, Rmax являются высотными параметрами.
Шаговые параметры S и Sm характеризуют геометрическую форму профиля и определяются как среднее значение:
,(5)
. (6)
Величина, форма и шаг микронеровностей зависят от методов изготовления, режимов техпроцесса и других факторов.
Физико-механические характеристики поверхностного слоя в общем случае отличаются от аналогичных характеристик основного материала. К примеру, в литых заготовках это проявляется в различии кристаллического строения поверхностных и внутренних слоев. В механически обработанных деталях – в различной прочности, твердости и других характеристиках, обусловленных воздействием сил резания на материал поверхностного слоя.
Качество поверхностей деталей имеет важное значение в решении общей проблемы повышения качества и надежности изделий в целом. Это обусловлено тем, что в процессе эксплуатации именно поверхностный слой в первую очередь подвергается внешним воздействиям: в нем начинаются механическое и коррозионное разрушения, зарождаются усталостные трещины, происходит износ трущихся поверхностей.
Характеристики поверхности во многом определяют качество и долговечность контактов, электрическую прочность межэлектродных промежутков, надежность герметизации и др.
Следовательно, обеспечение и надежный контроль выполнения технических требований к качеству поверхностей деталей, также как и к их точности, должны являться основными исходными пунктами при разработке любого варианта технологического процесса.
Основными этапами изготовления деталей из керамики являются:
– химический анализ и подготовка исходного керамического сырья;
– тонкий помол и смешивание компонентов;
– формование заготовки изделия;
– механическая обработка необожженных заготовок;
– сушка заготовок;
– обжиг (предварительный и окончательный);
– глазурование;
После обжига в ряде случаев приходится применять механическую обработку. При изготовлении ряда керамических деталей некоторый из этих этапов могут отсутствовать или находиться в другой последовательности.
Химический анализ и подготовка керамического сырья
От качества исходных компонентов существенно зависят свойства керамики и их воспроизводимость. Поэтому необходимо тщательно контролировать и регулировать физико-химические свойства используемых материалов. Однородные по составу сырьевые материалы получить трудно. Поэтому в процессе контроля устанавливается содержание различных примесей, которые не должны превышать установленного предела. После этого следует очистка сырья от различных загрязнение, железистых включений и других примесей. Органические примеси удаляются с помощью предварительного обжига.
В качестве основных сырьевых материалов для изготовления дешевых керамических изделий электронной техники, к электрофизическим параметрам которых предъявляются не высокие требования, используются традиционные материалы (глина, каолин и др.). К ним применяют упрощенные способы очистки для удаления загрязнений, попадающих в массу при технологической переработке (промывка раствором соляной кислоты, электромагнитная сепарация, водная промывка, гидравлическая сепарация тяжелыми жидкостями, флотационное обогащение).
Основные исходные компоненты, предназначенные для изготовления ответственных изделий ЭТ, представляют собой химические реактивы высокой чистоты (окись циркония, кварцу, окись титана, различные карбиды металлов IV и VI групп и т.д.). Основное требование к ним – стабильность химического состава и стабильность физико-химического состояния. В большинстве случаев поставляемые материалы не соответствуют требованиям керамического производства. Поэтому в технологии керамического производства в этих случаях включают процессы предварительной термообработки исходных материалов (прокаливание до определенных температур, иногда плавление) и эффективны методы точного измельчения.
Затем сырье подвергают грубому дроблению вначале на гинековых или валковых дробилках, а затем на бегунах с подвижным поддоном. При этом производится обработка каждого отдельного компонента (каолин, кварц, тальк, окись циркония, глина, мрамор и т.д.).
Рис.1. Бегуны для грубого дробления керамического сырья
Далее следует просеивание материала через сито и очистка фракций от металлических частиц.
Рис.2. Установка для магнитной сепарации сухого керамического порошка: 1 – бункер; 2 – вращающийся цилиндр из железа; 3 – бункер для очищенного порошка; 4 – наконечник для электромагнита; 5 – бункер для ферромагнитных примесей
Тонкий помол и смешивание компонентов.
Измельчение и одновременное смешивание материалов, в заданных пропорциях производится на вибрационных мельницах. Длительность цикла составляет 30–90 мин. Помол производится с добавкой воды. В бак загружаются материалы и фарфоровые шары диаметром от 20 до 70 мм.
При вибрации шары перемещаются, перетирая массу, которая при этом перемешивается.
Величина частиц материала после такого помола не превышает 1 мкм.
После помола образовавшаяся жидкая масса – называемая шликер – пропускается через магнитный сепаратор для удаления железистых включений и через сито (900–1600 отв/см2) для удаления прочих механических примесей.
Очищенный шликер подвергается уплотнению с целью удаления излишков воды и пузырьков воздуха. Влажность массы шликера доводиться до 22–25%.
Формование заготовок.
Осуществляется одним из следующих способов: сухим прессованием, пластичным прессованием (штамповкой), выдавливанием через мундштук, горячим литьем под давлением.
Сухое прессование применяется для изготовления изделий, относительно большой толщины с незначительными выступами и впадинами (заготовки керамических конденсаторов). Заготовки из влажного шликера высушивают в сушильных шкафах или токами высокой частоты до влажности 4–5%. Затем производится их размельчение и просеивание через сито (64–81 отв/см2). В полученный порошок вводится пластификатор – парафин или водный раствор поливинилового спирта. Массу формуют в металлических пресс-формах на гидравлических или пневматических прессах.
Пластическое прессование (штамповка) применяется, главным образом для изготовления установочных деталей малых размеров, сложной конфигурации и небольшой толщины. Подготовка массы производится также, как и при сухом прессовании. В качестве связки применяется древесная смола или керосин. Влажность порошка доводится до такой степени, при которой давление при штамповке может вызвать некоторую его текучесть. При этом используются высокопроизводительные эксцентриковые прессы. Однако детали после обжига получают большую усадку и пористость.
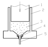
Выдавливание через мундштук применяется для получения керамических деталей удельной формы – трубок, стержней, колодок. Керамическая масса в этом случае должна содержать от 20 до 25% влаги. Для повышения пластичности в неё добавляют декстрин и тунговое масло. Все это многократно пропускается через мешалку для получения однородной массы. Затем масса загружается в мундштучный пресс.
Рис.3. Выдавливание через мундштук: 1 – поршень; 2 – стенка цилиндра;
3 – керамическая масса; 4 – мундштук; 5 – стержень, выдавливаемый из мундштука.
В пустотелый цилиндр загружается керамическая масса. Под действием приложенной силы поршень выжимает массу через мундштук. При этом получается сплошной стержень. Если же будет установлена рамка с сердечником, то получиться трубка.
Горячее литье под давлением позволяет изготавливать детали повышенной точности и сложной формы (например, каркасы катушек). По этому способу суспензия керамического материала со связкой (воск+парафин+олеиновая кислота) разогреваются до 60–100º С и под давлением подается в металлическую форму, из которой после охлаждения извлекается готовая заготовка.
Характеристики
Тип файла документ
Документы такого типа открываются такими программами, как Microsoft Office Word на компьютерах Windows, Apple Pages на компьютерах Mac, Open Office - бесплатная альтернатива на различных платформах, в том числе Linux. Наиболее простым и современным решением будут Google документы, так как открываются онлайн без скачивания прямо в браузере на любой платформе. Существуют российские качественные аналоги, например от Яндекса.
Будьте внимательны на мобильных устройствах, так как там используются упрощённый функционал даже в официальном приложении от Microsoft, поэтому для просмотра скачивайте PDF-версию. А если нужно редактировать файл, то используйте оригинальный файл.
Файлы такого типа обычно разбиты на страницы, а текст может быть форматированным (жирный, курсив, выбор шрифта, таблицы и т.п.), а также в него можно добавлять изображения. Формат идеально подходит для рефератов, докладов и РПЗ курсовых проектов, которые необходимо распечатать. Кстати перед печатью также сохраняйте файл в PDF, так как принтер может начудить со шрифтами.















