123638 (717244), страница 3
Текст из файла (страница 3)
Рисунок 3.11 – Отдувочная колонна
1-штуцер; 2-фланец;3-корпус колоны (1Х18Н1ОТ);4-труба(8х2); 5– корпус соляной ванны; 6 – проволока (Х20Н80); 7–насадка; 8 – изоляция; 9 – расплав соли; 10 – обмазка
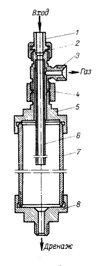
Гидрогенизат из колонны спускается в приспособление непрерывной автоматической выгрузки 16 (рис.3.12) - аппарат на давление 0,15 МПа и температуру 523 К (280°С)
Рисунок 3.12 – Приспособление непрерывной автоматической выгрузки: 1– прокладка (паранит); 2– крышка; 3 – фланец; 4 – колпачок (алюминий); 5 – стакан (стекло молибденовое); 6– корпус; 7 – рубашка; 8 – поплавок (алюминий); 9 – направляющая пружина; 10 – дно; 11 – трубка дренажная; 12 – фильера, выход
Рисунок 3.13 – Сепаратор-конденсатор:1 – конус; 2 – гайка; 3 – тройник; 4 – гайка; 5 – крышка верхняя; 6 – труба;
7 – корпус (1Х18Н10Т); 8 – крышка нижняя
С наружной поверхности по корпусу приварена рубашка 6 для обогрева аппарата водяным паром под давлением 1,2 МПа. Внутри аппарата помещен алюминиевый поплавок, который с повышением уровня открывает отверстие для выгрузки.
Рисунок 3.14 – Фильтр:1 – крышка верхняя; 2 – линза (1Х18Н9Т); 3 – фланец; 4 – труба внутренняя; 5 – перфорированная труба; 6 – корпус (1Х18Н10Т); 7 - днище трубы
После отдувочной колонны сероводород и легкие фракции с отдувочными газами проходят змеевиковый холодильник 14 , изготовленный из трубки диаметром 10X2 мм, длиной 2,4 м из стали 1Х18Н9Т на давление 30 МПа и температуру от 473 до 29 3 К. Теплопередающая поверхность холодильника 0,025 м. Охлажденная смесь поступает в сепаратор-конденсатор 13, (рис. 3.13) для отделения сконденсировавшихся паров нефтепродуктов от газа. Жидкость сливается через дренаж в нижней крышке 8.
Сепаратор объемом 1,7 л изготовлен из трубы (8 3X5, сталь 1Х18Н9Т) и рассчитан на атмосферное давление и температуру 293 К. Циркуляционные газы перед поступлением в реакционное устройство проходят очистку в фильтре и (рис.3.14) аппарате высокого давления объемом 2 л, рассчитанном на давление 30 МПа и температуру 523 К, изготовленном из стали 1Х18Н9Т. Внутри аппарата помещена перфорированная труба с фильтрующим материалом, поверхность фильтрации 0,05 м2. При отдувке диоксидом углерода газ из баллона, пройдя ловушку 17 , сварной аппарат диаметром 100 мм и 250 мм, поступает в отдувочную колонну. Опытная установка, представленная на рис.3.15, имеет реакционное устройство, представляющее собой блок из трех реакторов, в каждом из которых можно вести самостоятельные исследования. При необходимости они могут соединяться последовательно.
Рисунок 3.15 – Технологическая схема установки с блоком реакторов:1 – бехельтер; 2 – регулятор давления; 3,11 – расходомеры; 4 – насос сырьевой; 5 – блок реакторов; 6 – сепаратор высокого давления; 7 – ловушка; 8 – скруббер; 9 – отбойник; 10 – насос циркуляционный
Установка предназначена для проведения опытов по определению оптимальных режимов гидрогенизации нефтепродуктов и по испытанию катализаторов, которое может проводиться на модельном сырье, легких и средних нефтяных фракциях и на тяжелом сырье. Испытание катализаторов включает: определение его стабильности; изучение влияния на качество продукта состава и объемной скорости подаваемого сырья, скорости циркуляции газов, а также оптимальных условий для получения целевого продукта; возможность регенерации катализатора; осернение катализатора. Весь блок реакторов имеет единую систему сероводородной очистки. При раздельной работе реакторов подача сырья и циркулирующего газа обеспечивается самостоятельными плунжерами насосов и отдельными коммуникациями.
Рисунок 3.16 – Блок реакторов:1 – реактор; 2 – ванна; 3 – карман для термопары; 4 – электро-обогрев (проволока, Х20Н80); 5 – ниппель (4Х14Н14В2МА); 6 – корпус (1Х18Н10Т); 7 – фланец; 8 – обтюратор (М-1)
Блок реакторов (рис. 3.16) состоит из реакторов 1 , помещенных в ванну 2, заполненную для лучшего распределения тепла в объеме алюминием или смесью солей (что для работы реакторов лучше, но более опасно). По наружной боковой поверхности ванны размещен трехсекционный электрообогрев. В центре каждой секции на стенке ванны крепятся термопары. Во время работы блока во всех реакторах поддерживают приблизительно одинаковую температуру, соответствующую температуре в ванне, замер производят трехточечной термопарой, помещенной в карман. Термопары всех реакционных аппаратов изготавливают из сплава хромель-алюмель. Карман установлен в центре ванны.
СПИСОК ИСПОЛЬЗОВАННЫХ ИСТОЧНИКОВ
1. Голосов А.П., Пилотные и опытно-промышленные установки высокого давления в нефтепереработке и нефтехимии. М. : Химия, 1987. - 181 с
12
















