123437 (717188)
Текст из файла
1. Основные сведения из теории резания и физические основы резания
Обработка на металлорежущих станках является наиболее распространенным методом формообразования поверхности твердых тел с высокой точностью размеров и низкой шероховатостью. Например, в общей трудоемкости радиотехнических изделий бортового оборудования 20 - 35 % составляет трудоемкость механической обработки. В настоящее время проводится политика замены предварительных операций обработки резанием на более высокопроизводительные методы (обработка давлением, точное литье и др.), чтобы на металлорежущих станках проводить только заключительные операции по изготовлению деталей РЭС с целью дальнейшего снижения затрат труда и материалов на производство РЭС.
В основе процесса резания лежит деформация разрушения поверхностного слоя под действием внешних сил – сил резания.
Процесс удаления слоя материала обрабатываемой поверхности состоит в следующем (рис. 1).
Рис. 1
Под действием силы Р резец 2 в виде клина, передней плоскостью 3 вдавливается в верхний слой материала детали 1 и подвергают его упругой и пластической деформации. Затем, преодолев внутренние силы связи, резец отрывает частицы материала от основной массы путем сдвига по плоскости NN. При движении резца под действием силы Р процесс сдвига совершается непрерывно и с обрабатываемой поверхности удаляется слой материала толщиной z в виде стружки. Плоскость стружки NN и обрабатываемая поверхность расположены под углом ∆, который зависит от физико-механических свойств материала детали и колеблется в пределах 145 - 155о. В процессе резания слой металла, прилегающий к обрабатываемой поверхности, упрочняется и при этом изменяется микро- и макроструктура верхнего слоя, повышается твердость, в нем возникают внутренние напряжения. В верхнем слое обнаруживаются макро- и микротрещины, что приводит к ухудшению физико-механических свойств (образуется дефектный слой на глубине от десятых долей микрометра до десятых долей миллиметра).
Производительность и экономичность процесса резания зависит, помимо материала детали, от свойств материала резца и формы его режущей части. Рациональная форма режущей части резца определяется в основном углами α и γ.
Угол, образованный передней плоскостью резца 3 и плоскостью ММ, перпендикулярной к обрабатываемой поверхности, называется передним углом γ. Угол γ предназначен для улучшения отвода стружки и уменьшения потерь энергии на трение стружки о переднюю плоскость резца.
Угол, образованный задней плоскостью резца 5 и поверхностью обработки 6, называется задним углом α. Он предназначен для уменьшения потерь на трение между этими поверхностями.
Угол, образованный передней 3 и задней 5 плоскостями резца, называется углом заострения β. Рациональные значения углов α и γ зависят от физико-механических свойств обрабатываемых материалов и других факторов. Для различных марок металлов оптимальное значение угла α = 6 - 12о, γ = 10 - 15о, для обработки пластмасс α = 10 - 15о, γ = 15 - 20о.
Для изготовления режущих инструментов применяют материалы с высокой механической прочностью, износостойкостью и теплостойкостью: углеродистые инструментальные стали марок У10А, У11А, У12А; легированные стали 9ХВТ, ХВГ, ХГ, 6ХС, 9ХС; быстрорежущие стали марок Р9, Р12, Р18; металлокерамические твердые сплавы, специальные марки керамики, технические алмазы и другие абразивные материалы; твердые сплавы: вольфрамовые ВК2, ВК3, ВК6; титано-вольфрамовые ТК4В, Т15К6, титано-тантало-вольфрамовые ТТ7К12, ТТ10К8Б.
Из углеродистых инструментальных сталей изготавливаются инструменты, работающие с малыми скоростями резания (метчики, плашки, развертки). Быстрорежущие стали применяются для изготовления различных режущих инструментов с последующей закалкой до твердости HRC 62-64, которую они сохраняют в процессе работы до температуры 615 – 620 оС. Из твердых сплавов изготавливают инструменты, работающие с большими скоростями резания, сохраняющие режущие свойства до температуры 800 – 900 оС. Режущие инструменты на основе твердых сплавов применяют для обработки закаленных сталей, стекла, керамики. Для резцов используют пластины из твердых сплавов, припаянных к стержню резца твердыми припоями или прикрепленных механическим способом. Технический алмаз изготавливается путем огранки и крепится на стержне резца твердым припоем. Алмазные резцы имеют высокую износостойкость, обеспечивают высокую производительность и низкую шероховатость поверхности, но применяются только для обработки цветных металлов и сплавов.
При обработке материала резанием вся механическая работа деформации материала заготовки переходит в тепло, которое, выделяясь в зоне резания, понижает режущие свойства инструмента, снижает его износостойкость и ухудшает физико-механические свойства материала изделия. По этой причине процесс резания ведут с охлаждением, для чего применяют смазочно-охлаждающие вещества. Они снижают температуру резца и детали, уменьшают силу трения и износ инструмента. При резании в месте контакта инструмента с обрабатываемым материалом могут возникать давления порядка 1000 - 3000 МПа и температура, близкая к температуре плавления материала, что затрудняет попадание смазочных веществ на поверхности обработки. Поэтому к смазочно-охлаждающим веществам предъявляются следующие требования: хорошая теплопроводность, хорошая прочность сцепления с охлаждающей поверхностью, высокая температура кипения, высокие антикоррозионные свойства. В качестве охлаждающих веществ применяют: жидкие - водные эмульсии масел (минеральные, животные и растительные масла с добавлением хлора, фосфора и серы, керосин, скипидар); газообразные - (воздух, азот, углекислый газ); твердые - (порошки парафина, воска, битума, порошки мыла и др).
Технологическим оборудованием при формообразовании деталей резанием являются металлорежущие станки. По способу осуществления процесса резания они делятся на следующие группы: токарные, сверлильные, фрезерные, строгальные, протяжные, шлифовальные, специальные и др. Технологические операции обработки деталей резанием по точности и чистота обработки делятся на предварительные и финишные.
2. Обработка деталей на станках токарной группы
На токарных станках производится обработка наружных и внутренних цилиндрических, конических, фасонных поверхностей, торцевых плоскостей; нарезка резьбы внутренней и наружной резцами, метчиками и плашками; обрабатываются отверстия сверлами, зенкерами, развертками; накатывается рельеф и мелкомодульные зубчатые колеса и др.
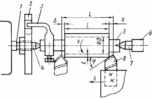
На рис. 2 изображена упрощенная схема обработки наружной цилиндрической поверхности и на токарном станке с установленной деталью 5 в центрах 4,7.
Рис. 2
Передний центр 4 установлен в шпинделе 1 станка, а задний 7 установлен в пиноле задней бабки 6 станка. Скорость вращения сообщается детали шпинделем 1 через планшайбу 2 и поводковый хомутик 3. Механизмами подачи станка сообщается поступательное перемещение S резцу 8, закрепленному в суппорте, относительно заготовки 5, которая вращается со скоростью V.
В зоне резания на режущую кромку резца действует сила резания R, которую можно разложить на три составляющие: Рx – осевую силу или усилие продольной подачи; Ру – радиальную силу; Рz – тангенциальную (касательную) силу. Сила резания определяется из соотношения
. (1)
На основании исследований между составляющими силы резания установлены следующие отношения:
| Ру = (10,4 – 0,5) Рz, | (2) |
| Рz = (0,25 – 0,35) Рz. |
Рис. 3
Тангенциальная составляющая Pz создает крутящий момент, приложенный к заготовке
Мк = Рz . D/2, (3)
где D – диаметр заготовки.
Энергия, затрачиваемая на процесс резания, определяется как работа, совершаемая составляющими Рx и Рz; составляющая Ру работы не совершает, так как в направлении действия этой силы перемещение отсутствует при обработке наружной поверхности.
Скорость перемещения в направлении силы Рz равна скорости резания (м/мин), которая находится из соотношения
V = πDn/1000, (4)
где n – частота вращения (число оборотов об/мин). Скорость резания определяется экономической стойкостью режущего инструмента, механическими свойствами материала заготовки, внешними условиями резания.
Скорость перемещения резца в направлении силы Рx (мм/мин)
Vs = n . S, (5)
где S – подача на оборот заготовки, мм
Эффективная мощность (КВТ) затрачиваемая на процесс резания равна
Nэ = 981.10-5 (Рz.V + Px.Vs), (6)
А – мощность электродвигателя станка
Nст = Nэ/η , (7)
где η – КПД станка.
Объем металла, удаляемого с поверхности обработки в единицу времени
П = V . f , (8)
где f – площадь поперечного сечения снимаемой стружки.
Параметрами режима резания при токарной обработке являются: скорость резания V; подача S; глубина резания t, т.е. толщина снимаемого слоя за один проход резца.
Основное технологическое время (мин) равно
, (9)
где i – число проходов резца, необходимое для обработки данной поверхности; L – полная длина хода резца, учитывающая длину обработки l по чертежу, величину врезания y = ctg φ (φ – главный угол в плане резца), величину перебега ∆ (∆ = 1 - 2 мм, выбирается по нормативам).
Производительность станка определяется количеством деталей, изготавливаемых за час
Пст = 60/Тшт, (10)
где Тшт – норма штучного времени.
Помимо установки в центрах применяется крепление детали в трехкулачковых самоцентрирующихся патронах, в четырехкулачковых патронах, на планшайбе и в специальных приспособлениях.
На прецизионных токарных и токарно-расточных станках выполняют тонкое точение с применением высоких скоростей резания (V = 100 - 1000 м/мин), малых величин подачи (S = 0,08 мм/об), небольших глубин резания (t = 0,1 - 0,05 мм). При тонком точении деталей из цветных металлов применяют алмазные резцы, а из черных металлов – резцы с пластинами из твердого сплава. Тонкое точение на прецизионных токарных станках обеспечивает точность размеров по 5 квалитету точности, отклонение формы (от цилиндрической) не более 0,003 - 0,005 мм и шероховатость поверхности Ra 1,25 мкм.
Отличительной особенностью прецизионных токарных и координатно-расточных станков является их высокая жесткость (сопротивление упругим деформациям) и наличие высоких скоростей вращения шпинделя.
Конструктивной особенностью координатно-расточных станков является то, что режущий инструмент закрепляется на шпиндель и совершает вращательное и поступательное движения, а обрабатываемая деталь закрепляется неподвижно на столе станка.
Металлорежущие станки-автоматы это станки, на которых после наладки и включения все основные и вспомогательные движения осуществляются без участия оператора. Работают по циклу (установка и закрепление заготовки, обработка поверхности, съем детали, подача и закрепление следующей заготовки).
Полуавтоматы – снятие детали и установка заготовки, а также включение станка осуществляет оператор.
Станки с ЧПУ – обработка ведется по определенной заранее составленной программе.
Обработка на токарно-револьверных станках – когда обработка сложных деталей требует большого числа режущих инструментов. Токарно-револьверные станки имеют револьверную головку – устройство, где закрепляются различные режущие инструменты.
Инструменты, работающие с продольной подачей (проходные и расточные резцы, сверла, зенкеры, развертки, метчики), закрепляются в револьверной головке, а инструменты с поперечной подачей (обрезные, подрезные, фасонные, прорезные) крепятся в резцодержателях поперечных суппортов.
Погрешности обработки и причины их появления. На точность обработки деталей резанием влияют различные производственные погрешности, которые можно учесть при предварительном расчетно-аналитическом методе определения ожидаемой точности обработки. К таким погрешностям относятся:
1. Погрешности, вызываемые упругими деформациями технологической системы. При обработке под действием сил резания в технологической системе станок–приспособление – инструмент–деталь (СПИД) возникают упругие деформации и смещения элементов системы из-за зазоров в их сочленениях. Величина смещения и деформаций зависит от силы резания и жесткости системы. Возникновение погрешности в системе состоит в следующем. В процессе обработки заготовка отжимается на величину у1, а инструмент на величину у2. Упругие деформации системы нарушают установленную наладкой станка закономерность перемещения инструмента относительно заготовки. В результате этого заданная глубина резания tзад уменьшается до величины tфакт. Для отдельных сечений заготовки остаточная погрешность обработки равна:
∆tост = tзад – tфакт = у1 + у2, (11)
,
, (12)
где jзад – жесткость системы заготовка – приспособление – узлы станка, на которых заготовка закрепляется при обработке; jинстр – жесткость системы инструмент-приспособление для закрепления инструмента; Ру – радиальная составляющая силы резания (сила, которая применяется для расчета на жесткость станка).
Отсюда
. (13)
При постоянной жесткости технологической системы в различных сечениях обрабатываемой заготовки происходит копирование всех первичных погрешностей заготовки в уменьшенном масштабе. При переменной жесткости системы величина ∆tос не будет оставаться постоянной.
Характеристики
Тип файла документ
Документы такого типа открываются такими программами, как Microsoft Office Word на компьютерах Windows, Apple Pages на компьютерах Mac, Open Office - бесплатная альтернатива на различных платформах, в том числе Linux. Наиболее простым и современным решением будут Google документы, так как открываются онлайн без скачивания прямо в браузере на любой платформе. Существуют российские качественные аналоги, например от Яндекса.
Будьте внимательны на мобильных устройствах, так как там используются упрощённый функционал даже в официальном приложении от Microsoft, поэтому для просмотра скачивайте PDF-версию. А если нужно редактировать файл, то используйте оригинальный файл.
Файлы такого типа обычно разбиты на страницы, а текст может быть форматированным (жирный, курсив, выбор шрифта, таблицы и т.п.), а также в него можно добавлять изображения. Формат идеально подходит для рефератов, докладов и РПЗ курсовых проектов, которые необходимо распечатать. Кстати перед печатью также сохраняйте файл в PDF, так как принтер может начудить со шрифтами.














